Малко история
Откъде идва този дизайн и защо популярността му не намалява в наши дни? Историята на появата на печка с гърне започва в края на 18 век. По същество това е евтина алтернатива на скъпите камини и печки. Устройството придоби особена популярност по време на Октомврийската революция, когато всички норми и основи на живота бяха обърнати с главата надолу. Стана проблем да се отопляват жилищни и нежилищни помещения, така че тази проста единица бързо се разпространи в цялата страна. В края на краищата всичко твърдо, което можеше да изгори, беше използвано тук като гориво. А това са дърва за огрев, въглища, торф, мебели, дървени прозорци и врати.
Печките с петел получиха втория кръг популярност по време на Великата отечествена война. В много градове централизираните отоплителни мрежи не работеха и страната спестяваше енергия, като ги изпращаше на фронта. Населението не е имало друг избор, освен да използва стария доказан метод - да инсталира печки в собствените си апартаменти.
Тази фурна спаси голям брой хора от замръзване. Работеше безотказно, но изразходваше много гориво. И това е големият му минус. Но това е най-простото и евтино устройство, което можете да направите със собствените си ръце и се използва по елементарен начин.
В момента печките са намерили своето приложение в селски къщи, гаражи, бани и други стопански постройки. В съвременните апартаменти те практически не се използват, макар и само като декоративен елемент, създаващ стила на античността. Но наскоро модата за тях се върна.
Вярно е, че потребителите започнаха да налагат по-строги изисквания към печките:
- Намалена опасност от пожар.
- Представим външен вид.
- Икономичен разход на гориво.
Нека да разгледаме тези изисквания поотделно и да разкрием тайните на новата популярност.
Как работи печката
Работи по доста прост принцип.

Опция за топлообменник
Водата постъпва в топлообменника, който се намира в горивната част на печката. Там се загрява от изгарянето на дърво или друго гориво. След това вече нагрятата вода постъпва в радиаторните батерии, където топлината от нея се разпределя в стаята. Когато водата се охлади, тя се връща в намотката, където отново се загрява и т.н.
Изисквания за пожарна безопасност
Именно този критерий за подбор е основен. По-старите конструкции на печките са метални печки, направени от сегменти от чугун или ламарина. Такива единици не бяха известни с голямо разнообразие от форми. Това бяха предимно кубични или цилиндрични конструкции. Вътрешната част е камина, където са били изгаряни дърва или въглища.
Горивото изгаря в горивната камера и загрява устройството до много високи температури. Всъщност печката беше един нажежен елемент, от който всяко нещо, което се качи на повърхността й, можеше да се запали. Според статистиката пожарите от експлоатация се случват по-често, отколкото от всички други отоплителни уреди като цяло.
Ако говорим за съвременни модели, тогава те трябва да бъдат разделени на две категории:
Във фабриката, където всеки технологичен етап се контролира по качество, е възможно да се произвеждат печки, които отговарят на всички стандарти и изисквания за пожарна безопасност. С домашните аналози нещата са по-лоши. Никой не контролира това производство. Всеки майстор сам измисля джаджи и устройства, които уж ще предпазват собствеността на потребителите от пожар. Тоест няма гаранция.
Ето защо, когато възникне въпросът кой вариант да предпочете, всеки сам решава. Важно е да се даде приоритет тук:
- Първата е високата безопасност при работа с печка в апартамент.
- Вторият е еквивалентът на цената. Разбира се, домашният вариант е по-евтин. Но заслужава ли си рискът да закупите нискокачествено устройство на ниска цена? В крайна сметка може да струва сто пъти повече, ако избухне пожар.
Изграждане на отоплително устройство с водна риза
Характеристики на тухлената зидария
Водната верига може да бъде интегрирана както в отоплителна печка, така и в печка за отопление и готвене. И в двата случая технологията на зидария няма да бъде коренно различна. Оформят се камина и пепелник, димни канали и тръба от подобен участък, използват се стандартни врати, порти и котлони. Основната разлика се крие в увеличените размери на горивната камера, където топлообменникът трябва да се побере и да има място за пълно натоварване на дърва за огрев. Ако бобината е разположена на друго място на топлинния генератор, тогава горивната камера също остава непроменена.


Понякога регистрите се врязват направо в зидарията на ядрото
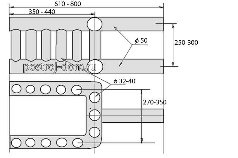
Важно! Между водната риза и тухлената зидария трябва да остане празнина от около 10-12 мм, така че по време на термичното разширение металът да не разширява печката, а горещите газове да "облизват" топлообменника от всички страни.
За изграждането на основния масив и тръбата се използват масивни тухлени печки и глинен хоросан. За защита на стените на пещта се създава сърцевина от шамот и огнеупорен хоросан, която не е обвързана с обикновена зидария.
Приложение на топлообменник
Важна единица печка за отопление на вода на къща е топлообменник, често се нарича: "регистър", "водна риза", "котел", "намотка". Това е метален продукт (главно стомана, въпреки че има и фабрични чугунени модели), който се монтира вътре в пещта или в кухини по пътя на димните газове. В пещите за отопление и готвене топлообменникът може да служи като основа за инсталиране на чугунена готварска печка.


Опции за топлообменник на тръби и листове
Този елемент трябва да бъде направен по поръчка. За производство, като правило, се използват стоманени тръби с дебели стени (от 3 мм), с диаметър 40-50 мм. Можете също така да заварявате водна риза от стоманена ламарина, за да премахнете топлината. Обикновено това е U-образна кутия, която се поставя вътре в камината и е нейните стени.
Важно! Смята се, че инсталирането на топлообменник в циркулацията на дим е за предпочитане пред това в камината. В този случай нищо не пречи на процеса на горене и металната намотка ще продължи по-дълго поради по-щадящия режим на работа.


Намотката е извън топката, няма да има пряк контакт с огъня
Дизайн на съвременни буржоа
Тази категория е по-широка. Няма да правим оформлението по модел, просто разгледайте няколко опции, които ще покажат колко голямо е разнообразието от предлагани фурни.
Например печката на печка Марина. Това е чугунено-стоманена единица, която е облицована със специални топлоустойчиви керамични плочки. Днес производителят предлага доста широка цветова палитра. Тук пясъчен цвят, кремообразен, червен, зелен, кафяв и така нататък. Тоест, всеки потребител ще намери за себе си такава опция, която перфектно ще се впише в дизайна на градски апартамент.
Добавяме, че теглото на устройството е само 195 кг. Това позволява устройството да бъде поставено директно върху бетонна подова плоча без допълнителна основа на плоча или цокъл. С мощност от 9 kW, този нагревател ще отоплява градски апартамент с обща площ до 90 m², да не говорим за отделна стая.
Дизайнът на печката предвижда изгарянето на твърдо гориво по метода на пиролизата. Това е, когато дървото не гори, а тлее в горивната камера. В този случай димните газове се отстраняват във втората пещ, където се обогатяват с кислород и се изгарят. По същество се получава двустепенно горене. Следователно ефективността на този тип буржоа достига 90%.В традиционен дизайн той е 75%. Така че разликата е впечатляваща.
В моделната линия има и печки за печки от чугун. Това е истинско произведение на изкуството. Такива пещи представляват секционна конструкция, всяка част от която е оформена съгласно художествено проектирани скици. В този случай разнообразието от декоративен дизайн е ограничено само от въображението на човек.
Такива печки се правят най-често по поръчка, така че не са евтини. Техните технически и експлоатационни характеристики са много високи. Дизайнът е обмислен до най-малкия детайл - от корпуса и камината до комина. Между другото, във всички съвременни печки, коминът може да бъде монтиран както отгоре на устройството, така и отстрани.
Видове водни фурни
Пещите, оборудвани с воден кръг, са направени в няколко версии:
- инсталации, работещи върху традиционно дърво. Нека направим резервация, че такива огнища не трябва да бъдат твърде продуктивни, тъй като огнището на огнища е неизбежно по-рано от необходимото.
- пещта Buleryan се различава по това, че не трябва да се инсталира специален регистър за нагряване на охлаждащата течност. В Buleryan водата или антифризът се загрява в самата фурна, докато е предвидено допълнително отделение за увеличаване на производителността на устройството, където влиза дървесен газ.
- термичните пещи, изработени от траен чугун, са устройства, базирани на чугунено тяло, където се получава топлина. Много добри печки, с прости думи, те се купуват "от векове", тъй като чугунът е един от онези материали, които имат висока издръжливост и надеждност на тяхното използване. Само водното тяло в устройството е направено от термична стомана, всичко останало е чугун.


Огнището с водно тяло или по-скоро неговото функциониране може да се контролира по три начина:
- най-простото: намаляването или увеличаването на порцията гориво влияе върху намаляването или понижаването на температурния знак.
- за трансформиране на температурните условия се използва специален регулатор на амортисьора.
- използването на циркулационна помпа влияе на ритмичното отопление на къщата.
Икономия на гориво
Това е последният критерий за буржоа, които се използват в съвременните апартаменти. Вече беше споменато по-горе за проектите за дългосрочно изгаряне. Днес те са най-популярният вариант, когато става въпрос за инсталиране на печка в апартамент.
Каква е дизайнерската характеристика на този модел? Работата е там, че горивната камера на устройството е разделена на две части - долна и горна. Разделената граница може да бъде хоризонтална или под ъгъл. Всичко зависи от това какви условия за изгарянето на димните газове се опитваме да постигнем. При ъглово разположение на границата, ефективността на горенето е малко по-висока поради по-високата концентрация на газ вътре в стеснената част на камерата.
Дърва за огрев или въглища обикновено тлеят в долната горивна камера. Обогатените с кислород димни газове се изгарят в горния. Каналите са специално инсталирани за влизане на кислород в камерата. В същото време има един много важен критерий, който осигурява пълно изгаряне на гориво в първата камера. Горивото трябва да бъде правилно подредено, т.е. с минимално количество пролуки между частите му.
Например, ако става дума за дърва за огрев, те трябва да бъдат разположени хоризонтално в ред или под формата на клетка. Разстоянието от стените на печката трябва да бъде минимално. Ако печката има цилиндрична форма, в допълнение към хоризонтално положените трупи е необходимо да поставите дърва за огрев във вертикална посока. Те трябва да бъдат поставени в пролуките между стените на устройството и ъглите на подредената пирамида за дърва за огрев. В това състояние минималното количество чист въздух прониква в дървото, но е напълно достатъчно, за да гори горивото.
Димните газове преминават през изпускателните канали под въздействието на физическите закони нагоре във втората горивна камера, където изгарят, отделяйки допълнителна топлина.
Внимание! Един товар твърдо гориво е достатъчен за цял ден. В традиционните печки за печки зареждането с гориво е достатъчно само за няколко часа.
Избор на най-доброто място
На първо място, принципът на действие на нагревателя ще помогне да се определи оптималното местоположение на печката в къщата. Местоположението може да варира в зависимост от това дали е възможно да се изгради комин на определена площадка и да се оборудва правилната работна зона.
Ако определено искате печката да бъде разположена точно на това място, тогава преди нейното изграждане трябва да изчислите такъв показател като пожарни прекъсвания: колко далеч са постоянно нагревателните повърхности от стени, покрити със запалими материали.
Можете по-точно да определите мястото на печката в къщата, въз основа на препоръките по-долу:
- Ако собственикът на къщата има на разположение например отоплителни уреди с топъл въздух. "Печка на гърне" или "Булеряна", след това те трябва да бъдат поставени така, че въздушните потоци да могат да проникнат безпрепятствено. Това ще създаде конвективна система, благодарение на която можете да отоплявате две съседни стаи без врати.
- Ако отоплителното устройство има вграден топлообменник, тогава поставянето на печката може да бъде всяко, при спазване на правилата за пожарна безопасност. Трябва обаче да се има предвид, че веригата на пещта трябва да действа като долната граница на отоплителната система.


Чертеж на стандартна дървена къща
- Невъзможно е да инсталирате печката и в същото време да избегнете конструкцията на коминната част и тръбата вътре в къщата. В този случай местоположението директно зависи от това как ще бъде по-лесно да свържете самия нагревател със системата за отвеждане на дим.
- Важен момент е отчитането на свободното пространство при отваряне на вратата на горивната камера. Ако липсва, тогава ще има трудности за почистване и отопление на печката в дървена къща.
- Сградите, за които се предполага, че се отопляват с печки, трябва да имат достатъчна площ, така че да могат да се наблюдават пожари от нагряти повърхности до запалими елементи, което съответства на 1,1-1,25 метра. Също така, правилото гласи, че разстоянието до отварящата се врата на горивната камера не трябва да бъде по-малко от 1 m 25 cm.
Добре е да знаете: Как да изберем ограда за камина от деца и животни
Полезни съвети
- Инсталирането на печка в градски апартамент е сериозен въпрос. Никога не се поставя близо до стена или друга носеща конструкция, различна от пода. Трябва да се спазва минимално разстояние от 5–7 cm.
- Пред камината на пода трябва да се полага незапалим материал. Това е предпазна мярка в случай, че въглищата изпаднат от горивната камера. Въпреки че модерните печки за градски апартаменти са надеждно устройство, експертите все още вярват, че „Бог пази онези, които внимават“.
- Направи си сам инсталацията на уреда не е толкова трудно, ако го разберете. Всеки мъж може да се справи с този процес без особени затруднения. Но заслужава ли си риска? Затова препоръчваме да се обадите на специалист и нека цялата отговорност да падне върху главата му.
- Специално отношение към комина. Ако печката ви работи на газ, тогава можете да използвате коаксиалната опция за отстраняване на газове от въглероден окис. Ако като гориво ще се използват дърва или въглища, тогава препоръчваме обикновен вертикален комин. Коаксиалната версия с продуктите от горенето на твърдо гориво, където саждите се намират в големи количества, може да не успее да се справи.
- Съвременните буржуйки могат да работят на различни видове гориво. Разбира се, първоначално се предполагаше, че те ще работят на твърдо гориво. Това винаги е било така. Но наличието на различни видове енергийни източници направи възможно създаването на единици с различен дизайн. Така че изборът стана много по-широк. Тук е важно правилно да се поставят онези елементи, които допринасят за изгарянето на определен вид гориво.Например, газовите горелки са инсталирани на газови печки. В електрическите модели са монтирани специални нагревателни елементи.
Критерии за избор на пещ с воден кръг
Когато избирате готов продукт или планирате да изградите пещ с водна риза със собствените си ръце, трябва да обърнете внимание на силата на инсталацията. Колкото по-голяма е площта на стаята, толкова по-голяма трябва да бъде мощността. Трябва да се има предвид отката на топлообменника.
Масивността на инсталацията влияе върху избора на основата: ако печката за отопление на къщата е тежка, тя трябва да е здрава.
Също така е важно да се изчисли обемът на охлаждащата течност. За самостоятелна конструкция трябва да изберете дизайна на димния канал, като изчислите неговия диаметър.
Видове пещи
Историята на еволюцията на печните конструкции датира от много векове. Не е изненадващо, че сгъването на топлинно ефективна и надеждна печка е форма на изкуство. Но с подходяща подготовка и старание можете да го направите сами, ето един добър видео урок:
Можете да сгънете фурната, като използвате различни методи. В същото време има редица параметри, които определят спецификата на бъдещата печка:
- Предназначение.
- Температурата, до която трябва да се затоплят стените.
- Времето, необходимо за отопление на стените и количеството гориво, необходимо за това.
- Дизайн на комина.
- Ниво на топлопреминаване.
- Диаграма на газовия поток в канали.
- Формата.
- Довършителни материали за външна стена.
- Основен материал.
Въз основа на всички тези параметри ще сгънете фурната на мечтите си. Основното нещо в началния етап е да се изготви чертеж с подробни диаграми. Проектът трябва да опише подробно всички характеристики на бъдещия дизайн. Но преди това трябва да решите какъв вид печка имате нужда.


Най-лесно е да сгънете отоплителната печка. Изпълнява основната функция - дава топлина на хората и дома. Такива дизайни не носят никаква допълнителна функционалност, но са надеждни и лесни за използване, за което са спечелили много симпатии сред летните жители.
Естествено, всички отоплителни печки са класифицирани според преноса на топлина, времето, необходимо за подпалване и степента на нагряване на стените. Именно на тези параметри трябва да разчитате преди всичко, преди да сгънете печката със собствените си ръце.
Ако очаквате да получите умерено загрята печка, можете да я сгънете в една тухла. Такива фурни се нагряват бавно и също така се охлаждат бавно. Средната температура на стената е около 60 градуса.
Отоплителните печки не могат да се нарекат усъвършенстване на архитектурната мисъл. Но масивният дизайн и несложните форми създават усещане за монументалност. Освен това, ако умело сгънете тухли в тази печка, тя може да се превърне в отличен декорен елемент.


Освен това не забравяйте за външната украса. След като сгънете печката, можете да я измажете и да поставите плочки отгоре. Първо, тя ще предпази конструкцията от разрушаване, и второ, ще й даде красив и естетичен вид.
Типичните представители на семейството отоплителни печки включват такива дизайни като:
- "Холандски",
- OPT-3,
- Триъгълна фурна,
- Печка Grum-Grigimailo,
- OTP-11
- Правоъгълно отопление,
- Т-образна.
Тези фурни рядко са много популярни. Факт е, че за да ги добавите, отнема много време и материали, а в резултат функционалността се оказва лоша.


Много често в селските къщи собствениците решават да поставят печката за отопление и готвене. Тази конструкция има много предимства пред конвенционалната печка. Можете да готвите храна върху него без никакви проблеми и дори удобно да използвате дърва за огрев от бор, бреза или тис.
Основният елемент на такава печка е плота, която е изработена от чугун. Фурната не е вградена навсякъде, тъй като отнема много умения, за да я сгънете. Най-модерните дизайни имат следните допълнителни възможности:
- камера за печене на хляб,
- печка,
- ниша за сушене на дърва за огрев,
- бойлер за отопление на вода.
Всъщност броят на допълнителните функции зависи единствено от вашите възможности и желания. Всъщност истински многофункционален комбайн може да се сгъне от обикновена печка, която ще се превърне в основната украса на кухнята. Дори не си струва да говорим за спестявания. Освен това храната, приготвена на такива горелки, винаги е по-вкусна.
Такива фурни са в състояние да поддържат топлина за дълго време. Не само това, те осигуряват мощно сцепление. Основното нещо е да сгънете всичко правилно, така че димът да отива директно в комина, а не вътре в стаята. Най-често срещаните дизайни:
Както можете да видите, има огромно разнообразие от печки за отопление и готвене, на които можете да приготвите нещо вкусно без проблеми и в полза на семейния бюджет.


Конструкциите с отоплителни щитове са евтино решение, което включва цялата функционалност, необходима за даване. За да сгънете такава конструкция, се нуждаете от минимум материали и физически труд. Достатъчно 175 тухли за пълноценна зидария.
Фабрично направени пещи
Тези видове печки се използват главно за отопление на селски къщи, бани. За производството на пещи използвайте метал с висока якост. Такива фурни са лесни за транспортиране и инсталиране. Фабричните пещи са с малки размери, което прави възможно инсталирането им в малки помещения. Конструкциите се загряват бързо и отделят топлина.
За отопление на помещенията фабриките произвеждат отоплителни печки от чугун или метал с различни размери и форми, със щора или стъклена врата.
За да използвате печката едновременно като отоплително устройство и котлон, можете да закупите модел на печка за отопление и готвене. Източникът на топлина се използва самостоятелно.
Чугунена печка за камина ще помогне да се създаде специален интериор в селска къща или в кухнята. През зимна вечер, когато виелица избухна пред прозореца, е приятно да седнете до камината, пламнала с жив огън с чаша ароматно кафе и интересна книга.
Ако искате да опитате ястия, домашен хляб, вкусни сладкиши, приготвени в истинска руска фурна, отдайте предпочитание на устройството традиционен тип фурна, а за по-удобно отопление на къщата, допълнете устройството с водна верига.
От коя тухла е по-добре да сгънете печката
Необходимо е да се прави разлика между обикновените топлоустойчиви тухли от тухлите на фурната. Първо, последните могат да издържат на температури над 1000 градуса. На второ място, ако се охлажда бързо, в структурата не се образуват пукнатини.
За изграждането на печки се използват четири вида тухлени печки:
- Кварц. Тази тухла е резултат от изпичане на пясък и глина.
- Въглероден - състои се от графит.
- Шамотна глина. Най-добре за камина. Но не може да се отхвърлят уникалните му топлоизолационни качества. Той е в състояние да издържа на температури до 1600 градуса. В същото време той не се напуква и не губи своите качества. Единственият отрицателен ефект е жълтеникавият оттенък.
- Основната се използва, когато трябва да сгънете металургичната пещ.
В действителност няма строги правила по отношение на избора на материали за зидария по време на строителството. Въпреки това има някои препоръки, които се спазват най-добре, основната от които се отнася до шамотни тухли. Той трябва да бъде поставен на най-горещите места, а именно в зоната на камината и комина. За всички останали зони степента трябва да е най-малко M-200.
Какви са принципите за определяне на мястото на инсталиране
Струва си да се разбере, че въпросът за това къде трябва да се намира печката в къщата е изключително важен и отговорен, затова си струва да се подходи към търсенето на отговор със специално внимание.
Принципите за определяне на местоположението са следните:
- Всяка печка трябва да е възможно най-близо до централната част на къщата, така че външният комин да не излиза далеч от билото.
- Правилното местоположение на устройството ще бъде в случай, че под него не се извършват други комуникации, например водоснабдяване.
- Когато инсталирате две фурни в една зона, все пак е по-добре да проектирате за всяка основа, за да се предпазите от бързото унищожаване на продуктите.


Разположението на тръбата спрямо билото на къщата
Освен това си струва ясно да се разбере, че една конструкция трябва да отоплява поне две стаи, в противен случай нейното инсталиране няма да бъде препоръчително.
Добре е да знаете: Как да приготвим шамотна глина за полагане на печка, как да смесим разтвор
Направи си сам фурна
Избор на седалка


За да сгънете добра отоплителна конструкция, трябва да изберете правилното място. При това следва да се вземат предвид следните стандарти:
- От комина до дървени конструкции, той трябва да бъде повече от 37 cm.
- Минималното разстояние на тръбата от билото е един и половина метра. Височината над билото е половин метър.
- Ако е на 1,5-3 метра от тръбата до билото, тя може да бъде поставена на едно ниво с нея.
Най-добре е да сгънете печката в средата на къщата. Това ще осигури равномерно разпределение на топлината и лекота на използване.
Материали и инструменти


Освен тухла, ще ви трябват и редица други материали, за да сгънете печката. Те включват:
Това са основните материали, без да се вземат предвид компонентите, но все пак трябва да се погрижите за вратите на вентилационните отвори, вентилатора, горивната камера и т.н.
За да сгънете добра печка, трябва да замесите правилното решение. Най-добре е да използвате специална огнеупорна глина, в екстремни случаи можете и да зачервите. Зърната пясък трябва да са не повече от 1 мм. Оптималното съотношение се постига емпирично. Това обикновено е 1 към 1 или 1 до 2. Плюс 25 процента вода от общата глина.
Металните предмети играят основната роля в конструкцията на пещта. За да сгънете прилична конструкция, са ви необходими врати и половин врати, решетки, чугунени амортисьори, резета и гледки. Всички тези елементи, ако е необходимо, могат да бъдат направени на ръка, но ще трябва да закупите железни листове.
Разбира се, няма да можете да сгънете печката без добри инструменти, ще ви трябва:
- чукче, специално за фурната,
- Учител ОК,
- владетел на правила,
- четка за измиване,
- рулетка,
- отвес
- ниво.
С този прост набор от инструменти можете да сгънете всяка фурна.
Процес на изграждане на печка
За основата се изкопава яма, прави се запълване и подсилена рамка. Получената структура се излива с бетон. Преди да сгънете печката, уверете се, че имате пред очите си тухлени шарки.
Много е важно да се поддържа ред при работа. В противен случай няма да можете да сгънете висококачествена фурна. Най-малкото отклонение в дизайна ще доведе до факта, че един от каналите ще бъде блокиран. Резултатът е повече от пагубен. Димът, вместо да излиза през комина, ще влезе в стаята.


Първият ред е положен по шнура. Всяка следваща зидария се проверява с помощта на ниво. Ъглите се контролират от комплекти за тяло. След завършване на полагането се монтира оборудването на печката, например горелките. Тръбата е изведена в самия край. За да научите повече за това как да сгънете фурната, вижте видеото по-долу:
За да се сгъне печката в съответствие с действащите стандарти, разстоянието от вътрешната стена на комина до най-близката конструкция трябва да бъде най-малко 38 сантиметра. Когато инсталирате чугунена плоча, пролуките отстрани трябва да бъдат най-малко 5 милиметра.
Традиционно отопление с печка и топла вода
Можете значително да подобрите предимствата и да намалите недостатъците на традиционното отопление на печката, като се свържете с печката отопление на вода. На първо място, отоплителната площ се увеличава значително, топлината се рационално и равномерно разпределя във всички отопляеми помещения. Отоплението на помещението включва димните канали на пещта, стените и топлоносителя. Предаването на топлина към радиаторите се осъществява само когато пещта работи. След спиране на изгарянето Поддържай топло в радиаторите за известно време.
Устройството на печка с водно отопление се различава от конвенционалната печка по наличието на топлообменник, инсталиран в горивната камера.Най-простата водна система е свързана с регистъра. Дизайнът на топлообменника може да бъде различен, но във всеки случай той трябва да загрее добре охлаждащата течност и да осигури висококачествена циркулация. За производството на регистрите се използват метални тръби или ламарина.
Най-популярната система за отопление на водата в печката е сред жителите на села и села, където няма газопровод. В този случай подобреното отопление на печката е единственият начин за отопление на къщата през студения сезон. Такова отопление работи дори по време на прекъсване на електрозахранването.
Много собственици на отопление с вода за печки инсталират циркулационни помпи, за да подобрят циркулацията на охлаждащата течност и да увеличат ефективността на системата. Комбинираната инсталация на разширителен резервоар и помпа позволява на цялата отоплителна система да работи безпроблемно при всякакви условия. Основното нещо е да се разтопи горивната камера и периодично да се добавя гориво, за да се поддържа оптималната температура в системата.
Устройството за отопление на печката, комбинирано с вода, струва на собственика на къщата много по-евтино, отколкото закупуване на фабрично произведен котел.
Недостатъци на използването на отопление на печка с воден кръг:
- за да се поддържа оптималната температура в къщата, печката се загрява всеки ден;
- при използване на този тип отопление на помещенията е невъзможно да се монтира печката в мазето, както се прави при използване на фабричен котел на твърдо гориво;
- необходимо е стриктно да се спазват правилата за инсталиране на цялата система, за да се осигури достатъчна циркулация на охлаждащата течност;
- високите температурни разлики по време на работа на пещта рязко ограничават избора на материал за топлообменника; в пещите могат да се монтират само регистри от метални тръби или ламарина;
- този тип отопление не може да бъде организирано само с принудителна циркулация.
Ако сте собственик на малка сграда, но наистина искате да инсталирате в къщата отопление на печка, отлично решение би било закупуването на фабрична фурна.
Резултати
Сгъването на печката е по силите на всеки човек. Основното е да изберете правилния външен вид от самото начало и да изготвите проект, където трябва да опишете подробно характеристиките на бъдещата печка. За да не се притеснявате да създавате уникални рисунки, можете да вземете готови чертежи.
Комфортът на селска къща, построена далеч от газоснабдителните мрежи, е немислим без печка. През студения сезон ни дава приятна топлина, освобождавайки въздуха от влага.
Днес пазарът предлага на купувачите всякакви дизайни от метални "буржуйки". Въпреки това, много летни жители предпочитат класическата версия - тухлена печка за отопление. Неговите предимства са очевидни: поради голямото си тегло, той акумулира много топлина и я отдава за дълго време, затопляйки добре стаята.
Съдържанието на статията:
Срокът на експлоатация на тухлена конструкция значително надвишава експлоатационния живот на металната. Минималните разходи за материали и лекотата на подреждане привличат вниманието на домашните майстори към обикновена печка за даване.
Нашата статия ще ви помогне да се изпитате като печка. В него ще разгледаме няколко варианта за прости печки на дърва и ще дадем практически препоръки за полагането им.
Ще се убедите, че в чертежите на тези конструкции няма нищо сложно. След като се научихте да четете "поръчки" - схеми за оформление на тухли, можете да изградите пълноценно устройство за генериране на топлина със собствените си ръце.
Правила за работа
Полагането на печката трябва да се извършва от капитан при спазване на всички норми и изисквания. Бели комини и коренови тръби веднъж годишно, за да се открие своевременно появата на пукнатини в конструкцията. Подът до печката и дървените конструкции, разположени до комина, са тапицирани с калай... Използвайте изсушени дърва за подпалване, въздържайте се от използване на запалими вещества. Не подреждайте дърва за огрев, торф, брикети, хартия и запалими течности близо до горяща печка.
Участвайте в разпалването на пещта, подкрепете процеса на горене само за възрастни... Поставете мебели на разстояние 50 см от фурната.
Тухлената фурна се доставя изпускателен клапан, необходими за поддържане на топлината в къщата и регулиране на отделянето на въглероден окис. Като направите само няколко проходни отвора във клапана, можете да избегнете риска от отравяне с газ, ако клапанът не бъде затворен навреме.
Как да сгънете най-простата тухлена фурна?
Първо трябва да решите какво искате да получите от бъдещата печка. Ако трябва само да отоплявате стаите и използвате бутилиран газ или електричество за готвене, изберете опцията без печка и фурна. Всеки, който обича меката, лечебна топлина, избира опцията с пейка за печка.
За редовно готвене на големи количества храна и храна за домашни любимци, обикновена фурна с котлон ще се справи добре.
Ще разгледаме три примера за фурни с ръководство стъпка по стъпка за полагането им:
- Просто направо;
- С котлон;
- Отопление.
Да кажем веднага, че не може да се очаква висок топлопренос от прост дизайн, лишен от газови обороти. Поради тази причина такива печки се инсталират в гаражи и други малки помещения с площ не повече от 16 м2.
Ще разгледаме тази опция, така че начинаещите да получат първия си прост урок по практическа зидария.


За такава печка не е необходима мощна основа. След като изсипете голям чакъл със слой от 15-20 см, напълнете го с циментов разтвор и изравнете повърхността до ниво, след няколко дни можете да започнете да полагате.
Размерите на пещта в плана: ширина 2 тухли (51 см), дълбочина 2,5 тухли (64 см). Тъй като в него няма вентилационна камера, директно във вратата на пещта се пробиват отвори за всмукване на въздух.


Поръчките на този дизайн са прости. Основното условие по време на работа е да се наблюдава превръзката на шевовете, така че горната тухла да покрива шева между двете долни.
Направи си сам котлон с водна верига
Когато инсталирате този тип отоплителна система, можете както да вградите воден котел в печка, така и да създадете самата пещ от нулата. Следователно процесът може условно да бъде разделен на два етапа.
Препоръчваме също да проучите статията: Отопление на вода от печката на нашия уебсайт!
Образуване на печка с бурканчета
Преди започване на работа се съставят чертежи, включващи всички размери на пещта и се подготвят основните материали за работа с метал: заваръчна машина, чук, мелница, както и клещи и гащеризони.
Когато правите диаграма на печка с водна риза със собствените си ръце, е важно да се вземе предвид дебелината на елементите на бъдещия блок.
След изрязването на метала можете да продължите към следващите стъпки:
- Свържете дъното със стените, с изключение на предната част. Всички елементи трябва да бъдат заварени под прав ъгъл.
Важно: По-добре е да настроите дъното на печката на ниво 25-30 см от пода. По този начин, като се използват проектираните метални крачета, ефектът от нагряването върху подовото покритие може да бъде намален.
- В пространството между горивната камера и вентилатора е заварен дял. В него е необходимо да се пробият няколко надлъжни дупки, през които пепелта ще се отстрани.
Отворът на вентилатора трябва да бъде с до 3 см по-малък от самия вентилатор.
- На предната стена са направени отвори за вратите. След това може да бъде инсталиран на основната структура;
- Отстрани на предната част се добавят сенници, поставят се врати;
По-добре е да оборудвате всички врати с ригел.
- Към горната част на печката е заварен комин. След приключване на работата е необходимо да се проверят всички части за дефекти в шевовете. Ако никой не бъде намерен, можете да преминете към следващата стъпка - добавяне на водна верига.
Водната камина носи не само домашен уют и топлина.Това е чудесно допълнение към интериора, което ще направи дома ви по-изтънчен. Характеристика на камината е доброто отопление на къщата в сравнение с обикновената камина. Основното нещо е да следвате инструкциите за инсталиране.
Добавяне на водна верига към печка
Основата на този тип пещ е топлообменник, който може да бъде конструиран от различни материали, например кухи стоманени тръби или стоманени листове. В допълнение към топлообменник, за да създадете печка с водна верига, ще ви трябва:
- Готово тяло на пещта.
- Радиатори.
- Тръби.
- Метални листове.
Съветваме ви да прочетете за отоплението на водата от печката на нашия уебсайт.
Инсталирането на системата се извършва, както следва:
- В горната част на основата на печката са направени два отвора за подаване и връщане на вода.
За да се опрости работата, ще ви помогне да изготвите чертеж на бъдеща печка с водна верига, създадена самостоятелно.
- Водният резервоар е оформен от метал или от други подходящи неизползвани материали; за него трябва да се отдели най-голямо пространство в сравнение с камината и пепелника. В резервоара за дюзи се правят дупки, след което той се монтира зад горивната камера. Пространството е отделено от лист метал.
- След това се инсталира тръбопроводът. Тя може да бъде едно-, двутръбна и колекторна.
Важно: Двутръбният дизайн е по-предпочитан, тъй като ви позволява да променяте температурата с помощта на инсталираните кранове и осигурява равномерно нагряване, за разлика от еднотръбния дизайн. Колекторната стая е доста сложна за самоиздигане.
- Следващата стъпка е последователно свързване на тръбите с радиатори в цялата къща.
Препоръчително е да инсталирате радиатори под прозорци. Това ще увеличи топлопроводимостта на печката. Дизайнът на печка с водна верига се проверява за дупки, където водата може да изтече през веригата.
- Към захранващата линия е монтиран разширителен резервоар, който ще изключи подаването на студена вода. Размерът му се избира въз основа на обема вода, който ще бъде в цялата система - резервоарът трябва да бъде увеличен с 20%.
Пример за буржуйка с разширителен резервоар
- При правилна ерекция водата ще се нагрее в топлообменника, ще премине през тръбите към радиаторите, ще се охлади и отново ще се върне в топлообменника.
Съветваме ви да прочетете по-подробно за видовете топлообменници в допълнение към този материал.
Готовата конструкция може да бъде боядисана или тухлена, в зависимост от това кой външен вид е за предпочитане за собственика.
Видео: проект на печка с водна верига
С помощта на самостоятелно изградена печка с водна риза можете значително да спестите от отоплението на селска къща. Такава структура може да осигури на всяко помещение необходимото количество топлина.
05.07.2016 г. 1421 Печник (Москва)
Инсталирането на водна печка във всяка частна къща ще реши много проблеми, свързани с отоплението на помещенията, а също така ще помогне да се спестят разходите за гориво. В допълнение, почти всеки вид гориво може да бъде подходящ за използване на отоплително устройство, а производителността на огнище, оборудвано с водна риза, ще бъде много по-висока.
Фурна с котлон
В най-простата версия такава структура има малки размери (ширина 2 и дълбочина 3 тухли - 78x53 см). Независимо от това, дори и в такава ограничена зона, може да се постави печка с една горелка.
Работата свършва, когато имате под ръка всичко необходимо.
Затова закупете предварително следните материали и аксесоари:
- Плътна червена тухла - 107 бр;
- Духаща врата - 1 брой;
- Гризли решетка - 1 брой;
- Чугунена печка с една горелка - 1 брой;
- Врата на пещта - 1 брой;
- Тръбен вентил - 1 бр.
Не са необходими огнеупорни тухли за печка на дърва. Купуването му е загуба на пари. Но червеното трябва да бъде избрано внимателно, като се отхвърлят напукани и неравномерни.
Приготвяне на разтвор
Сместа за зидария се прави чрез смесване на четири части глина с една част вода и към тях се добавят осем части пресят пясък. Нормалната консистенция се определя просто: хоросанът лесно се плъзга от мистрия, без да оставя ивици върху нея. При полагане не трябва да изтича от шевовете.
Обемът на разтвора се определя въз основа на броя тухли. С оптимална дебелина на шева (3-5 мм), една кофа е достатъчна за 50 броя.
След като сте подготвили зиданата смес, можете да започнете да полагате основата. Ширината му е направена с 10 см повече от ширината на фурната. Височината на основата е избрана така, че дъното на първия ред тухли да е на нивото на пода.


Ако под земята е достатъчно дълбоко (50-60 см), тогава няма нужда да копаете дупка под основата. Достатъчно е да направите кофраж на земята с размер на плана 76 х (51 + 10 см). На дъното му се полагат два слоя покривен материал, за да се предпази от влага. След като положи бетона, му се дава седмица, за да набере сила, след което те започват да полагат.
Размерите на фурната, която разглеждаме с котлон, са 3 х 1,5 тухли (76х39 см).
Съвет на капитана: поставете всеки нов слой тухла без хоросан (сух). След като коригирате тухлите според размера, можете да започнете да полагате.
Първият ред се поставя върху слой глинен хоросан (4-5 мм). Подравнявайки основата с ниво, поставете втория, оставяйки място за вратата на вентилатора.
Преди да инсталирате вратата, трябва да завиете мек проводник към нея и да поставите краищата й в шевовете за по-добро фиксиране.


За да се компенсира топлинното разширение на метала, между вратата и тухлата се оставя празнина. Преди монтажа рамката му е обвита с мокър азбестов кабел.
Зидарията на третия ред се извършва, припокривайки шевовете на втория. На това ниво в камината е инсталирана решетка.


Четвъртият ред се поставя на ръба, като се наблюдава превръзката на шевовете и се оформят стените на горивната камера. Зад него ще има първата и единствена циркулация на дим (виж раздел А-А в схема №2). За да се почисти дъното му, в задната стена без хоросан се поставя така наречената нокаут тухла, която периодично се отстранява за отстраняване на пепелта. Вътре в комина са направени две опори от парчета тухла, за да поддържат вътрешната преграда.
Камъните от петия ред са поставени плоски, оставяйки място за вратата на пещта. В задната част на печката, по ред, виждаме стените на два димни канала. По време на работа повърхността им трябва да бъде добре почистена с мокра кърпа от глина, стърчаща от шевовете. Това е важна предпоставка за добро сцепление.
Полезен съвет! Фокусирайки се върху чертежите за поръчка, не забравяйте да разгледате двата разреза на печката. Те ще ви помогнат да си представите по-добре дизайна му и да не правите грешки, когато полагате тухли.


Вдигайки го в зидарията до осмия ред, те блокират противопожарната врата, полагайки жица в шевовете, която фиксира нейната рамка. На същото ниво в задната част на горивната камера се поставя тухла със скосен край - димен зъб. Подобрява топлинната мощност, като предотвратява бързото изтичане на димните газове в комина.
След като завърши деветия ред, върху него в глинен разтвор се полага азбестов шнур. Необходимо е да се запечатат ставите на чугунната плоча и тухла. На десетия ред камината е покрита с котлон.
На единадесетия в тръбата е монтиран клапан за дим. Също така се уплътнява по контура с азбестов шнур, потопен в глина.
12 и 13 ред - образуването на тръбните стени. След тяхното завършване върху пещта се поставя лека ламаринена тръба, която се извежда на покрива.
Мерки за безопасност по време на работа
Поради факта, че това оборудване е трудно да се управлява с помощта на автоматизация, рискът от неговото прегряване и проникването на въглероден окис в помещението се увеличава. За да може котелът за печка на дърва за отопление на водата да работи възможно най-безопасно, е необходимо да се придържате към няколко правила
- Непрекъснато наблюдение на основните параметри: налягане и температура с помощта на манометри и термометри, монтирани на захранващите и връщащите линии.
- Периодична проверка на димните канали.За да направите това, е необходимо да ги проверите за чистота и пропускливост преди началото на всеки отоплителен сезон.
- Почистване на топлообменника. Един слой сажди с дебелина 1 см води до спад в ефективността с 10%, така че отстраняването на продуктите от горенето трябва да се извършва, тъй като те се придържат към стените на горивната камера.
- Недопустимост на използването на оборудването през летния сезон, когато водата се източва от системата. Прегряването на празен топлообменник ще доведе до разрушаване.














