Tuğla yapım teknikleri

Tuğla ateşleme nasıl çalışır?
Tuğla yapmak için iki yaygın yöntem vardır. İlki yarı kuru ve kuru preslemedir. Plastik kalıplama yöntemi ikinci tuğla yapım yöntemidir. Fark, her iki üretim yönteminde de hammaddede bulunan değişen nem miktarında yatmaktadır. İkinci imalat yönteminin en yaygın olarak kullanıldığı unutulmamalıdır.
Plastik kalıplanmış tuğlalar içi boş veya dolu olabilir. Her iki tip tuğlanın da üretim prensibi aynıdır, fark, kilin içi boş tuğlalar için daha iyi hazırlanmış olmasıdır.
Aşağıdaki tuğla yapım aşamaları ayırt edilebilir:
- Hammaddelerin hazırlanması
- Çubuk kalıplama
- Ham tuğlaların kurutulması
- Yanan
Her aşamanın, parametrelere dikkatlice uyulmasıyla karakterize edildiği unutulmamalıdır. Örneğin üretimin son aşaması olan pişirmenin gerçekleştirilebilmesi için tüm teknik şartlara uyulması gerekmektedir. Tuğla ateşleme teknolojisi, hem sıcaklık hem de zaman koşullarına uyumu ifade eder. Aksi takdirde hatalı ürün kaçınılmazdır.
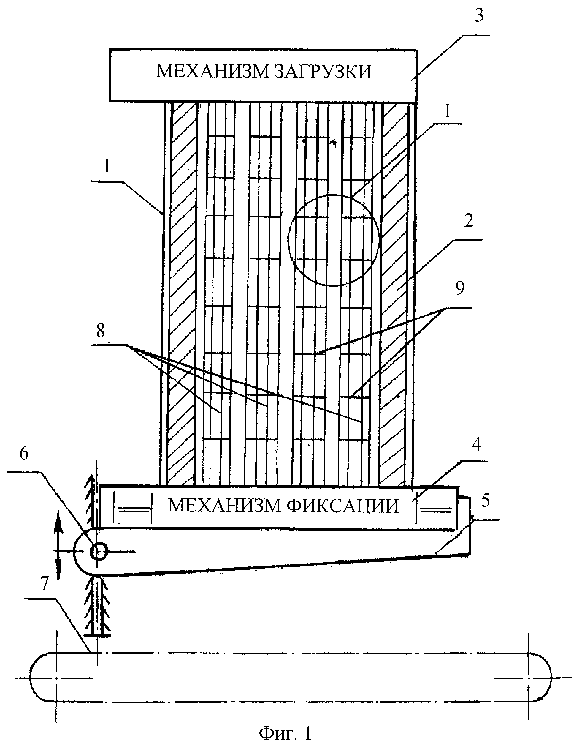
Tünel fırınlarda yükleme prensibi


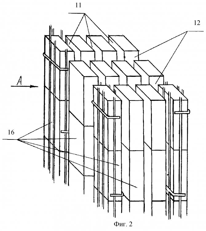
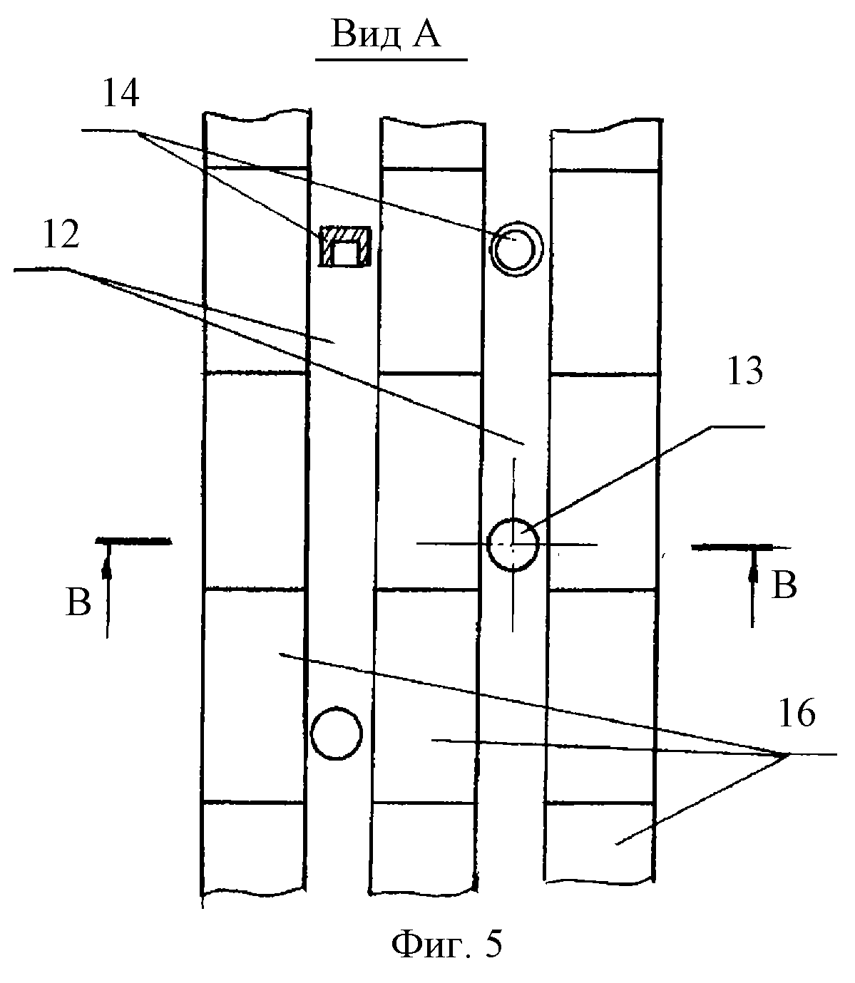
tuğlaları tünel fırınlara yükleme
Tuğla pişirmek için gaz fırınları oluşturmak için ihtiyacınız olan
gerekli sürede belirli sayıda ürünü hesaplar. Temel olarak bu tür fırınlarda hammaddelerin yerleştirildiği büyük bir oda vardır. Bu odalar bir tünel gibidir ve ortasında onları ısıtmak için bir eleman vardır. Bu cihazlar sayesinde tüm sistem çalışmaya başlar. Her biri, tuğla üretimi sırasında belirli bir sıcaklığa sahip olan bölümlere ayrılmıştır.
Tuğla fırınların şeması, her bölümde özel iticilere sahip olan yapının kendisinden farklıdır. Sırasıyla, arabasız çalışamazlar ve hareketleri için raylar döşenmelidir. İş sürecini hızlandırmak için her şeyi otomatikleştirmek gerekiyor, bu finansal yatırımları önemli ölçüde kurtaracak ve bu, bu üretime başlamaya karar veren her girişimci için sevilen bir arzudur.


tünel fırın diyagramı
Tuğlaların ateşlenmesi için bir tünel fırın tasarlamak için, farklı şekillere sahip olabileceğinden, bir çizim için bir uzmana başvurmanız gerekir. Tuğla yüklendiğinde gri renk alır ve çıktığı zaman turuncuya döner, bu da bina pazarlarında ve marketlerde görülebilmektedir. Bir ürün üretme sürecinde fırın belli bir prensibe göre çalışır:
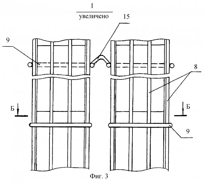
- Paleti olan 1. araba birkaç sıra halinde ham tuğla ile yüklenir. Yüklerken yüksekliğe dikkat etmelisiniz. 1 m'den fazla olmamalıdır, eğer bu eşik aşılırsa tuğla arızalanır:
- Tünel fırının tuğla ateşlemesi için çalışması için otomatik cihazları ve iticileri açmak gerekir. Araba, malzeme yüklü olarak etkinleştirilir. Ocağın içine girer girmez ham tuğlalar 1. odaya düşer. Bilgisiz bir kişi şu soruyu sorabilir: "Tuğlaları arabaya nasıl koyarsınız ki işlemden sonra belli bir şekil alsınlar?":
- Geleneksel teknolojideki bir sonraki adım, ham ürünün ara kurutulmasıdır. Evde bir tuğla fırının yerleşimi, bir üretim tesisinden tamamen farklıdır.


tünel fırın tasarımı
Fırının kademeli olarak ısıtılmasıyla, tüm nem tuğladan çıkar ve bu yapı malzemesi sıcak bir fırına yüklenirse, basitçe patlar veya deforme olur. Bu nedenle, çalışma hacimlerine daha özen göstermemiz gerekiyor.
- Ham ürünü kademeli olarak hareket ettirmek için, tuğlaların pişirilmesi için hazneli fırınlar kullanılır. Tuğla odaya yaklaştığında, oradaki sıcaklık zaten yaklaşık 900 santigrat dereceye, hatta belki daha da yükseğe ulaşır. Her malzeme belli bir süre bu bölümde yer almaktadır. Tahsis edilen sürenin sona ermesinden sonra, başka bir parti gelir ve bu, işlemenin bir sonraki aşamasına geçer. Bir işletmede böyle bir tünel yapısı uygulanırsa kısa sürede çok iyi bir sonuç alınabilir.
- Tuğla fırınların tasarımında bir sonraki adım, ürünün tüm parçacıklarını birbirine bağlamayı içerir. Kristaller arasındaki nem tamamen buharlaştığında ham madde seramiğe benzer. En ilginç olan ise seramiğin de tamamen aynı şekilde yapılmış olmasıdır.
- bunun üzerine, genel olarak, ateşleme sona erer ve gelecekteki yapı malzemesi, soğutma için bir sonraki odaya gider. Bu süreç aynı zamanda ani değil aşamalı olmalıdır. Bu arada otomatik konveyör de çalışmalarına devam ediyor ve neredeyse bitmiş yapı malzemesi son bölümde bitiyor. Ürün satılmadan önce en düşük sıcaklığın korunduğu son bölümde mobil tünel fırında tuğla pişirmek için depolanır.
- Son aşamada, iticiler arabayı olduğu gibi dışarı iter ve tuğla nihayet fiziksel veya mekanik müdahale olmadan ve aynı zamanda keskin bir sıcaklık farkı olmaksızın soğur. Soğuduktan sonra depoya sevk edilir.
Mini tuğla fırın - Bu ürünün üretimi için en mobil ve otomatik tasarım. Tünelin sonuçlarıyla karşılaştırılamaz, çünkü tüm iş boru hattı yöntemine dayalıdır. Tabii ki, böyle bir işletmede önemli miktarda para yatırmanız gerekir, ancak çok büyük miktarda ürün üretebilen bu tür bir ekipmanla, tüm maliyetler hızlı bir şekilde karşılanacaktır.
Seramik tuğlalar nasıl pişirilir
Ham tuğla,% 8 ila% 12 nem içerir, başlangıçta kurutulduğu ateşleme için fırına girer. Daha sonra sıcaklık, minerallerin kilden dehidrasyonunun meydana geldiği 500-800 ° C seviyesine yükselir. Bundan dolayı ürün küçülür. 200 ° C'nin üzerindeki sıcaklıklarda, uçucu organik safsızlıkların ve katkı maddelerinin salımı gözlenir.
Bu aşamada tuğla ateşleme sıcaklığı 300-350 ° C / h oranında yükselir. Karbon yanana kadar sıcaklık sabit tutulur. Ve bundan sonra sıcaklık 800 ° C'ye çıkarılır. Bu tür sıcaklıklara maruz kalma, ürünün yapısının değişmesine neden olur. Bir süre, tuğlanın eşit şekilde ısıtılması için maksimum sıcaklığı korurlar. Ardından sıcaklık yavaş yavaş düşmeye başlar.
Tuğla pişirme süresi 6 saatten 48 saate kadar çıkabilir. Bu süreç gerçekleşirken tuğla yapısal olarak tekrar tekrar değişir. Üretim teknolojisi gözlenirse, çıktı yüksek mukavemetli ve suya dayanıklı niteliklere sahip bir üründür. Ses ve ısı yalıtım özelliklerinin yanı sıra çeşitli sıcaklık koşullarına dayanıklılık ile karakterizedir.
Okumanızı öneririz:
Rusya'da Lego tuğlası üretimi için ekipman ne satın alınır?
Bir kum-kireç tuğla makinesi seçmek.
Kaldırma fırın kapıları
Ateşleme fırınının kaldırma kapıları, arabanın giriş ve çıkışı sırasında aerodinamik kurutma ve ateşleme modlarını koruyan bir ön bölme sistemi oluşturur. Kapı işlemi, troley treninin hareketi ile sıkı bir şekilde senkronize edilir ve otomatik olarak gerçekleştirilir.


Tuğla fırın çeşitleri
Pişirme aşamasında çeşitli fırınlar kullanılmaktadır. Üretimde hangi tuğla fırın ekipmanının kullanılacağı çeşitli faktörlere bağlıdır. Tuğla fırın aynı zamanda hem bir proses ekipmanı hem de termodinamik bir açık sistemdir. İçinde sürekli termal işlemler gerçekleşir.
Halka fırın


Halka tuğla fırın
Bir tür tuğla fırın, halka fırındır. Tuğla üretiminde en yaygın kullanılan bu tonozlu fırınlardır. Bir üretim tesisinde halka şeklinde bir tuğla fırın kurulmamışsa, çatısız kullanılması tavsiye edilir. Yerde duran fırınlara göre inşaat maliyeti biraz daha pahalıdır, ancak bakımları çok daha rahat ve kolaydır.


Tuğla pişirmek için bir halka fırın şeması
Halka şeklindeki bir fırında tuğlaların pişirilmesi, bir zemin fırınındakinden önemli ölçüde daha yüksek bir kalite sonucu verir ve yakıt, her 1000 pişmiş tuğla için birkaç kat daha az tüketilir. Bu sobaların bir diğer avantajı da farklı yakıt türleri ile ateşlenebilmeleridir. Bütün bunlar, halka fırınların yaygın kullanımını etkiledi.
Tünel fırın
Tünel fırınlar, kademeli olarak halka fırınların yerini alıyor. Giderek daha fazla sayıda büyük tuğla fabrikası bunları üretimlerinde kullanıyor. Tünel fırınlarda tuğlalar, tuğlanın sabit olduğu dairesel olanların aksine özel arabalarda hareket eder ve içinden çeşitli sıcaklık rejimlerinin geçtiği yerlerdir. Tuğlaların pişirilmesi için tünel fırının bakımı daha kolaydır, çünkü tuğlaların boşaltılması ve yüklenmesi personel için kabul edilebilir sıcaklık koşullarının olduğu fırının dışında gerçekleşir. Ayrıca çalışma alanının önündeki süreçleri mekanize etmek, içindekinden çok daha kolaydır. Fırın, içinde raylı bir tüneldir. Bir tünel fırında tuğlaların pişirilmesi, tünelin tüm uzunluğu boyunca tek tek duran arabalarda gerçekleşir. Belirli bir zaman aralığından sonra, ham tuğlalı yeni bir araba tünele girer ve hazır ürünlerin bulunduğu bir araba tünelin arkasından ayrılır.


Tünel tuğla fırın
Fırınlara çeşitli ısı kaynakları takılabilir. Kömür, yağ ile kavurma fırınlarını ısıtmak mümkündür. Elektrikli fırın veya gaz brülörleri kuruluyor. Servis kolaylığı ve üretimin ekonomik faydası, seçilen ısı kaynağının türüne bağlıdır. Üretim için tuğla ateşlemek için bir gaz fırını seçilirse, o zaman dairesel veya tünel fırın olup olmadığına bakılmaksızın, sonuç yalnızca teknolojik parametreler gözlenirse yüksek kalitede olacaktır.
Şunlarla ilgilenebilirsiniz:
Lego tuğla üretimi için bir pres seçimi.
Tuğla yapımı için ne tür bir kil uygundur?
Fırın türleri
Bu malzemenin üretim tarihi boyunca, ateşleme için çeşitli farklı tasarımlar icat edilmiştir. Hepsinin kendine özgü parametreleri vardı ve farklı avantajları ve dezavantajları vardı.
Günümüzde tuğlaların pişirilmesi için tünel fırınlar ve halka prensibiyle çalışan muadilleri popülerdir.


Geçen yüzyılda, tuğla yapım fırınları geleneksel ısıtma veya ısıtma cihazlarından neredeyse ayırt edilemezdi. Ancak pratik olmadıkları ve düşük üretkenlikleri nedeniyle, bunların yerini konveyörler aldı
Tünel yükleme cihazları
Bu fırın, bir tünele çok benzeyen uzun bir odadır. Cihazı çalışma moduna getiren ısıtma elemanları içerir. Odanın kendisinin, her birinde belirli bir sıcaklığın korunduğu birkaç bölüme ayrıldığına dikkat edilmelidir.
Malzemenin fırın içerisindeki hareketi, tesisat içerisindeki raylara yerleştirilen arabalarla etkileşime giren özel iticiler vasıtasıyla gerçekleştirilir. Dahası, tüm üretim süreci tamamen otomatikleştirilebilir ve bu da onu daha ekonomik hale getirir. Bu nedenle, bu tür bir cihaz büyük talep görüyor ve büyük talep görüyor.


Çalışma döngüsünün sonunda yükleme ve boşaltma odaları ve yükseltilmiş kapıları olan tünel tipi bir fırının dış görünümü
Tünel fırınlarda tuğla yapma prensibi şu şekildedir:
- Ham tuğlalar, ilk arabanın paleti üzerine birkaç sıra halinde yerleştirilir. Bu durumda ürünlerin kalsinasyon işlemi sırasında deforme olmaması için yükleme yüksekliği 1 m'yi geçmemelidir.
- Ayrıca, otomasyon ve iticiler yardımıyla, tramvay ilk odaya girdiği tünele girer.


Tek tip kalsinasyon için ham ürünleri bir arabaya yerleştirme ve malzemenin deformasyonunu ve tahribatını önleme prensibi
- Tuğlaların pişirilmesi için standart teknoloji, ön kurutmayı içerir, bunun sonucunda ürünlerden en büyük nem ekstraksiyonu gerçekleşir, ancak yalnızca kademeli ısıtma ile gerçekleşir. Fırın hemen yüksek bir sıcaklığa ulaşmış olsaydı, malzeme keskin buharlaşmanın etkisi altında patlayacaktı.
- Her tuğla türü ve hatta bazı partiler için farklı olan belirli bir süre sonra otomasyon, ısınan malzemeyi 900-950 derece sıcaklıktaki bir bölgeye taşır. Aynı zamanda yeri ve ısıtma odası hemen yeni bir parti tarafından alınır.


Tünel fırınlar kısa sürede üretim hacmi üretir
- Bu sıcaklıkta, ince parçacıklar birbirleriyle tamamen sinterlenir ve kristaller arası nem tamamen giderilir. Bu işlem sonucunda tamamen aynı şekilde yapıldığı göz önüne alındığında özelliklerinde ve seramiğe benzer görünümde bir malzeme elde edilir.
- Tuğlalar bir tünel fırında ateşlendikten sonra, homojen bir soğutma sağlamaları gerekir. Bunu yapmak için otomasyon, malzemeyi sıcaklığın çok daha düşük olduğu son odaya taşır ve bu da soğumaya yol açar.
- Bitirme aşamasında, bitmiş ürünler iticiler vasıtasıyla tünelden çıkarılır. Ancak tuğlalar, mekanik stres ve ani değişiklikler yaşamadan tamamen soğumalıdır. Bu yüzden yeni bir parti hazır olana kadar dokunulmazlar.
Tünel fırının, gelişmiş otomasyon ve pahalı ekipmanlarla donatılmış gerçek bir konveyör olduğu unutulmamalıdır. Bununla birlikte, üretim ölçeğinde, basitçe yeri doldurulamaz ve kısa sürede büyük hacimler basmanıza izin verir. Aynı zamanda, tüm süreç neredeyse tamamen otomatik olduğu için birçok çalışanı dahil etmeye gerek yoktur. (Ayrıca ateşe dayanıklı havai fişek tuğlası makalesine bakın - bununla ilgili her şey)
Tavsiye! Bu tür fırınlar oldukça enerji tüketir, ancak çalışma moduna girdikten sonra, operasyonla ilgili tüm maliyetleri tamamen haklı çıkarırlar. Bu nedenle ustalar, kurulumu durdurmayı değil, üç vardiyada maksimum verimlilikle çalışmayı tercih ediyor.


Bu tip cihazlar ve modern otomasyon kullanan tüm süreç, yalnızca bir kişi tarafından izlenebilir, bu da işi büyük ölçüde kolaylaştırır ve maliyetleri düşürür.
Cihazları çaldır
Bu cihazın çalışma prensibi, ısı değişimine ve hava kütlelerinin hareketine dayanmaktadır. Gerçek şu ki, halka şeklindeki tuğla fırınlar, yan yana yerleştirilmiş ve bir halka oluşturan bir dizi bölümdür (14 ila 36).
Her bölüm kendi yanma odası ile donatılmıştır, ancak ortak bir havalandırma sistemine sahiptir. Böylece ürün tek bir segmentte olmak üzere kalsinasyonun tüm aşamalarından geçer.Ön ısıtması ve soğutması, yanma sırasında sıcaklık değişiminin meydana geldiği, birbirlerinden yalnızca kalın kağıt tabakalarıyla ayrılan bitişik bölümler tarafından sağlanır.
Konveyör tipi halka üretim fırını da çok sayıda bakım personeli gerektirmez, ancak aslında halka şeklinde yapılmış bir tünel cihazıdır.
Bu tip fırınların çalışma prensibi oldukça basittir ve ürünlerin tek bir bölümde tam bir ateşleme döngüsünden geçmesinden ibarettir. Bitişik bölme pahasına ısınma, kendi yakıtından söndürme ve bir sonraki bölümün sıcaklığını kullanarak soğutma. Bu, önemli ölçüde tasarruf sağlar ve işi bir konveyör bandına dönüştürür. (ayrıca sobalar ve şömineler için kaplama tuğlası makalesine bakın - genel gereksinimler ve üreticilere genel bakış)


Halka Fırınlarda Bölge Yerleşimi Prensibi
Bu tür yapılarda kalite kaybı olmadan yapı tuğlası üretmenin imkansız olduğunu belirtmekte fayda var. Bu fırınlar sıcaklık rejimi üzerinde sıkı bir kontrol sağlayamaz ve bu cihazların ilk modellerinde hiç ölçüm cihazı yoktu. Ayrıca, iş yapmak için belirli sayıda çalışan personel gereklidir ve üç veya dört vardiya halinde çalışmanız gerekecektir.
Tavsiye! Bu tip fırın, özel kullanım için çok büyüktür ve modern üretim için teknik olarak modası geçmiş durumdadır. Bu yüzden böyle bir ateşleme yöntemine odaklanmamalı, daha basit ve daha uygun fiyatlı yöntemler aramalısınız.


Teknik sürecin ihlali, ürünlerin deformasyonuna yol açar
Evde tuğla yapmaya değer mi?
Tünel ve halka fırınların sunduğu sertleştirme yöntemlerini göz önünde bulundurduktan sonra, tüm ateşleme işleminin o kadar karmaşık ve zaman alıcı olduğu sonucuna varılabilir ki, bunu kendi başınıza yapmanın oldukça sorunlu olduğu ve bunun için kendi fırınınızı yaratmanın basit olduğu sonucuna varılabilir. Aptal..
Bu ifade kısmen doğrudur ve iyi bir nedeni vardır:
- Gerçek şu ki, zamanımızda tuğla gibi bir yapı malzemesi için bir sıkıntı yok.
- Montaj işi için, halihazırda kullanımda olan ve kendi ihtiyaçlarınız için üretimi gerçek bir atığa dönüştüren ürünleri kullanabilirsiniz.
- Kendi ellerinizin imalatındaki ıskarta sayısı çok daha yüksek olacak ve aşırı ısınan malzeme geri dönüşüme uygun olmayacaktır. Bu ayrıca ek maliyetlere neden olacaktır.


Hindistan'da bütün bir kast, yapım sırlarının babadan oğula geçtiği kendi tuğla üretimiyle uğraşmaktadır.
- Bununla birlikte, bazı ustalar, kendi elleriyle tuğla yapmanın gelecekteki bir binaya özel bir çekicilik kattığına ve özel özelliklere ve özelliklere sahip bir malzeme elde etmenize izin vereceğine inanıyor.
Evde sertleştirilmiş tuğla yapma teknolojisi hakkında bilmeniz gereken ilk şey, her bir partinin özel bir yaklaşım gerektirmesidir. Bu koşullarda önemli ölçüde azaltılan üretim hacimlerini de hatırlamakta fayda var. Bu yüzden birçok insan fırın yapmayı denemektense ateşsiz tuğlayı tercih ediyor. (
Evde tuğla ateşliyoruz
Tuğla fabrikalarında büyük hacimli üretimin bir tarafına geçerseniz ve daha küçük miktarlarda üretimi düşünürseniz, o zaman evde seramik tuğlaların ateşlenmesini organize etmek mümkündür. Bir tuğlayı küçük miktarlarda yakmak için 200 ila 250 litre kapasiteli sıradan bir metal namluya ihtiyacınız olacak. Önceden, her iki taraftaki alt kısımları da kesmek gerekiyordu.
Ateşleme ateş kullanılarak da yapılabilir. Bunu yapmak için, yarım metre derinliğinde bir delik kazmanız ve üzerine, deliğin kenarının üzerine yaklaşık 20 cm yükseklikte yükseltilmiş bir namlu takmanız gerekir, alt tabanı olmayan bir yerde, bu gereklidir destekleri çubuk veya metal ızgara şeklinde uyarlamak için.Bu, namlu içinde tuğlaların depolanması için bir temel olması için gereklidir.
Namluya tuğla doldurduktan sonra ısı kaybını en aza indirmek için üst kısmını bir kapakla kapatın. Fırınlama, tuğlada kullanılan kil bileşiminin niteliğine bağlı olarak yaklaşık 20 saat sürer. Gazlı tuğlaları ateşlemek mümkündür ancak yukarıda da belirtildiği gibi ekonomik karlılık yakıtın cinsine bağlıdır.


Gazlı tuğlaları ateşlemek için bir fırının şeması
Şu makaleleri tavsiye ediyoruz:
Lego tuğlalarının satın alınması için en iyi matrisler nelerdir?
Manuel tuğla pres nasıl seçilir?
Yüksek sıcaklık seramik fırınlarının tanımı
Seramik pişirmek için kül fırınları gaz ve elektrikle çalışır. İndüksiyon bu amaç için fırınlar kullanmayın.
Elektrikli aletler
Elektrikli fırınlar ana şebekeden beslenir 220 ve 380 volt... Ünite aşağıdaki unsurlardan oluşur:
- nın-nin boğmak (refrakter malzemeden yapılmış kalın duvarlı oda);
- ısıya dayanıklı karşı karşıya mufla;
- metalden kolordu;
- metalden kapılar ısıya dayanıklı izolasyonlu;
- nın-nin ısıtma elemanları;
- nın-nin sıcaklık kontrol cihazları.
Kül fırını fabrikasının gövdesi şunlardan yapılmıştır: olmak... Amatör ustalar elektrikli aletler için genellikle metal kapaklar kullanırlar.
Mufla dışarı atılır ateşe dayanıklı (havai fişek) tuğla... Bağlayıcı bir çözelti olarak, hazır bir şamot-kum karışımı olan harç alın.
Isı yalıtkanı (bazalt mineral yün, kabarık asbest) gövde ile boğum arasına doldurulur. İyi ısı yalıtkanları perlit ve genişletilmiş vermikülit.
Bu versiyondaki ısıtma elemanları - nikrom veya fekral spiralleri, kızılötesi ısıtıcılar... Termostat ve röle, istenen sıcaklığı ayarlamak için önemli cihazlardır.
Kül fırını kapısı gövdeye sıkıca bastırılır. kale... İç tarafına bir maden yünü tabakası ve bir tabak ateş kili tuğlası yapıştırılmıştır.
Gazlı fırınlar
Gaz mufla fırınlarında, hazne gazla ısıtılır. ev tipi bir gaz tüpünden... Isıtıcı olarak gaz kullanılır. brülör yerli sobalar veya fırınlar.
Gaz mufla cihazının gövdesi metalden yapılmıştır. Kare veya dairesel olabilir. Bir vücut olarak amatörler çelik tanklar, kaynaklı çelik sac kutular.
Isıya dayanıklı kaplama haddelenmiş bazalt yünü, vermikülit, asbest lifi, perlitten yapılmıştır. Kaplama seramik bağlantı elemanlarına, nikrom tele tutturulur.
Isıya dayanıklı astar kılıflıdır ateşe dayanıklı havai fişek tuğlaları. Yerleştirme, havai fişek harcı veya harç üzerine yapılır.
Gaz brülör kasanın altına veya kameranın yan tarafına monte edilir O düzgün ısıtma sağlamazbu nedenle, ateşleme, yukarıdan hazneye yerleştirilen başka bir mufta gerçekleştirilir. İçine ateşleme ürünleri yerleştirilir.
Kapak güçlendirilmiştir kalın bir gevşek ısı yalıtkanı ve şamot tabakası. Fırın gazları, kapak ile gövde arasındaki özel yuvalar veya boşluklardan dışarıya çıkar.
Bir tuğla fırın satın almak için neye ihtiyacınız var
Bir seramik tuğla işi kurmayı düşünüyorsanız, bahçede ateş yakmaktan daha ciddi seçenekleri düşünmeniz gerekir. Zaten bir mini tuğla fırın almaya karar verdiyseniz, en uygun seçeneği seçmeniz gerekir. Her fırının kendi kapasitesi olduğu için hangi hacimlerin üretilmesinin planlandığını düşünmeye değer.
Ayrıca önemli bir nokta, uygun yakıt türüne sahip bir soba seçmektir, çünkü enerji fiyatlarında hızlı değişimlerin yaşandığı zamanımızda, bu konu ciddi düşünmeyi gerektirir. Üretimi artırma planları varsa, daha yüksek kapasiteli bir fırın satın almanın fizibilitesini dikkate almaya değer.
Ana özelliklerle ilgili sorular çözüldüğünde, modelin uygun versiyonunu seçmek ve indirimli bir satın alma için seçenekler aramaya başlamak gerekir.Farklı bayilerden ve satıcılardan gelen bir tuğla fırının fiyatı dalgalanabilir, bu nedenle acele etmeye gerek yoktur. Bu ürünleri satan temsilcilerin çoğu, fiyatları kamusal alanda koymuyor, bu yüzden çok şey bulmak için çok çalışmanız gerekiyor. Ancak tasarrufların sonucu tüm beklentileri hoş bir şekilde aşabilir!
Katı yakıt sobaları
Önceki ikisinden farklı olarak, bu varyasyon el işçiliği üretimi ile karakterize edilir. Odun yakan kil ocağı, modern cihazların atasıdır. Şimdi bile, gelişmiş model sıkıntısı olmadığında, birçok çömlekçi geleneksel tasarımları terk etmiyor. Bir uzman için ateşle çalışmak sadece bir zanaat değil, aynı zamanda büyük bir zevktir.
Şekil 6. Seramik pişirme için odun fırını
Genellikle bu tür ekipmanlar tuğladan yapılır. Bazen fırının rolü bir demir namlu tarafından oynanır. Tuğla seçeneği, yüksek güç, güvenlik, güvenilirlik, uzun hizmet ömrü gibi birçok nedenden dolayı tercih edilir.
Her durumda, odun sobası için bir temel gereklidir. Taban, çukur yapıldıktan bir gün sonra yapılır ve taban iyice sıkıştırılır.
Tuğla fırınlar genellikle iki sıra halinde yapılır. Dış tuğla sırası daha rahat çalışmaya katkıda bulunur - üzerinde yanmazsınız. Baca olarak baca kullanılır. İkincisi ne kadar geniş ve yüksekse, madenciliğin kaldırılması o kadar verimli ve ateşleme o kadar güvenli olur.
Odun ateşinde pişirilen çanak çömlek fırını çok verimli değildir. Bu nedenle, sadece geleneklere saygı duymakla kalmayıp, aynı zamanda daha üretken olmaya çabalayanlar, diğer seçenekleri tercih ederler. Ancak özel bir evin sahibi için bu iyi bir karardır. Özellikle modern ekipmanın maliyetini düşündüğünüzde. Her ne kadar teknolojik olarak daha gelişmiş cihazlar kendi başlarına yapılabilir.
Hangisi daha iyi: kendin yap ya da satın al
Ev yapımı bir seramik fırın oldukça fabrika ürünleriyle rekabet edebilir... Farklı güçteki brülörleri seçerseniz, alevin yoğunluğunu değiştirerek istenen sıcaklığa ulaşırlar.
Fabrika modelleri mühendisler tarafından hesaplanır, daha ekonomik yakıt tüketirler, ancak bir zanaat atölyesinde ateş etmek için ev yapımı bir soba yeterlidir.
Aletlerin ve zamanın mevcudiyeti ile, ev ustası, gerekli parametrelere sahip bir sobayı ucuza alacaktır.
Kabul edilebilir bir sıcaklığa ulaşın 900 ° C'de böyle bir sobada oldukça mümkündür. Hem çamaşırların kurutulmasında hem de basit seramiklerin kaba pişirilmesinde kullanılır.
Amaç elde etmekse fayans veya porselenince ayar ile daha yüksek bir sıcaklık gereklidir. Bunun için ev yapımı bir soba işe yaramayacak, bir mufla veya fabrika yapımı bir elektrikli fırına ihtiyacınız olacak.
ogon.guru
DIY tuğla fırın














