Güçlendirilmiş plastik borular, sıhhi tesisat pazarının artan bir bölümünü ele geçiriyor, bu nedenle bakımları konusu daha acil hale geliyor. Bu tür boruların değiştirilmesi gerekirse, tüm boru hattının değiştirilmesi gerektiğine inanılmaktadır. Ancak bu görüş yanlıştır.
Ürünler genel su kaynağına veya ısıtma sistemine zarar vermeden parçalanması ve değiştirilmesi kolaydır. Metal-plastik boruların nasıl düzgün kesileceği aşağıda tartışılmaktadır.
Kesme yöntemleri
Doğrudan kullanılan alete bağlı olan birkaç temel kesme yöntemi vardır. Her şeyden önce ürünleri kesebilirsiniz:
- Güçlendirilmiş plastik boruların verimli şekilde kesilmesi için bıçak. Bu durumda bıçak, kendiliğinden bilenerek kullanılmalıdır.
- Metal için demir testeresi. Bununla birlikte, sanatçıdan çok fazla çaba ve zaman gerektirecek olan en basit yöntem. Ayrıca kenarlar yırtılabilir.
- Makas.
- Boru kesici.
Bazı aletlerde, kesilen kenarlar oldukça pürüzlüdür ve malzeme parçacıkları daha sonra tıkanmalara neden olabilir. En iyi yol, yırtık kenarlar bırakmadan düz kesen özel makas kullanmaktır. Bu makaslar, çapı 40 mm'ye kadar olan nesneleri kesebilir.
Önemli! Bu durumda, alet bu tür işler için özel olarak tasarlandığından ve özel bıçaklara sahip olduğundan herhangi bir özel çaba sarf etmeniz gerekmeyecektir. Bu bıçaklar, plastik boruları her yerde kolayca kesebilir.
Daha büyük çaplı ürünler için bir boru kesici seçin. Boru kesiciler teleskopik ve cırcırlıdır. İlk tip, tüm çevre boyunca dönen özel bir silindirin çalışmasına dayanır. İkinci tip, iki kulplu bir kaldıraç sistemi kullandığından daha çok bir makas gibidir.
Amaç
Metal-plastik boruları kurarken, kesim yapmadan yapmak imkansızdır. Bu işlemi gerçekleştirmek için şunları kullanabilirsiniz:
- Metal için tırtıklı bıçak veya demir testeresi. Tek seferlik iş yapmak için önemlidir. Çok fazla boruyu kesmeniz gerekiyorsa, bu yöntem uygun değildir, çünkü büyük miktarda maliyet gereklidir, uçlar düzensizdir ve çapaklar vardır.
- Bulgar. Metal bıçaklar, çok katmanlı parçaları hızla keser, ancak elektrikli alet, büyük miktarda döküntü kalıntılarını kestikten sonra çok fazla ses çıkarır.
- Boru kesici. Büyük ölçekli boru hatlarıyla uğraşmanız gerekiyorsa en alakalı yol.
Metal-plastik borular nasıl kesilir
Takviyeli plastik boruların rakiplerine göre birçok avantajı vardır. Metalden çok daha hafiftir ve oksitlenmeye bakırdan çok daha dayanıklıdır. Değiştirilmesi ve şekillendirilmesi kolaydır.
Herhangi bir şekilde biye oluşturabilirsiniz. Esas avantaj maliyettir. Bakır borulardan çok daha düşüktür. Ve kalite hemen hemen aynı seviyede.
Çalışma sırasında boruların kesilmesi gerekebilir. Bunun için bu tür malzemelerle çalışmak üzere tasarlanmış özel bir alet kullanılır.
Prosedürün etkinliğini artırmak için, çalışmadan önce boru ve aletlerin uygun şekilde hazırlanması tavsiye edilir. Metal-plastik boruların temel özelliklerini ve nasıl kesileceğini ele alalım.
Borunun ve gerekli aletlerin hazırlanması
Alet olarak kesme cihazının kendisi, ölçüm bantları, ayarlanabilir anahtarlar, contalar ve diğer bazı şeyler kullanılır. Bütün bunlar çalışma sırasında erişilebilir bir yerde olmalıdır.
Bazen bir sonraki adımda kesme işlemini kolaylaştırmak için güçlendirilmiş kaplamanın dışını soymak gerekir. Sıyırma için, mükemmel pürüzsüz bir kesim elde etmenizi ve polimer tabakasından kurtulmanızı sağlayan bıçaklı bir kavrama kullanılır. Bu, boru hattının montajı sırasında yapılması muhtemel olan kaynak işleri için gereklidir.
Önemli! Çalışırken, metal-plastik ürünler için bir bağlantı parçasının takılması için tam olarak gerektiği kadar malzemenin kesilmesi gerekir.
Montaj teknolojisi hakkında çok az
Bir su besleme sistemi veya bir ısıtma sisteminin kurulumunun gerçekleştirilip gerçekleştirilmediğine bakılmaksızın, metal-plastik boruların montajı aşağıdaki sırayla gerçekleştirilir:
- boru hattı kesiği. Boru hattı bölmelerde tedarik edilir, bu yüzden bu vazgeçilmezdir. Bu aşamada kesim kalite seviyesini kontrol etmek için özellikle fısıldamak gerekir, sonunda çapak kalmamalı,

- kalibrasyon - makasla yapılan işin sonunda, kesit geometrisini geri döndürmek zorunludur, bu işlemi pah kırma ile birleştirmek mümkündür,
- Aslında bağlantı, örneğin Amerikan gibi yaygın bağlantı parçalarından herhangi birine uyacaktır.
Metal plastik bir boruyu kesmek daha iyi
Metal-plastik boruların nasıl kesileceği sorusunun ortaya çıktığı bir zamanda, özel makas iyi bir seçenek olarak kabul edilebilir. Bıçakları, çapak ve kırışıklık olmadan mükemmel kesim kalitesini elde etmenizi sağlar.


Not! Makasın sapındaysa, malzeme biraz düzleşebilir. Bunun olmasını önlemek için boru kesme sırasında döndürülmelidir.
Elinizde makas yoksa, basit bir demir testeresi ile yapmak mümkündür. Aslında, bu durumda, kesim kalitesi seviyesi biraz daha kötü olacaktır.
Demir testeresinin sonunda, kenarları bir dosya ile törpülemeniz gerekecektir. Her iki seçenek için özel olmayan bir gereklilik, kesme düzleminin boru hattının uzunlamasına eksenine dik olmasıdır. Ek olarak, küçük bir yanlış hizalama, gelecekte eklemin basıncının düşürülmesi için bir durum olabilir.
Boru hattının kalibrasyonu
Kalibratör, çok katmanlı borular için en önemli araçtır ve kesitin şeklini döndürmenize olanak tanır. Çoğu zaman, bir boru hattını keserken ucu hafifçe deforme olur ve kalibrasyon işlemi yuvarlak olmasına izin verir.
2 tip kalibratörü ayırt etmek mümkündür:
- sadece geometri restorasyonu ve genişletme işi için önerilen bir alet,


- çok katmanlı borular için bir kalibratör, bu işlemlere ek olarak bir pahı anında kaldırmanıza izin verir.
Kalibrasyon teknolojisine gelince, aşağıdaki sırayla gerçekleştirilir:
- uygun bir meme çapı seçilir ve boru hattına yerleştirilir. Sonu deforme olmuşsa, bunun için bir çaba faydalı olabilir,


- daha sonra bir kalibratöre ihtiyaç duyulur, boru hattının ucunu ondan çıkarmadan, bıçakların bıçakları istenen açıda pahlanacaktır.
Boru hattı kurulumu
Bir kişinin metal-plastik borularla nasıl çalışılacağını düşündüğü bir zamanda, bağlantı seçimiyle ilgili soruların çoğu ortaya çıkar.
Birçok yol var, bunlardan herhangi birinin kendine göre avantajları var:
- itme bağlantı parçaları... Bununla birlikte, boru hattının sonuna kadar durur; kolaylık sağlamak için bir görüntüleme penceresine de sahiptirler. Bağlantı türünün dezavantajı yüksek bir fiyattır ve eklemin kendisi tek parça olduğu ortaya çıkar,


- pres bağlantı parçaları... Bu birleştirme yöntemi, metal-plastiğin metale bağlanması gerektiğinde kullanılır. Armatürün kendisine ek olarak, pres pensleri de kullanışlıdır. Metalin deforme olmasından dolayı derz sızdırmazlığı sağlanır.Bu tür bir bağlantı da tek parça olarak kabul edilir.


- kıvrımlı bağlantı parçaları - en yaygın boru hattı bağlantısı türü.
Geçmeli bağlantı, en popüler sıkıştırma bağlantı parçaları türlerinden biridir, bağlantının hem daha fazla mukavemetini hem de yeterli sıkılığını sağlar ve gerekirse bağlantı kolayca sökülebilir. Ek olarak, böyle bir bağlantı parçası yeniden kullanılabilir.
Bağlantı yapmak için kullanılan cihaz aşağıdaki gibidir:
- boruya bir rakor somunu ve bir sıkıştırma halkası yerleştirilir (sıkıştırma halkaları metal-plastik borular için pens olarak da bilinir)
- bundan sonra armatüre yerleştirilir,
- somun iyice sıkılır, pens kolayca deforme olur ve boru hattının ucunu iyice sabitler.


Diğer yöntemlerle karşılaştırıldığında daha popüler olan tam olarak sökülebilir bağlantılardır. Bunları kullanırken, metal-plastik boruların nasıl söküleceği sorusu kolayca çözülür.
Not! Boruyu armatüre takarken çok fazla kuvvet uygulamayın, bu lastik contalara zarar verebilir. Süreci kolaylaştırmak için boru hattının ucu yağlanabilir.
Ayrı olarak, Eurocones aracılığıyla bağlantıdan bahsetmeye değer. Tasarım, ayrılabilir olarak sınıflandırılmasına izin verir, küçük farklılıklar yalnızca bağlantı cihazında bulunur. Boru hattına bir somun ve bir pens konur, ardından içine metal-plastik borular için bir eurocone yerleştirilir ve somun sıkılır.


Ayrıca montaj sırasında tees, haçlar, farklı çapların bağlanmasına izin veren adaptörler, kollektörler (ısıtma sistemleri için), köşe fitingleri gibi bağlantı parçaları kullanışlıdır.
Metal plastik boruları kesmek için aletler
Boru kesme sürecinde aşağıdaki aletler işe yarar:
Ustanın, metal-plastik boruları kesmek için ne kullanacağını önceden belirlemesi önemlidir. Listedeki en önemli araç makastır. Özel hazırlık çalışmaları için diğer her şey gereklidir.
Kesme işlemi çok fazla çaba gerektirmez. Her hareketi tamamen kontrol etmek yeterlidir. Kontrol etmeye yeterince dikkat etmezseniz fazla kısmı kolayca kesebilirsiniz.
Kesme işlemi sırasında ürünün bükülmesi gerekiyorsa elle yapılması tavsiye edilmez. Bu, içindeki alüminyum tabakaya kolayca zarar verebilir. Profesyonel bir boru bükücü alıp onunla işlemi yapmak daha iyidir.
Uygun olmayan araçların tek bir alanda kullanılması tüm ağı etkileyebilir ve bu da yüksek onarım maliyetlerine neden olabilir.
Önemli! Kaynak kitinde genellikle özel makaslar bulunur. Ancak ayrı olarak satın alınabilir. Bu aracın fiyatı, para biriktirecek kadar yüksek değil.
Doğrudan kesime geçmeden önce, birimin bölüneceği kısmı çok net bir şekilde ölçmek gerekir. Bunun için parlak bir işaretleyicinin yanı sıra bir mezura veya cetvel kullanılır. Solmuş bir kalem, özellikle odada yeterli aydınlatma yoksa, basitçe görülemez. İşaret, bir çizik bırakarak bir bıçakla yapılabilir.
Çalışma sırasında plastik ve alüminyum parçaları farklı yönlere uçabilir. Bu nedenle gözlük ve özel kıyafet şeklinde koruyucu ekipman kullanılması gerekmektedir.
Metal-plastik boruları birleştirme yöntemleri
Metal plastikten yapılmış boruları bağlamanın iki yolu vardır:
- pres bağlantı parçalarının kullanılması;
- sıkıştırma bağlantı parçaları kullanarak.
İlk yöntem sırayla iki alt türe ayrılabilir:
- geçmeli pres bağlantı parçalarının kullanılması;
- kıvrımlı kaplinler vasıtasıyla.
Sıkıştırma bağlantı parçaları kullanılarak metal-plastik bir boru hattının montajı
Boru hattının montajı hem kollektörde hem de tee şemasında gerçekleştirilebilir. İkincisini kullanırken, bağlantı parçaları borulara seri olarak bağlanabilir veya boru hattını döşedikten sonra kesilebilir.
Fittingli bir borunun bağlantı şeması.
Sıkıştırma bağlantı parçaları kullanarak bir boru hattı bağlantısı yapmak için talimatlar:
- Boruyu hizalayın, en az 10 cm'lik kesimden önce ve sonra düz, eşit bir kesim sağlayın.
- Boru daha sonra yukarıda açıklandığı gibi hazırlanır. Ayrıca 1 mm'den fazla olmayan uçlarda bir giriş yivinin sağlanması da gereklidir.
- Boruya bir rakor somunu ve ardından ayrık bir halka yerleştirilir.
- Nemli bağlantı parçasına, ucu tüm düzlemi ile bağlantı parçasının kenarına dayanacak şekilde bir boru yerleştirilir.
- Rakor somununu durana kadar elle rakor üzerine vidalayın. Somun ipliği kolayca takip etmelidir
- Bağlantı parçasının gövdesi bir anahtarla tutulur ve diğer anahtarla rakor somunu 1-2,5 tur uzatılır, böylece 1 veya 2 dişli diş görünür kalır.
Kesme tekniği
5 ila 30 cm çapındaki ürünlerle kendi kendine kesim yapılabilmektedir, bu nedenle ürün bu sınırlar içinde kalmıyorsa profesyonellere yönelmek en doğrusudur.
Bu tür manipülasyonları gerçekleştirirken, temel kuralları hatırlamak önemlidir:
- Takviyeli plastik ürünler sıcaklığa karşı çok hassastır, bu nedenle sıcak veya soğuk havalarda bazı problemler ortaya çıkabilir. Malzeme kolayca küçülür ve genişler, bu da gerçek boyutların belirlenmesini zorlaştırır.
- Polipropilen borular gibi metal-plastik borular elde herhangi bir yolla kesilebilir. Ancak çeşitli olumsuz sonuçlardan kaçınmak için bunu özel araçlarla yapmak en iyisidir.
- Kendiliğinden bilenen özel bir bıçak mükemmel bir alettir. Ancak bir bölümü diğeriyle değiştirmek için çalışma yapılması planlanıyorsa, aleti makas lehine bırakmak daha iyidir.
- Malzeme oldukça kırılgandır. Çok fazla kuvvet uygulamak çatlaklarla veya belirli deformasyonlarla doludur. İzin verilen yük, su temin sisteminin kurulumu sırasında verilen ürün pasaportunda görülebilir.
- Kesme şekli doğrudan üründeki metal ve plastik oranına bağlıdır. Daha fazla metal varsa, keserken mümkün olduğunca az sürtünme olmalıdır. Aksi takdirde, büyük bir plastik oranı, yüksek sürtünme ile yüksek yoğunluklu çalışma anlamına gelir.
- Çalışmaya başlamadan önce, borudan su veya gaz akmadığından emin olmak zorunludur. Tüm muslukları kapatıp biraz beklemek gerekiyor.
- Çalışmayı tamamladıktan sonra, tıkanmalara veya özel ekipmanın kırılmasına neden olabilecek enkazın içini uygun şekilde temizlemeniz gerekir.
Elektronik kesme aletlerinin kullanımı, malzeme bunun için tasarlanmadığı için makul görülmemektedir. Manuel olarak kullanılabilir.
Kaynak: znatoktepla.ru
Hazırlık aşaması
Hazırlık aşaması, tüplerin düzensizliklerden temizlenmesini içerir. Bunun için bir kaplin kullanmak daha uygundur. Bundan sonra metal plastik boruyu kesmeye başlayabilirsiniz.


Araç (Fotoğraf: Instagram / redtool.pro)
Kesme tekniği
Metal plastik kesmek için tasarlanmamış aletler kullanmayın. Malzemeye zarar verebilir, düzensizlikler, çapaklar bırakabilirler. Ayrıca tüpü ellerinizle bükmeye çalışmayın. Bunu yapmak için bir boru bükücü kullanmanız gerekir.
Keserken çok fazla kuvvet uygulamayın. Parçaya zarar vermemek için işlemi kontrol etmek önemlidir. Gelecekteki kesimler için işaretler bir kurşun kalem veya keçeli kalem ile yapılabilir. Bunun için keskin nesneler kullanmayın.
Teknik özellikler
Özel beceriler olmadan kendi başınıza 30 cm çapa kadar boruları kesebilirsiniz Boyutlar daha büyükse, deneyimli tesisatçılardan yardım almanız gerekir. Direkt güneş ışığında, sıcak havalarda parçaların kesilmesi tavsiye edilmez. Malzeme ısınır ve kesim işareti yana doğru hareket eder.
Satın alma sırasında verilmişse, ayrıntıların teknik veri sayfasını önceden okumak önemlidir. Metalden daha fazla plastik içeriyorsa, iş çabuk yapılmalıdır.Daha fazla metal varsa, en az sürtünmeye sahip olan aleti seçmeniz gerekir. Kestikten sonra, tozu ve kiri temizlemek için tüp nemli bir bezle silinmelidir.
Elinizde bir boru kesiciniz yoksa, tırtıklı bileme ile bir bıçak kullanabilirsiniz. Bıçağı önceden makine yağı ile yağlamak, keskinliğini kontrol etmek gerekir.
Gelişmiş teknik özelliklerden dolayı metal-plastik borular çok popülerdir. Onları kesmek için bir öğütücü, metal için demir testeresi, keskin bir bıçak veya boru kesici kullanabilirsiniz. İkinci seçenek, kesimler çapaksız pürüzsüz olacağından tercih edilir. Buna ek olarak çok fazla çaba harcamanıza gerek yok.
https://youtu.be/aj7PksBLcwU
Drenaj sistemi hakkında kısaca
Kanalizasyon cihazı, tüm bileşenlerin ve sistemin bir bütün olarak ve bireysel düğümler için çalışma prensibinin bir açıklamasıdır. Alt bölümlere ayrılmış:
- İç - binada bulunur.
- Dış - binaların dışına serilir.
İç
Dahili kanalizasyon cihazı:
- Sıhhi tesisat armatürleri (kirli su oluşum kaynakları): klozet, bide, lavabo (mutfak lavabosu), küvet (duşa kabin), çamaşır makinesi ve bulaşık makinesi.
- Sifonlar ve bağlantı elemanları (geçiş bağlantıları).
- Çıkış boruları Ø 30-50mm. 100 mm klozet için.
- Geçiş elemanları: bağlantı parçaları ve kaplinler, çek valf, revizyon.
- Ana yükseltici, tüm kaynaklardan gelen atık suyu tek bir kanalizasyon borusunda toplayan bir elemandır. Kolektör çapı 100 mm'den az olmamalıdır.
Tesisler içindeki kanalizasyon sisteminin kurulumu düzenleyici belgelerle düzenlenir: SNiP (Sıhhi Normlar ve Kurallar) 3.05.01–85 "Dahili sıhhi-teknik sistemler".
Dış mekan
Harici sistem şunları içerir:
- Ø 100-200 mm borulardan atık hattı (tekli muhafaza için).
- Taşma (inceleme) kuyuları.
- Kaplinler, bağlantı parçaları.
- Atık su alıcısı (fosseptik, fosseptik, biyolojik arıtma istasyonu).
Kanalizasyonun bina dışına montajı SNiP 2.04.03–85 “Kanalizasyon. Dış ağlar ve tesisler ".
Kurulum
Dahili bir kanalizasyon sisteminin ve harici bir otoyolun kurulumu birçok yönden benzerdir. Fark kullanılan malzemelerdedir. Dahili kanalizasyon sistemleri için gri renkli kollektörler kullanılır. Dış kısımların turuncu bir tonu var. Bu, harici yüklerdeki farktan kaynaklanmaktadır:
- İç mekan ürünleri kendi ağırlıklarından ve periyodik olarak akan sıvının yükünden etkilenir. 60–90 ° C'ye kadar termal ısıtma, atık bileşenlerden paralel bir kimyasal saldırı ile eklenir.
- Binanın dışında bulunan parçalar şunlara maruz kalır:
- örtü toprağının kütlesinden gelen basınç;
- geçen araçların ağırlığının etkisi;
- üstte bulunan binalardan çaba görmek;
- negatiften pozitife aşırı dış sıcaklıklara maruz kalır.
Bu nedenle, dahili kanalizasyon sisteminin kurulumu, polimer malzemelerin çoğunluğu ile gerçekleştirilir:
- PVC (polivinil klorür). Daha doğrusu plastikleştirilmemiş PVC (PVC - U).
- HDPE (düşük basınçlı polietilen).
- PPR (polipropilen).
En çok talep gören PVC ürünlerdir. İç kollektörlerin montajı, borunun daralan kısmı ile genişletilmiş olanı (soket) birleştirilerek gerçekleştirilir. Ek elemanlar kullanılır, - bağlantı parçaları (geçiş kaplinleri, tees, 45 ° ve 90 ° açılı dirsekler, dirsekler).
Kanalizasyon borularının montajı, eğim açılarının zorunlu olarak gözetilmesi ile gerçekleştirilir:
- Ø 50 mm'lik kolektör için eğim, metre uzunluğunda bir metre başına 2–3 cm olacaktır.
- Ø 100 mm'lik bir ürün için - 1 metrede yaklaşık 1-2 cm.
Montaj veya onarım çalışması sürecinde plastik parçanın kesilmesi gerekmektedir. Polimerler, metal ürünlere göre yüksek sertlik ve mukavemet açısından farklılık göstermez. Bu nedenle, çoğu çilingir ve mekanik alet tarafından işlenirler. Plastik bir boruyu şu şekilde kesmek mümkündür:
- metal veya küçük sertleştirilmiş dişli demir testereleri;
- üçgen dosya;
- yapboz (50 mm'yi geçmeyen çaplar için);
- dairesel veya pistonlu testere;
- değirmeni ve diğer araçlar.
Kanalizasyon sistemlerinin montajı, SP 30.13330.2012 gereksinimlerine göre kurallara göre yapılır. Eğimleri gözlemlemeye ek olarak, eklerin ve bağlantı noktalarının doğru şekilde dağıtılması gerekir. Teknik olarak mümkünse, gizli kablolama yapılması önerilir.
Kanalizasyon borularının iç mekanlara montajı başlar:
- bir çalışma planı hazırlamakla;
- bir eskiz veya çizim yapmak;
- gerekli rezervuar boyutlarının belirlenmesi;
- gerekli malzemenin hazırlanması;
- plastik bir parçayı kesebileceğiniz bir aletin hazırlanması.
Montaj çalışması aşamasının sonunda dahili kanalizasyon cihazı görsel olarak kontrol edilir. Ayrıca, olası ürün kusurlarını veya sızıntıların varlığını belirlemek için sistemi suyla dökmek gerekir.
Dış mekan sistem kurulumu
Binanın dışındaki plastik borulardan kanalizasyon montajı, çoğu durumda toprak hendek içinde gerçekleştirilir. Bunun nedeni:
- plastik kanalizasyon yapısını negatif sıcaklıkların etkilerinden koruma ihtiyacı;
- Toprak arsa yüzeyinin rasyonel kullanımı; olası mekanik hasarlardan korunma.
Kanalizasyon sistemlerinin hendek dışına montajı yapılır:
- yüksek seviyede yeraltı suyu (sulak alan) varlığında;
- kayalık veya donmuş zemin (permafrost);
- diğer teknik kısıtlamalar.
Kanalizasyon borularının sahaya montajı esas olarak ılık mevsimde yapılır. Bu, kanalizasyon borularının kurulumunu kolaylaştırır - daha rahat bir iklim ve çözülmüş toprağın varlığı.
Dış mekan ürünleri - polimerlerden yapılmış kırmızı borular. Parçaları, iç mekan yapılarında olduğu gibi kesebilir veya kesebilirsiniz. Kanalizasyon plastik borularının montajı kendi başına veya üçüncü taraf bir kuruluşun katılımıyla gerçekleştirilir.
Yol - kanalizasyon borularının montajı bina içinde veya dışında gerçekleştiğinde, parçaların nasıl kesileceği, çalışmaya başlamadan önce önceden düşünmeniz önerilir. Aksi takdirde, gerekli cihaz veya alet elinizin altında olmayabilir ve bu da hattın kurulum sürecini önemli ölçüde karmaşıklaştıracaktır.
Kaynak: hemkor.ru
Enstrüman pazarındaki en iyi modeller
Ev ustasının garajındaki alet kutusunda, metal-plastik borular için en yaygın boru kesici-makas. Beyninizi rafa kaldırmamak, inşaat bölümlerindeki tüm çeşitli araçları anlamak için, farklı fiyat kategorilerindeki popüler yüksek kaliteli modellerin derecelendirmesine hemen alışmak ve diğer alıcıların deneyimlerine göre bir seçim yapmak daha iyidir.
Ev kullanımı için bütçe modelleri
Sturm, ev kullanımı için ucuz ve pratik bir seçenektir. Cihaz sertleştirilmiş çelik bir bıçakla donatılmıştır. Metal parçalar bir korozyon koruyucu madde ile kaplanmıştır. Sap, kaymaz bir yüzeye sahip rahat plastikten yapılmıştır. Sturm'dan bir boru kesicinin maliyeti 400-450 ruble arasında değişiyor.


Ucuz, kalitesiz demek değildir. Evet, boru kesicilerin bütçe modelleri, profesyonel ekipmanların tüm avantajlarına sahip değildir, ancak ana işlevlerini yerine getirirler.
Başka bir bütçe boru kesici WMT tarafından üretildi. Bu araç size 300 rubleden fazlaya mal olmayacak. Bu tür bir para için, ek işlevlere ve diğer hoş küçük şeylere güvenmek zorunda değilsiniz, ancak cihaz çalışmasıyla makul sınırlar içinde başa çıkıyor. 42 mm'ye kadar metal-plastik boruları keser.
Profesyonel boru kesme ekipmanları
RIDGIT, boru kesme aletlerinde pazar liderlerinden biridir. Bu üretici, her koşulda çalışabilen profesyonel ekipman sunar. RIDGIT PC 1375 ML, bu markanın en popüler modellerinden biridir.
Hafif (yalnızca 320g) çelik gövde ve sağlam kesici, boruyu birkaç saniye içinde keser. Çok çeşitli çalışma çapları (42 mm'ye kadar), en popüler boru boyutlarıyla çalışmanıza olanak tanır. RIDGIT PC 1375 ML'nin maliyeti 3600 ruble'den başlıyor.


Deneyimli bir inşaatçı, profesyonel bir alet ile "amatör" olan arasındaki farkı, sadece elinde tutarak anlayabilir. Ve bunun için markaları bilmenize gerek yok. Ürün yüksek kalitede ise, kendisi için konuşur.
RIDGIT'in bir diğer popüler modeli TC-40'tır. Bu otomatik bir boru kesicidir. 0.75 kW motor ve 12 V lityum batarya ile donatılmıştır.Cihaz, 3 ila 42 mm arasındaki boruları kolayca tutabilir, sadece bir tuşa basın.
Düşük ışıklı yerlerde çalışmak için arka ışık gibi güzel bir eklenti var. Çok katmanlı metal plastik borudan bu yana, üretici bu tür malzemeler için özel bir adaptörle ilgilendi. Otomatik bir aletin fiyatı 18.000 ruble.
ABD'den profesyonel Milwaukee aleti, uzun yıllar hizmet için yüksek kaliteli ve güvenilir performansın garantisidir. Milwaukee ProPEX Boru Kesici, 25 mm'ye kadar küçük çaplı bir boru kesicidir. Korozyona uğramayan dayanıklı çelikten imal edilmiştir. Rahat sap, yüksek düzeyde ergonomiye sahiptir. Ancak yüksek kaliteli bir boru kesicinin fiyatı da uygundur - 2300 ruble.
Türk markası KALDE, çok çeşitli metal-plastik boru makası sunmaktadır. Örneğin, KALDE (40-63), büyük çaplı boruları kesmek için bir modeldir - 40 ila 63 mm. Bıçaklar çok iyi bilenmiştir, alet plastik boruları bükmez, kenarları ısırmaz ve talaş bırakmaz. Tüm KALDE ürünleri Avrupa kalite standartlarına uygun olarak üretilmektedir. Mağazalarda belirli bir modelin fiyatı yaklaşık 4300 ruble.
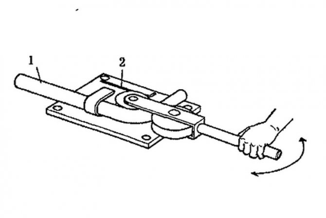
Demir testeresi
İlki bir demir testeresi. Bir nesneye bir boru ve demir testeresi ile geldikten sonra, bunu yaparlar.
Düz kenarlar elde edilir. Ve boru boruya sokulduğunda, bu lastik bant kenardan ısırır, bu nedenle tesisatçılar, pah kırma gibi ek bir işlem yapmak zorundadır. Bu, sırasıyla bir bıçakla yapılır veya boru basitçe betona sürtünür ve bir pah elde edilir.
Bu yöntem neden iyidir? Küçük bir araçtır, nispeten küçüktür. Oldukça geniş ve uzun olduğunu ve korumasız olduğunu görsek de hareket ettirilemez. Kenarları yuvarlamak istiyorsan, bir bıçağa ihtiyacın var.
Bulgarca
Mali açıdan daha güvenli olan tesisatçılar, yanlarında küçük bir öğütücü taşırlar. Bosh'dan bahsetmiyorum, daha ucuz birinden bahsediyorum. Şimdi kendim için ayarlayacağım. Ve buna göre boruyu kesiyoruz.
Yöntem ilkinden daha hızlıdır. Daha pürüzsüz kenarlar üretir. Elbette gören kişinin ellerinin nereden büyüdüğüne de bağlı ama kenarları daha pürüzsüz.
İlk yönteme kıyasla bir dezavantaj var - bu bir pah. Bu tür çapaklarla bir pah elde edilir ve bu kenarların ek olarak işlenmesi gerekir. Peki gidecek. Ancak öğütücü, böyle bir örümcek ağı, chacha ile büyümüş ve onu temizlemek oldukça zor.
Plastik boru kesme aleti
Ve başka bir modern boru işleme yöntemi daha var - P-TEC 5000 aracı Bir görüntüleme penceresi var. Onu işaretlediğimiz derinliğe getirip bir daire içinde döndürüyoruz. Sonuç, mükemmel bir düz kesim ve pah kırmadır.
Aynı anda iki parça üzerinde ideal bir kesim elde edilir ve ayrıca iki parça üzerinde bir pah elde edilir. Daha hızlı, daha kolay. Öğütücü taşımaya gerek yok, böyle bir demir testeresi taşımaya gerek yok. Çok rahat. Düğmeye basılır, yerleştirilir ve gider.
Mevcut boru kesicilerin çoğundan daha kullanışlıdır, ancak bir dezavantajı vardır. Sadece 50, 32 ve 40 mm borular için mevcuttur. Son ikisi için iki delikli çift taraflı bir aparat var. Tek dezavantajları kapalı olmaları, yani borunun içeri itilmesi gerektiğidir.
Kaynak: transkribator.guru
Polipropilen boruların yüksek kalitede kesimi
Su temini sistemlerini ve diğer iletişimleri donatmak için kullanılan polipropilen boruların (propilen polimer) artan popülaritesi ve yaygınlığı nedeniyle, malzeme ile çalışmayı kolaylaştıran özel bir araca olan talep önemli ölçüde artmıştır.
Polipropilen boru ürünlerini kesen makas modelinin doğru seçimine özellikle dikkat edilir. Bu, kablo tesisatı kurulumu için tüm parça setinin hazırlanmasını büyük ölçüde basitleştirir.
Kural olarak, yerden ısıtma sistemlerinin montajı için kullanılan bobinlerdeki polipropilen borular sıklıkla bulunmasına rağmen, piyasada düz uzunluklar (12.0 m'ye kadar) satılmaktadır.
Propilen boruları kesen ana alet türleri
Termoplastik polimer polipropilen boruları kesmek için üretilen ekipmanın tüm modifikasyonları çeşitli tasarım seçeneklerine bölünmüştür.
1. Hassas makas - oldukça basit, güvenilir bir ayrık itici mekanizmaya sahiptir. Bu alet, 3,0–41,5 mm çapındaki ürünleri parçalara ayırabilir ve parçalayabilir. Kesici alet, propilen borularda oldukça kolay, eşit kesimler yapmayı mümkün kılan tırtıklı çubuklu bir çelik bıçağa (alaşım sınıfı) sahiptir.
Hassas makas kullanarak tek elle kolayca başa çıkabilirsiniz, ancak malzemenin büyük miktarda parçalanması ile el, önkol ve omuz kaslarının yorgunluğu hızla artar. Bir alet satın almak, yalnızca makasın doğru kullanımıyla geçerli olan bir yıllık garanti anlamına gelir.
2. Akülü boru kesici, orta kalınlıkta propilen boruların (8,0–29,5 cm) ultra hızlı (maksimum 7,0 saniye), hassas kesimi için otomatik bir alettir. Kesme yüzeylerinin sıkıştırma kuvveti, küçük, güçlü bir elektrik motoru tarafından sağlanır.
3. Makaralı boru kesici, polipropilen kesme aletinin kullanımı kolay bir modifikasyonudur. Tasarımının sadeliğine rağmen, çalışan kesinlikle eşit bir kesim yapabilir. Bu durumda, boru elemanları eşit (90 derece) açıyla kesilir.
Dikkat! Düz, dik bir açıdan (90 derece) kesme işlemindeki herhangi bir sapma, aletin bozulmasına veya kesim hatlarında deformasyon hasarına neden olabilir!
Makaralı boru kesiciler teleskopik uzatmalarla mevcuttur. Bu aletler bir cırcır cihazı ile donatılmıştır ve genellikle geleneksel makaslara benzer. Bu boru kesicinin bir yandan kesilecek borunun yerleştirildiği C şeklinde bir girintisi vardır. Karşı tarafta keskinleştirilmiş bir kesme bıçağı bulunur. Kolları bir fırça ile kapattıktan sonra boruyu düz bir düzlemde keser.
4. Giyotin boru kesici, büyük çaplı boruları (63,5-350,0 mm) kesmek için kullanılan bir cihazdır. Alet, Teflon ile kaplı yüksek mukavemetli, keskin kenarlı bir bıçak tasarımındaki varlığı ile karakterize edilir. Borunun düzgün montajı ve çok keskin bıçaklarla yavaş kesim, uç yüzeylerin maksimum pürüzsüzlüğüne katkıda bulunur. Bu, boru uçlarında ek işlem yapılmadan sonraki elektrofüzyon kaynağını büyük ölçüde kolaylaştırır.
Öneri! Polipropilen boruları kesmek için özel bir alet bulunmadığında, metal veya ahşap için özel bir demir testeresi kullanabilirsiniz. Bu teknolojinin en ufak bir ihlalinin kesilen boruyu bozabileceği unutulmamalıdır. Ek olarak, kesimin uç düzlemi ayrıca çapaklardan ve oluşan talaşlardan temizlenmelidir ve bu çok fazla çaba ve ekstra zaman gerektirir!
Basın uydurma
Boruların pres geçme yöntemi kullanılarak bağlanması, boruları duvarlara tuğla yapmanıza veya sızıntı korkusu olmadan betonla doldurmanıza olanak tanır. Bu yöntem, sıkıştırmalı bağlantıdan daha güvenilirdir. Bununla birlikte, özel aletlere ve ekipmanlara ihtiyacınız olacak.
Boruları kurmak için ihtiyacınız olacak:
- Kıvrımlı kaplinler;
- Metal veya boru bıçağı için demir testeresi;
- Kenarları işlemek için kalibratör;
- Sıkma maşası (elektrikli veya manuel).
Pres pensesi kullanımı sayesinde yüksek kalitede boru bağlantısı elde edilir. Bağlantı parçası satın almaya gerek yoktur, bu da kurulum maliyetlerinin azalması anlamına gelir.
Presleme yöntemini kullanarak boruların montajı için adım adım talimatlar:
- Gerekli hesaplamaları, ölçümleri yapıyoruz ve gerekli uzunlukta bir boru parçasını kesiyoruz.
- Borunun ucunu bir kalibratörle işleyerek orijinal şekline geri döndürüyoruz.
- Boruya kıvrımlı bir manşon yerleştirdik.
- Lastik conta ile donatılmış bağlantı parçasını takın.
- Debriyajı pres pensesi ile sıkıyoruz, bunun sonucunda debriyaj üzerinde bir halka görünecek. Kaplini yalnızca bir kez kıvırabileceğinizi ve yanlış bir şey yaparsanız, parçanın yenisiyle değiştirilmesi gerekeceğini unutmayın.
Halihazırda bir kaplin takılı bir armatür satın aldıysanız, bağlantı süreci biraz farklı görünecektir.
İlk adım aynı zamanda boruyu ölçmek ve kesmek ve kenarlarını kırpmak olacaktır. Daha sonra boruyu armatüre takmak gerekecektir. Kıvrımlı manşondaki özel deliklerden geçmenin sıkılığını kontrol etmek ve ayarlamak mümkün olacaktır.
Pressfitting bağlantısı sıhhi tesisat, ısıtma ve yerden ısıtma sistemlerinde kullanılabilir.


Sıkma pensesi
Bazı insanlar, baskı çenesi satın almaları gerektiği için bastırma yöntemini kullanmazlar. Ancak, son zamanlarda, birçok mağazanın bu aracı kiralamaya çalıştığı unutulmamalıdır; bu, satın alma işleminden tasarruf etmenize ve özel bir maliyet olmadan metal-plastik borular kurmanıza olanak tanır.
Belirli koşullar için belirli tipte polipropilen boru seçimi
Polipropilen malzemeden yapılmış boruları kesmek için, çap boyutlarının belirli bir değeri için makaslar seçilir. Üreticiler bugün boru malzemesini dört versiyonda sunuyor:
- РN-10 - "sıcak zemin" sistemi ve soğuk su kaynağı oluşturmak için seçilir. Soğutma sıvısı +45.0 С'den daha sıcak olmamalı ve hat içi basınç 1.0 MPa düzeyinde tutulmalıdır;
- PN-16 - soğutulmuş su dağıtımı ve ayrıca merkezi ısıtma sistemi boruları için uygundur. Soğutma sıvısı düşük basınç altında sağlanır - en fazla 1,7 MPa;
- PN-20, sıcak, ılık veya soğuk su temini için aktif olarak kullanılan borunun evrensel bir versiyonudur. PN-20 borularının montajı için zorunlu koşullar: maksimum iç basınç 2,1 MPa'dır ve soğutucunun sıcaklığı +80 C'den fazla değildir;
- PN-25, alüminyum folyo ile güçlendirilmiş boru malzemesidir. Bu çözüm, boru duvarlarının 2,6 MPa iç basınca ve maksimum +95 C su sıcaklığına dayanmasını sağlar. Bu tür bir boru, merkezi ısıtma ve sıcak su kaynağı kurulumu için mükemmeldir.
Önemli! Polipropilen boru tipinin seçimi, boru hattının anlık hizmet ömrü bu faktörlere bağlı olduğundan, sistemdeki suyun sıcaklığı ve basıncı titizlikle dikkate alınarak dikkatlice yapılmalıdır!
Çeşitli polipropilen boru şeklindeki ürünlere ek olarak, üreticiler birçok bağlantı parçası ve birleşik elemanlar üretir. İkincisi genellikle iç veya dış dişlere sahip kalıplanmış pirinç ekler ile donatılmıştır.
Metal ekler, kolay sızdırmazlığa ve malzeme dönüşümüne izin verir.
Hatırlamak! Polipropilen boruların duvar kalınlıkları ve çaplarından bağımsız olarak kesilmesiyle yalnızca profesyonel, yüksek kaliteli kesici takım modifikasyonları etkili bir şekilde baş edebilir!
Metal plastik boruların montajı için alet çeşitleri
Metal plastik boruları bağlamak için aşağıdaki aletler kullanılır:
- Metal plastik kesmek için boru kesici veya makas.
- Açı öğütücü (öğütücü).
- Boru Bükücü.
- Saç kurutma makinesi inşa etmek.
- Manuel basın veya maşa basın.
Öğütücü ve bina saç kurutma makinesi bir elektrik motoruyla çalıştırılır. Metal plastik borular için ev tipi boru bükücüler genellikle elle çalıştırılır. El sıkma presi, farklı tipte tahriklere sahip birkaç çeşide sahiptir.
Mekanik
20 mm çapa kadar su borularını sıkmak için el veya mekanik mini pense kullanılır. Bunlar sıcak ve soğuk suyun iç dağıtımı için kullanılır. Bu aletlerin elektrikli tahriki veya hidrolik güçlendiricileri yoktur; onları çalıştırmak için insan kas gücünü kullanırlar.
Manuel sürüş
Manuel boru bükücüler, kendi kendine yapılan Volnov makineleri, basit araçlardan daha karmaşık bir tasarıma sahiptir. Eğilmek için gereken kuvvet oldukça önemlidir ve bu tür yapıları çalıştırmak için kaldıraçlar kullanılır.


Metal-plastik ısıtma borularını (25 mm, bazen 32 mm) kıvırmak için, pres bağlantı parçalarını kıvırmak için standart bir manuel pres kullanılır. Bir kişinin kas gücünü artırmak için bir dişli şanzıman kullanılır, ayrıca sıkma kuvvetini doğru bir şekilde ayarlamaya yardımcı olur.
Hidrolik
Daha büyük çaplı (32 mm'ye kadar) boru hatlarını sıkmak için hidrolik pense üretilir. Pense kollarından birine takviye edici bir hidrolik silindir yerleştirilmiştir. Kollar hidrolik silindirde sıkıştırıldığında basınç yükselir, kuvvet pensenin kıvırma başlığına iletilir. Bu tür kıskaçlar oldukça pahalıdır (10.000 ruble'den), nitelikli bakım gerektirirler.


Elektro-hidrolik seçenek
Önceki tüm modeller, küçük hacimlerde metal-plastik mühendislik sistemlerinin kurulumunda kullanılmaktadır. Endüstriyel inşaatta veya sürekli olarak sıhhi tesisat sistemleri kuruyorsanız, güçlü bir elektro-hidrolik presleme aleti satın almak mantıklıdır. Bu tür ekipmanlar, 108 mm çapa kadar boru hatlarının montajı için kullanılır.
Elektro-hidrolik pres aleti, yüksek üretkenliğe ve en yüksek kaliteye ve sıkı sıkıştırmaya sahiptir. Cihazlar, farklı çaplarda boruları kıvırmak için nozullarla donatılmıştır. 50 mm'ye kadar yaygın ev çapları için elektrikli penseler pille çalıştırılabilir.
Polipropilen borular nasıl kesilir? İyi bir araç seçme ilkeleri
Her şeyden önce, propilen boruları kesmek için kaliteli bir alet seçerken, sonraki kullanımının planlanan yoğunluğu üzerine inşa etmek gerekir. Bir veya iki kesime ihtiyacınız olduğunda, hassas veya makaralı makaslar yeterlidir.
Sık sık boru kesmeniz gerekiyorsa, batarya modeli en iyi seçenek olacaktır. Tabii ki, giyotin boru kesici, özellikle büyük çaplı boruları keserken işle etkili bir şekilde başa çıkacaktır.
Özellik! Önemli bir dezavantaj, boru kesicilerinin tüm modifikasyonlarının karakteristiğidir - bıçak, kesme sırasında biraz yana doğru hareket edebilir. Bu, küçük çaplar için kritik değildir, ancak büyük boyutlu polipropilen borular böyle bir kusurdan arındırılmalıdır. Bu nedenle, giyotin kesici ile büyük boruları kesin!
Manuel ve elektrikli boru kesicilerin avantajları
Metal-plastik boruları kesmek için kullanılan alet 2 tipte olabilir:
- Manuel;
- elektrik.
Bir el borusu kesici, onu kullanan kişinin kas gücünü sayarak çalışır. Herhangi bir koşulda kullanılabilir, bir güç kaynağının varlığına bağlantı yoktur, pilin kapasitesine ve bir elektrikli aletin kullanımıyla ilgili diğer rahatsızlıklara bağlı olarak çalışma süresinde herhangi bir kısıtlama yoktur.
Bununla birlikte, hiç kimse büyük hacimli işlerde el aletlerinin yeterli olmayabileceğini iddia etmeyecektir. Bu, özellikle kalın duvarlı büyük çaplı metal plastik borular için geçerlidir. Tabii ki, ev düzeyinde inşaatta, bu tür malzemeler nadirdir, ancak profesyonel bir tesisatçı için bu çok gerçek bir durumdur.


Araç, çalışanın zamanından ve emekten tasarruf sağlar.Ek olarak, insan faktörü "vurulmadığında", "kontrol edilmediğinde" veya göz başarısız olduğunda hariç tutulur.
Pille çalışan elektrikli boru kesici, endüstriyel ölçekte kesim yaparken gerçek bir cankurtarandır. Elektrikli bir alet söz konusu olduğunda, kişi yalnızca kesimin yapılması gereken yere bir işaret koyar, ardından parçayı, boru üzerindeki ve boru kesici penceresindeki işaret mümkün olduğu kadar doğru bir şekilde çakışacak şekilde düzeltir, ardından gücü açar ve düzgün, mükemmel bir kesim elde eder.
Elbette bu sadece kolaylık değil. Metal plastik borular için akülü boru kesicinin maliyeti, zaman zaman bir el aletinin maliyetini aşar. Cihazı neredeyse her gün profesyonel faaliyetlerde kullanmadığınız sürece kimse fazla ödeme yapmak istemez.
Plastik borular için hassas makaslı kesme teknolojisi
Propilen boruları kesmek için özel bir kural yoktur. Kesme aletleri, özellikle hassas makaslar, kesilen malzemenin keskinleştirilmiş bıçağa kesinlikle dik olarak yerleştirildiği özel girintilere sahiptir.
Dikkat! Kollara basınç uygulandığında, borunun eşit konumu bozulabilir. Bu, mümkün olan her şekilde önlenmelidir, aksi takdirde kesim düzensiz olur veya alet kırılır!
Kesme açısının ciddiyetini izlemek için kaynak, montaj ve diğer bağlantı türleri için çok önemlidir - sadece 90 derece olmalıdır.
Alet, büyük tutamaklar nedeniyle fırçayı tutmak için uygun olmadığında, bir mengeneye sıkıştırılabilir. Kola normal bastırma kuvvetleri yeterli olmayabileceğinden, bunu büyük çaplı boruları keserken de yapabilirsiniz.
Çok sayıda borunun bu şekilde kesilemeyeceği açıktır, ancak onarım küçükse, büyük, pahalı kesme aletleri olmadan tamamen yapabilirsiniz.
Takviyeli bir plastik boru nasıl bükülür
Metal plastiğin avantajlarından biri esnekliğidir, bu yüzden minimum sayıda bağlantı parçası ile yapmak mümkündür. Örneğin, bir dirsek bağlantısı takmak yerine, borunun kendisini bükmek daha kolay olabilir. Üretim yaparken, metal-plastik bir borudan bobin olarak bir eleman için bunun yanında bükülmeden yapmak imkansızdır.


Boru hattı deformasyonuyla ilgili temel sorun ne yapabildiğidir. Başka bir deyişle, duvarları virajda birleşecek ve bu da soğutucunun normal dolaşımını uygulanamaz hale getirecektir.


Bu sorunu çözmenin iki yolu vardır:
- bir boru bükücü vasıtasıyla,
- boru hattını kendi ellerinizle bükün. Bu durumda bükülmeyi önlemek için boru iç boşluğunun doldurulması gerekecektir.
El ile bükülerek boru kum veya tuz ile doldurulabilir. Bu, mandrelin yerini alabilir. Uçlardaki delikleri doldurup mühürledikten sonra boru hattını normal şekilde bükmek mümkündür.
Dökme malzemeler yerine metal plastik borular için bir yay da uygundur. Çapı yalnızca borunun iç çapından daha az olmalıdır.


Boru bükücülere gelince, bükme yöntemine göre sınıflandırılabilirler:
- mandrel - sert bir eleman boru hattına girer,
- segmental - bununla birlikte, farklı çaplar ve bükülme yarıçapları için bir dizi pabuç kullanılarak bükme yapılır.


Bu durumda, boruyu bükme talimatları basittir - boru bükme koluna yeterli kuvvet uygulanır. Boru pabucuna iyice bastırılır ve deforme olur.
Not! Her boyut için minimum bükülme yarıçapı vardır. 5 • D formülü ile bulunabilir, burada D boru hattının çapıdır.






