As vantagens de um fogão de barril
Ao montar fogões caseiros, os artesãos costumam usar velhos cilindros de gás ou chapas de metal. É problemático obter os dois, e até quase gratuitamente. Isso se aplica principalmente a chapas de metal, que na maioria das vezes são simplesmente compradas. Barris de 200 litros são uma matéria-prima mais acessível para a construção de equipamentos de aquecimento.
200 litros é um volume bastante decente. Uma fornalha organizada em um barril caberá uma grande quantidade de lenha, necessária para a execução da queima longa. Além disso, haverá um lugar para um cinzeiro espaçoso. Em outras palavras, um velho barril de metal ainda servirá para o benefício de uma pessoa, proporcionando-lhe calor e conforto.
Um fogão de barril é uma excelente solução para aquecimento de instalações não residenciais de qualquer tipo. Vai caber na garagem, aquecer uma pequena oficina e aquecer a cave. Sua montagem não leva muito tempo, mas é preciso estar atento à escolha do material de origem. O barril selecionado não deve ser enferrujado - quanto mais grosso for o metal, mais tempo durará o próprio fogão. Portanto, você não precisa economizar em materiais de montagem.
Outras vantagens de um fogão de barril:
- O volume de 200 litros é suficiente para a combustão normal de uma chama no forno.
- Possibilidade de organizar um cinzeiro amplo e fácil de limpar.
- Despretensão para abastecer - o fogão será capaz de funcionar em qualquer coisa que arde.
- Fácil de operar.

Um fogão de barril de 200 litros tem certa demanda entre aqueles que precisam de equipamento de aquecimento barato e fácil de montar.
Também existem desvantagens:
- Alta temperatura da caixa.
- Baixa eficiência - parte do calor simplesmente voa para a chaminé.
- Paredes finas - fornos duráveis requerem metal de 3-4 mm.
Fogão de barril: características do modelo horizontal
A partir de um barril, que tem um volume de 200 litros, também é possível fazer um aquecedor localizado em um plano horizontal. Neste caso, também é necessário preparar a estrutura de suporte. Sua altura é calculada levando em consideração as características operacionais individuais. Ao escolher este indicador, em primeiro lugar, você precisa se concentrar nas dimensões da sala em que o aquecedor caseiro será instalado.
No desenho do forno, é necessário levar em consideração as peculiaridades de sua localização. A montagem de tal estrutura ocorre de maneira quase idêntica à de um dispositivo de aquecimento vertical. Vamos considerar com mais detalhes o processo de fabricação própria de um fogão a partir de uma lata de metal.


A partir de um barril com um volume de 200 litros, você pode fazer um dispositivo de aquecimento localizado em um plano horizontal
Observação! As dimensões do cinzeiro não devem exceder 1/3 da altura do recipiente. O tamanho de um barril de 200 l (mais precisamente, a altura) é geralmente 85 cm.
Deve ser feito um furo no fundo do tanque, que será utilizado para a retirada das cinzas. Ao mesmo tempo, você precisa entender que seus parâmetros não devem ser muito grandes. Em seguida, você precisa fazer um cinzeiro. Como material para este elemento, é usada uma folha de metal comum de espessura apropriada. Em seguida, ele deve ser encaixado na parte inferior do aquecedor. Para isso, costuma-se utilizar equipamentos de soldagem.
Artigo relacionado:
Forno de óleo residual: opções de DIY para fazer um dispositivo
Princípio da Operação. Tipos de dispositivos. Modelos montados na fábrica. Fazer uma fornalha para trabalhar com as próprias mãos, opções de design.
Ao organizar o cinzeiro, é necessário prever uma janela de visualização através da qual este compartimento será limpo. Em seguida, é realizada a instalação da estrutura da chaminé. Neste caso, existem duas opções comuns para a localização do tubo - na parede posterior ou no topo.
Uma salamandra de queima longa, situada no plano horizontal, pode ser utilizada não só para aquecer garagens, caves e anexos, mas também para cozinhar. Para tal, está equipado com uma placa especial. Esse dispositivo é móvel, portanto, pode ser levado para o campo.


Um barril com um volume de 200 litros é instalado horizontalmente em suportes
Sequência de montagem
O fogão de barril é fácil de montar e não requer ferramentas menos sofisticadas. Nós vamos precisar:
- rebarbadora (esmerilhadeira);
- máquina de solda;
- uma serra para metal para trabalhar com peças pequenas (é mais conveniente desta forma);
- máquina de moer.
Você também precisará de materiais auxiliares:
- peças de folha de metal - para soldar portas;
- dobradiças de porta;
- metal da chaminé;
- metal para as pernas;
- tijolo e cimento para organizar a base do fogão;
- acessórios para criar uma grelha.
Prepare discos de corte para o moedor e eletrodos para a máquina de solda (se a solda elétrica for usada).


Fazer um fogão de barril não é a tarefa mais difícil, o principal é seguir exatamente as nossas instruções e observar os cuidados de segurança.
Preparação inicial do barril
Fazer um fogão a partir de um barril com as próprias mãos é tão fácil quanto descascar peras. O primeiro passo é preparar nossa "fonte". Um barril com um volume de 200 litros deve ser limpo de tinta (se tiver sido pintado). Aqueles que negligenciarem essa etapa terão que inalar os aromas da tinta em chamas. Nosso objetivo é deixar o barril brilhante e ao mesmo tempo eliminar as manchas de ferrugem. Use um moedor para moer metal.
Na próxima etapa, arme-se com um moedor e corte cuidadosamente duas janelas retangulares no barril. Trabalhe com a ferramenta com cuidado, pois os retângulos serrados serão úteis para nós como portas. Processamos as bordas com o mesmo amolador ou lima para que não fiquem tão afiadas. A porta da fornalha deve ser maior do que a porta do cinzeiro. Além disso, a porta do cinzeiro servirá como um soprador.
Nós recolhemos a grade
Para a fabricação de uma grelha, use acessórios. O diâmetro de um barril padrão de 200 litros é 571,5 mm. Portanto, a rede deve ser menor em diâmetro para passar pelo volume interno. No nível entre a porta da fornalha e a porta do cinzeiro, fazemos projeções arbitrárias - a própria grade repousa sobre elas. Por exemplo, você pode fabricá-los com chapa de ferro e soldá-los nas paredes internas.
Um fogão de barril vai gerar uma grande quantidade de cinzas que caem no cinzeiro. Portanto, deve ser grande - a altura recomendada é de 100-130 mm. Não faça a porta muito estreita, caso contrário, haverá problemas com a facilidade de limpeza.
Nós preparamos as portas
As portas do nosso recuperador serão claramente menores do que as janelas de carregamento e cinza. Portanto, eles devem ser escaldados em todo o perímetro com peças de chapa de ferro de cerca de 20 mm de largura. Também recortamos puxadores em chapa de ferro, rebites ou aparafusamos nas portas. Na etapa seguinte, soldamos cuidadosamente as dobradiças, depois soldamos as portas do próprio fogão - agora nosso barril de 200 litros está quase pronto para servir uma segunda vida.
Fazendo a base


Para o nosso barril de 200 litros, é desejável fazer pernas. Para isso, adapte peças de reforço espesso ou faça-as com cantos de metal com espessura de 2-3 mm. A distância ideal do fundo do cano à base é de 100 mm.
Com a intenção de fazer um fogão de barril, pense no local de sua instalação. Você precisará de uma base confiável e não inflamável.É melhor fazer de tijolos ou despejar uma mesa de concreto. O espaço em frente ao fogão é feito de material incombustível - por exemplo, chapas de ferro colocadas aqui. Se o piso da sala aquecida for de concreto, coloque uma folha de ferro sobre ela e coloque um barril sobre ela.
Nós preparamos a chaminé
O desenho do recuperador a partir de um barril de 200 litros implica a presença obrigatória de uma chaminé. Seria bom se fosse removível - o sistema pipe-in-pipe é adequado para isso. Ou seja, soldamos um tubo de diâmetro menor com altura de 100-150 mm ao fogão, e já colocamos nele a chaminé principal de diâmetro maior. Você também pode usar chaminés dobráveis de fábrica prontas. Resumindo, o recuperador pode ser limpo rapidamente retirando-o da base - o volume de 200 litros não significa de forma alguma que nunca ficará entupido com fumo e fuligem.
Montagem final do forno
Pegamos nosso barril de 200 litros com as pernas soldadas e instalamos sobre uma base previamente preparada. Baixamos a grade por dentro. Na próxima etapa, soldamos a tampa superior com uma chaminé curta. Em seguida, colocamos nele a chaminé principal e vamos buscar lenha.
Coloque um pouco de papel e pequenas lascas na grelha, acenda o fogo, alcance uma chama constante. Agora comece a colocar a lenha principal - é melhor se estiver seca. Troncos molhados queimam pior, e até fumaça, entupindo a chaminé. Feche a porta da fornalha e ajuste a intensidade da combustão com o soprador. Não se esqueça de adicionar periodicamente novas porções de combustível até que a temperatura definida seja atingida.
Fogão de um barril de 200 litros: diagrama, desenhos, fotos, vídeo


Fogão caseiro em barril metálico de 200 litros: desenhos, diagrama do fogão, foto e
Um barril de metal padrão de 200 litros tem uma altura de 860 mm, um diâmetro de 590 mm e um peso de 20 a 26 kg.
As dimensões do barril são quase ideais para fazer um fogão a partir dele, a única ressalva são as paredes finas do barril 1 - 1,5 mm, que irão queimar rapidamente com a alta temperatura. Alternativamente, a fornalha pode ser forrada com tijolos refratários por dentro.
Para fazer uma fornalha, você precisará de:
- Dois barris de 200 litros.
- Porta do forno.
- Grizzlies.
- Chapa de metal, cantos e hastes.
- Tubo de chaminé.
- Tijolos refratários.
Ferramentas:
- Moedor com roda de corte.
- Máquina de solda.
- Furadeira elétrica.
Fogão de barril de 200 litros: diagrama.


Usando um moedor, cortamos a parte superior do barril e uma abertura lateral para a porta do forno.


Usando uma máquina de solda, soldamos a porta do forno ao barril. A uma altura de 20 cm do fundo do cano, instalamos grades para as cinzas.
Pode ser feita uma porta separada para o cinzeiro; abrindo ligeiramente, pode ajustar a força de tracção no forno.
Para evitar que as paredes de metal do barril queimem com o tempo, é necessário dispor a superfície interna da fornalha com tijolos refratários. Para ajustar os tijolos com mais firmeza, nós os cortamos com um moedor.


Para colocar o labirinto da chaminé, é necessário soldar a viga mestra dos cantos sob os tijolos.


Os tijolos são colocados na argamassa do forno. A composição da solução do forno é de 1 parte de argila para 2 partes de areia, a mistura é amassada com uma quantidade mínima de água até uma consistência muito espessa.
A espessura das juntas de alvenaria não deve exceder 5 mm.


Para aumentar a transferência de calor do forno, você pode instalar outro barril no topo. Sob a chaminé, você precisa fazer um furo no barril e soldar um pedaço de tubo sob a chaminé.


A chaminé terá de ser limpa periodicamente de fuligem, por isso é melhor torná-la dobrável, recomendo a leitura do artigo sobre como fazer uma chaminé para um fogão.
Modernização da estrutura
Um barril com um volume interno de 200 litros pode fornecer uma quantidade razoável de calor. Mas a eficiência da transferência de calor será pequena. Parte da energia térmica irá voar completamente para dentro do tubo. Portanto, o fogão precisa ser ligeiramente adaptado. Isso é feito das seguintes maneiras:


Essas etapas o ajudarão a tornar seu fogão de barril mais eficiente. Se você não encontrar uma amostra para 200 litros, pode levar 150 litros - haverá um pouco menos de espaço nela, então você terá que jogar a lenha com mais frequência.
- Paredes de tijolos estão sendo construídas à direita, à esquerda e atrás do barril - elas funcionarão como uma espécie de acumuladores de calor.
- O fogão é escaldado com tubos redondos de pequeno diâmetro (por exemplo, ¾ polegada) - forma-se um convetor, que fará com que o ar circule no ambiente e remova efetivamente o calor do fogão.
- Ao alongar a parte horizontal da chaminé - conduza-a por toda a divisão para obter o máximo de energia térmica dos produtos da combustão.
Vamos apresentar-lhe mais algumas ideias para modernizar o recuperador de um barril de 200 litros. Por exemplo, você pode dispor o interior dela com tijolos refratários. Para organizar a placa, use o encaixe de ferro fundido na tampa superior. Tente fazer um fogão com maior dissipação de calor - solde dois barris juntos em altura. Também existem modificações com barris horizontais.
Fogão de barril interessante com alvenaria de pedra
Um barril de 200 litros pode servir de base para outro fogão interessante - com alvenaria dentro. Para construí-lo, você precisará de:
- o próprio barril;
- fio de metal grosso ou reforço;
- grandes pedras arredondadas do rio;
- tubos de chaminé.
Não há cinzeiro em tal fogão, então haverá algumas dificuldades com a limpeza. Recomendamos de imediato colocar a porta da fornalha ao nível do fundo do tambor - é mais conveniente retirar as cinzas desta forma. Fazemos uma espécie de grelha de reforço ou arame de metal grosso. Só aqui cumprirá um papel diferente - servirá de suporte à alvenaria.
Para montar o fogão, é necessário cortar a tampa superior do barril de 200 litros e equipá-la com um tubo de ligação à chaminé. Na parte inferior, recortamos uma porta para o assentamento de lenha com uma altura de 150-200 mm. Fixamos uma grelha de 250 mm de altura, sobre a qual empilhamos pedras até o topo. Observe que são precisamente as pedras grandes que são necessárias para que os produtos da combustão passem pelo espaço entre elas.
O fogão precisará de uma base sólida não combustível com uma folha de metal na frente da fornalha - será bem pesado, então as pernas devem ser fortes ou ausentes. O barril é colocado na base antes de as pedras serem colocadas nele. Caso contrário, você não o moverá mais tarde. Depois de colocar o recuperador no seu lugar original, solde a tampa e ligue a chaminé - pode começar a acender. Para melhorar a tração, recomenda-se fazer vários furos com uma broca de 4-5 mm de diâmetro - o ar será aspirado por eles.
Com o início do frio, surge o problema de aquecimento das instalações. Isso é especialmente verdadeiro para casas de campo, que não têm aquecimento central. No entanto, qualquer dificuldade deve ser resolvida a tempo. No espaço pós-soviético, existe um fogão bem conhecido chamado "fogão de barriga". É feito de vários metais, mas às vezes são usados materiais de sucata. O artigo discutirá o processo de como fazer um fogão a partir de um barril com suas próprias mãos.
Firebox de um barril. Regras para instalação de fogão de sala
Para que não tenha problemas e todo o tipo de incómodos com o recuperador, deve instalá-lo respeitando algumas regras de segurança:
- O forno só deve ser instalado sobre uma superfície resistente ao fogo. É possível fazer você mesmo usando um ladrilho de um ladrilho ou usando um tijolo. As paredes localizadas nas proximidades do recuperador também devem ser protegidas contra sobreaquecimento. O melhor efeito pode ser obtido usando drywall especializado, bem como qualquer outro material não combustível;
- Nunca coloque materiais inflamáveis perto da fornalha;
- Deverá também equipar um excelente sistema de ventilação na divisão em que ficará instalada a salamandra.Este é um fator muito importante, pois a concentração de monóxido de carbono na sala deve ser reduzida a zero;
- Para fazer um fogão de barril, você precisa usar apenas material de alta qualidade.
Como você viu, fazer um fogão de barril é absolutamente simples. Para tal, necessita apenas de materiais à mão, que muitas vezes se encontram na garagem ou na cabana de quase todas as pessoas. O fogão vai encantar os olhos se todos os detalhes forem pensados ao mais ínfimo pormenor e executados com muito cuidado.
Fogão caseiro em barril metálico de 200 litros: desenhos, diagrama do fogão, foto e vídeo. O recuperador de calor pode ser utilizado para aquecer garagens, oficinas, estufas e outras áreas.
Um barril de metal padrão de 200 litros tem uma altura de 860 mm, um diâmetro de 590 mm e um peso de 20 a 26 kg.
As dimensões do barril são quase ideais para fazer um fogão a partir dele, a única ressalva são as paredes finas do barril 1 - 1,5 mm, que irão queimar rapidamente com a alta temperatura. Alternativamente, a fornalha pode ser forrada com tijolos refratários por dentro.
Para fazer uma fornalha, você precisará de:
- Dois barris de 200 litros.
- Porta do forno.
- Grizzlies.
- Chapa de metal, cantos e hastes.
- Tubo de chaminé.
- Tijolos refratários.
Ferramentas:
- Moedor com roda de corte.
- Máquina de solda.
- Furadeira elétrica.
Fogão de barril de 200 litros: diagrama.
Usando um moedor, cortamos a parte superior do barril e uma abertura lateral para a porta do forno.
Usando uma máquina de solda, soldamos a porta do forno ao barril. A uma altura de 20 cm do fundo do cano, instalamos grades para as cinzas.
Pode ser feita uma porta separada para o cinzeiro; abrindo ligeiramente, pode ajustar a força de tracção no forno.
Para evitar que as paredes de metal do barril queimem com o tempo, é necessário dispor a superfície interna da fornalha com tijolos refratários. Para ajustar os tijolos com mais firmeza, nós os cortamos com um moedor.
As vantagens de um dispositivo de aquecimento caseiro
Um fogão de fogão pode ser montado de vários materiais. Os artesãos deste negócio usam cilindros antigos ou chapas de metal, que são conectadas por meio de uma máquina de solda. No entanto, nem todos têm as coisas mencionadas, ainda mais por isso não é fácil soldar o metal corretamente. Além disso, será necessário comprar chapas de ferro e seu preço é alto. Por isso, os mestres recomendam fazer um fogão a partir de um barril de 200 litros. Este é um projeto barato e acessível a partir do qual um dispositivo de aquecimento de qualquer complexidade pode ser feito.
Por que é recomendável usar um barril desse tamanho? A resposta é esta: muita lenha ou outras matérias-primas cabem nele, com as quais você pode garantir uma queima a longo prazo. Além disso, há espaço suficiente no barril de metal para equipar um cinzeiro espaçoso. Porém, é preciso saber: o equipamento não pode ser aquecido a carvão, pois suas paredes irão simplesmente se deteriorar devido à alta temperatura de combustão das mencionadas matérias-primas.
Um recuperador de calor é um dispositivo de aquecimento ideal que pode ser instalado em um pequeno galpão, garagem ou porão. Além disso, você pode montá-lo rapidamente com suas próprias mãos. Você precisa saber: é permitido fazer um fogão a partir de um barril apenas com matérias-primas de alta qualidade - quanto mais grosso o metal, melhor será o dispositivo fabricado. Portanto, é recomendável não economizar no material de origem.
As vantagens de um fogão de barril são as seguintes:
- amplo cinzeiro;
- o volume é suficiente para uma longa queima da chama;
- o dispositivo aquecerá instantaneamente a sala;
- despretensão para abastecer;
- facilidade de fabricação e operação.
Mas também existem desvantagens, a saber:
- baixa eficiencia;
- a caixa fica muito quente;
- paredes finas.
Se você precisa fazer equipamentos de aquecimento com as próprias mãos, um fogão de barril é um dispositivo ideal para aquecer uma pequena sala.


Sobre construção
Antes de iniciar uma montagem independente, você precisa estudar como o dispositivo é construído e funciona. A compreensão do princípio de funcionamento ajuda a facilitar o processo de criação de um fogão improvisado.Além disso, o preço do combustível para um fogão de barril é mínimo e, portanto, se tornou ainda mais comum.
O diâmetro de um tambor de 200 l é de aproximadamente 600 mm. Se desejar, uma estrutura funcional é construída a partir dele - além do aquecimento, ficará linda no interior.
A capacidade do tanque de 200 litros permite colocar um hexágono com lados de 314 mm no interior. Então, em termos de tecnologia, essas unidades são semelhantes aos fornos clássicos.
O fogão acabado não tem uma eficiência elevada, é apenas 15%. Para melhorar a eficiência do trabalho, o design é complementado por uma tela. Este é um escudo reflexivo que ajuda a aumentar a eficiência, mas também tem um lado negativo. Uma tela que reflete o calor provoca uma diminuição no tempo de funcionamento de um fogão caseiro.
A principal razão para a baixa eficiência é a altura do tanque. Barris com capacidade para 200 litros e comprimento de 85 cm são geralmente feitos de metal muito fino - não mais do que 2 mm de espessura.
Se a grade é levantada devido à alta localização do soprador, a produtividade do dispositivo diminui. Isso se deve ao fato de que o ar é dissipado. Para eliminar o problema, é necessário ocultar o fundo do fogão com alvenaria.


Projeto da unidade
A vida útil dos fogões potbelly de barris é de 3-4 anos. Um grande número de ajustes são usados para aumentar a eficiência, mas ainda é impossível obter um retorno acima de 20%.
Materiais e ferramentas necessários
Antes de começar a montar o dispositivo, você precisa preparar os seguintes dispositivos de construção:
- moedor;
- moedor;
- máquina de solda;
- Arquivo;
- serra.
Para fazer um fogão a partir de um barril de metal, você também deve comprar os seguintes materiais adicionais:
- metal para pernas e chaminé;
- dobradiças de porta;
- pedaços de chapa de ferro;
- parafuso;
- reforço (para a rede);
- tijolo;
- cimento e areia (para argamassa).
Fazer um dispositivo de aquecimento com suas próprias mãos é uma tarefa fácil. O principal é seguir as condições técnicas e seguir rigorosamente as instruções.


Estágio inicial: preparação do barril
A primeira coisa a fazer é colocar o recipiente de metal em ordem. O cano é coberto com tinta, o que significa que esta camada deve ser removida com um esmeril. Se você negligenciar esse ponto, terá que inalar os aromas tóxicos que emanam do metal aquecido.
Depois disso, você precisa cortar cuidadosamente dois pequenos orifícios retangulares com um moedor. No futuro, os pedaços de metal recortados serão úteis para fazer portas. As arestas vivas do cano devem ser limadas. O dispositivo terá duas portas: para a fornalha e para o cinzeiro. O primeiro deve ser maior que o segundo.
Uma grelha será colocada dentro do fogão a partir do barril, de forma que a parte superior do recipiente seja totalmente removida. A tampa será posteriormente soldada com a chaminé.


Fogão de aquecimento simples de um barril de carregamento superior
Materiais e ferramentas usados pelo autor:
Lista de materiais:
- um barril com tampa; - Chapa de aço; - um pedaço de tubo quadrado para a fornalha; - chaminé (de uma loja de ferragens); - pintura resistente ao calor.
Lista de ferramentas:
- arma de rebite; - moedor; - máquina de solda; - furar; - fita métrica, marcador. Processo de fabricação do forno:
Passo um. Parte do topo
Toda a essência da fabricação do forno converge para uma única peça, que é instalada na tampa. Esta parte contém um tubo de ramificação para instalar uma chaminé, bem como uma fornalha.
Cortamos a base da peça em chapa de aço, abrimos orifícios para a fornalha e o cachimbo de fumaça.
Quanto ao cano fumeiro, o cano pode ser feito de chapa de aço para obter o diâmetro pretendido. Nós apenas fazemos uma série de cortes, dobramos a placa em um anel e soldamos. Também fazemos furos na tampa do cano nos locais apropriados.
Passo dois. Pintura e montagem
Para pintar o barril é preciso retirar a tinta velha, o autor decidiu derreter o fogão, funciona bem, mas o corpo do fogão não aqueceu a uma temperatura que a tinta pudesse queimar. Como resultado, o autor colocou a lenha diretamente no barril e a calcinou bem. Após a queima, a tinta pode ser facilmente removida usando um esmeril com escova de aço. Bem, então pintamos o barril com tinta resistente ao calor.
Passo três. Refinamento
Como modificação, uma parede divisória deve ser instalada dentro do cilindro para que os gases quentes atinjam a base e aqueçam todo o corpo do forno. A divisória é feita de chapa de aço e é removível.
Além disso, como decoração, você pode perfurar um símbolo ou uma inscrição que brilhará no escuro quando o fogão estiver aceso.
Isso completa o projeto, o produto caseiro acabou se revelando simples e eficaz, na parte superior do fogão é possível esquentar algo ou fritar ovos por completo. Boa sorte e inspiração criativa se você decidir fazer isso novamente. Não se esqueça de compartilhar suas ideias e produtos caseiros conosco!
Fonte
Torne-se um autor do site, publique seus próprios artigos, descrições de produtos caseiros com pagamento por texto. Mais detalhes aqui.
Preparando as portas
Este processo é uma etapa importante na fabricação de um dispositivo de aquecimento. Em primeiro lugar, é necessário fazer puxadores de ferro e soldá-los às portas, que devem ser escaldadas com peças de metal cuja espessura é de 20 mm. Recomenda-se usar a porta de fábrica para este propósito.
O próximo passo é soldar dobradiças de aço ao fogão de um barril antigo usando solda elétrica. Não se esqueça que o exterior da porta deve ser equipado com um dispositivo de bloqueio (fechadura).


Preparação da base
Antes de instalar o forno, deve-se providenciar um local seguro e não combustível para ele. Essa base pode ser feita de tijolos colocados em uma mesa de concreto. É importante saber: o espaço livre na frente do cano também é feito de material incombustível, por exemplo, chapa. A melhor opção é fazer pisos de concreto, passar ferro e instalar um fogão.
Sob nenhuma circunstância o barril deve ser colocado perto de materiais inflamáveis e objetos explosivos. Os primeiros incluem linóleo, poliestireno, espuma de poliuretano e betume. E para o segundo - cilindros de gás e latas de gasolina.
Os artesãos recomendam fazer pernas de aço no fogão a partir de um barril. Para fazer isso, você precisa de reforço ou cantos de metal. Se o fundo do tambor estiver a uma distância de 10 cm do chão, o dispositivo está localizado a uma distância segura da base.
Fabricação de chaminés
Um cachimbo é um elemento indispensável de um fogão de barril. Seu diâmetro varia de 10 a 15 cm.O tubo não só remove a fumaça, mas também participa da transferência de calor, por isso é feito de aço ou ferro fundido.
O tubo de ramal pode ser posicionado tanto na parte superior quanto na lateral do forno. No entanto, é a última opção considerada ótima: desta forma, os gases diminuem a velocidade e há espaço para organizar a unidade de infusão.
Para que a sala aqueça mais rápido, o tubo deve ser levado para um ponto distante, e não em linha reta até o buraco mais próximo. Recomenda-se a instalação de um amortecedor na chaminé: este elemento pode ser utilizado para regular a evacuação dos fumos quentes. Além disso, quando a estufa não estiver em uso, recomenda-se desligar o cano fumeiro.


Montagem final do forno
A única coisa que resta a fazer é transferir o barril para a base de tijolos preparada. Em seguida, instale a grelha no fogão. Em seguida, você precisa soldar a tampa superior e fazer um furo nela para o tubo. Quando a chaminé é instalada, você pode aquecer o fogão com lenha.
O próximo passo é colocar o papel na grade e colocar fogo. A lenha seca deve ser colocada com cuidado, pois existe uma grande probabilidade de se queimar acidentalmente. O forno de barril vai aquecer gradualmente. A seguir, basta jogar a lenha para o alto para que a chama não se apague.
O soprador do dispositivo pode ficar entupido com cinzas, por isso deve ser limpo periodicamente de matérias-primas queimadas.
Como melhorar o forno: as melhores opções
Muitas vezes surge a questão de como fazer um fogão a partir de um barril mais modernizado. Para fazer isso, o dispositivo deve ser melhorado desta forma:
- Construa uma parede de tijolos refratários à direita, esquerda e atrás do barril.
- Para obter uma espécie de convetor, o fogão deve ser escaldado com tubos redondos de 20 mm. Graças a isso, o ar quente circula na sala.
- Execute a chaminé em toda a sala.
- Arrume o interior do fogão com tijolos.
- Para obter um fogão para cozinhar, uma inserção de ferro fundido deve ser instalada na tampa.
Os artesãos recomendam combinar vários barris em um único design. Isso pode ser feito verticalmente e horizontalmente.


Forno de longa duração para garagem
Este dispositivo é uma boa solução se você precisar aquecer uma pequena sala usando uma quantidade mínima de lenha. Se surgir a questão de como fazer um fogão para garagem a partir de um barril, isso exigirá uma máquina de solda e a habilidade de trabalhar com ela.
Para fazer um dispositivo de aquecimento com suas próprias mãos, você precisa realizar o seguinte trabalho simples:
- Faça um furo para a janela de carregamento.
- Faça um círculo na folha de metal, cuja espessura deve ser de pelo menos 4 mm. Depois disso, faça uma janela de 10 cm para a chaminé nela.
- Solde um tubo de aço no círculo resultante e 4 canais em seu lado interno.
- Abaixe a estrutura fabricada no barril.
- Solde a tampa cortada, no meio da qual faça um orifício de 10 cm para o tubo.
- Faça uma base de concreto ou tijolo sobre a qual o fogão ficará.
- Solde todos os elementos estruturais ao cano: portas, dobradiças e travas.
- Instale uma chaminé.
- Coloque o dispositivo em uma base de concreto.
A peculiaridade desse projeto é que a madeira nele não queima, mas arde sem chama. Além disso, um círculo com um tubo e canais instalados dentro do barril desce conforme a matéria-prima queima. A principal vantagem deste recuperador de calor é que não necessita de controlar o funcionamento do aparelho: funciona de forma quase autónoma, pelo que o metal vai aquecendo gradualmente. A única coisa a fazer é derreter o fogão.
Como e de que fazer um fogão você mesmo
Os fogões modernos parecem apresentáveis e elegantes, mas não são baratos. Você mesmo pode fazer esse dispositivo de aquecimento - para isso, você só precisa de ferramentas, o desejo de criar um dispositivo de aquecimento com suas próprias mãos e inspiração criativa.
Fogão potbelly de um barril de 200 litros
Vamos começar fazendo o fogão de aquecimento horizontal mais simples de um barril


Este é um barril de metal comum de 200 litros, e além dele existem tubos de metal com diâmetro de 50 centímetros
- Uma parte recortada da parte inferior é usada como porta, que é articulada
- No final do barril, é feito um furo ao qual é soldado um tubo de metal - esta será uma chaminé para um fogão
- Uma grelha é colocada dentro do barril - ela vai proteger o fundo de queimar e vai ajudar o fogão a se manter aquecido por mais tempo
- Um grosso fio de aço pode ser soldado no topo do barril - você obtém um fogão em que uma chaleira ou frigideira é colocada
Tudo é bastante simples. Esse modelo é ideal para uma casa particular, trabalhará com madeira e aparas e pode aquecer cerca de 100 quadrados de área.
Fazendo um fogão a partir de um cilindro
Esse fogão é feito sem fogão e é uma boa opção de aquecimento portátil.


Outra opção prática é um fogão de barrilete de botijão de gás.
Vamos examinar mais de perto o processo de sua execução horizontal.
- No fundo do futuro fogão de barril, você precisa fazer furos para ejeção de cinzas. Perfure ao longo de todo o comprimento das linhas 5-6 de largura
- Em seguida, você precisa fazer um cinzeiro com uma porta de uma folha de metal e soldá-lo ao fundo do cilindro
- Agora você pode soldar nas pernas e colocar o fogão
- O fundo do tanque mudou - agora é a frente do fogão. O fundo deve ser recortado e feito dele uma porta, que é instalada nas dobradiças soldadas
- Em seguida, você precisa fazer uma chaminé - o tubo pode ser soldado por cima ou posicionado atrás do cilindro
Este tipo de fogão de barril será uma boa opção para garagem, pode aquecer todos os 30 quadrados, e um cinzeiro caseiro permitirá manter a garagem limpa.
O dispositivo do modelo no "trabalho off"
Outra opção de fogão, que geralmente é instalado em uma pequena garagem ou despensa, é um fogão a óleo usado. É claro que ela usa óleo para aquecimento, que é despejado no tanque inferior da fornalha e aceso.


Se você tem uma pequena garagem ou despensa que precisa de aquecimento, observe como fazer esse fogão.
- O tanque de combustível é feito de folhas de metal - todos os elementos devem ser cortados
- Na parte superior do tanque feito, são necessários dois furos - para reabastecimento e para um tubo. O primeiro orifício deve ter uma tampa deslizante
- O tanque acabou - você pode soldar nas pernas
- Em seguida, você precisa soldar o tubo em um grande orifício, tendo feito pequenas ranhuras nele - o ar passará por eles
O principal é observar as proporções e lembrar que a tampa do tanque superior deve ser removível, e também vale a pena fazer um furo nela para a chaminé, que ficará exposta na rua.
Por isso, se você escolher um fogão de barrilete pronto, preste atenção na sua "gula" e na sua aparência. Se você só precisa de um fogão por alguns meses, um modelo simples dobrável é suficiente. Para uma casa privada e com aquecimento constante, vale a pena procurar uma lareira ou um potente gerador a gás. Se suas mãos, como dizem, “crescem dos ombros”, você pode construir um fogão de barril comum ou cilindro de propano.
O princípio de funcionamento de um fogão de barril
Um fogão de barris é muito semelhante ao tipo de burzhuikas que imaginamos perfeitamente. No entanto, não tem produção em série. Esta estrutura é puramente criação de mestres autodidatas. Entre outras coisas, o fogão modernizado tem uma forma redonda e parece um fogão de metal "Slobozhanka".
A aparência do fogão mais simples de barril, no entanto, tem um grande número de desvantagens
A principal diferença entre eles é a opção de combustão do combustível. Utiliza serragem de madeira pelos seguintes motivos:
- se você aquecer um fogãozinho com esse combustível, fica bem econômico devido ao baixo custo desse tipo de combustível;
- A serragem, que antes era comprimida, queima por muito tempo.Uma carga pode ser suficiente para 6 a 10 horas para tal projeto.
Princípio da Operação
Os fornos de barril, ou os chamados "fogões potbelly" - são projetos de produção não em série, mas bastante eficientes no aquecimento e disponíveis em operação.
O fogão de aquecimento exterior primitivo de um barril tem uma lareira morta e, como regra, tem um diâmetro padrão de 60 cm.
Em um design simples, qualquer combustível sólido disponível pode ser usado, incluindo lenha comum, aparas de madeira e serragem, galhos.
Devido ao seu tamanho pequeno e peso relativamente baixo, esse forno é caracterizado por sua mobilidade suficiente.
Para uma operação segura, é necessário remover as cinzas periodicamente, bem como limpar o interior da estrutura do acúmulo de fuligem. Apesar do acúmulo insignificante de energia térmica, uma base do tipo não combustível de alta qualidade é necessariamente equipada com um barril.
Entre outras coisas, a fim de fornecer uma tiragem normal para o processo de combustão do combustível, é necessário instalar uma chaminé suficientemente alta. A principal desvantagem do princípio de funcionamento de um forno feito de barril é a necessidade de controlar o processo de combustão, caso contrário, é possível a tiragem reversa ou fumaça forte do ambiente.
A eficiência do forno a partir do barril raramente excede 10-15%, mas com alguma modernização do projeto, tais indicadores podem ser aumentados em quase duas ou três vezes.
Fazendo um fogão de fogão
Quando chega um determinado momento, muitas pessoas se perguntam como um fogão de barril deve ser feito com as próprias mãos. E, em geral, como fazer um fogão de barril de 200 litros.
O fogão é feito em diferentes tamanhos e formas. Pode ser redondo e quadrado, vertical e horizontal. Tudo depende apenas da sua imaginação.
Observação. Para descobrir como funciona um fogão de barril feito por suas próprias mãos, você não precisa inventar nada. O princípio de operação é muito simples.
Diagrama de um fogão em forma de barril na posição horizontal
Fogões horizontais são considerados mais simples do que fogões verticais. Em tal fogão, uma parte do fundo é fixada no lugar da porta, que é cortada. Ela se senta nas dobradiças. Na extremidade oposta do barril é feito um orifício, ao qual deve ser fixado um tubo de metal, que será a chaminé desse fogão. Em seguida, coloque uma grelha no meio do barril. Ele desempenha um papel importante, pois ajuda a reter o calor por mais tempo, e também protege o chamado fundo de queimar. Se existe uma grande vontade de criar uma placa, basta soldar um fio de aço de grande espessura.
Você quer construir um fogão de tijolos com suas próprias mãos? Veja instruções detalhadas em nosso site!
Observação. O modelo horizontal é perfeito para uma casa particular, podendo aquecer cerca de cem metros quadrados.
Um exemplo de fogão em posição vertical
Antes de começar a trabalhar, você precisa preparar alguma ferramenta. Para começar, é melhor estocar uma máquina de solda, bem como um conjunto completo de roupas para trabalhar com ela, uma esmerilhadeira, rebolos de esmerilhamento e corte, um martelo, uma escova de metal, alicate, fita métrica e uma furadeira .
Dica: Antes de iniciar a produção do fogão, os barris devem ser bem lavados, pois quando aquecidos, é possível que saia fumaça ruim, que dependerá apenas do que havia no recipiente antes de usá-lo nesta matéria.
No nível necessário no barril, você deve primeiro marcar e, em seguida, cortar dois orifícios retangulares que servirão para o cinzeiro e a fornalha.
Um diagrama aproximado de um fogão em posição vertical
As peças que sobraram após o corte não devem ser jogadas fora, pois podem posteriormente ser utilizadas para fazer a porta. Para que a porta fique completa, tiras de metal são fixadas nela e, em seguida, é colocada uma trava especial com uma maçaneta.
Em seguida, no interior do cano, logo abaixo da fornalha, são fixados suportes tipo esquina não mais que 10 cm, que servirão posteriormente para assentamento da grelha.
Para a fabricação da grelha, são usados acessórios comuns. Você precisa cozinhar você mesmo.
É melhor soldar as pernas no fundo do barril, mas na parte superior você precisa fazer um furo para a futura chaminé e soldar um cano nela.
Diagrama de barris verticais de um barril
A porta é instalada nas dobradiças previamente fixadas. Somente após a instalação da porta, um gancho para a fechadura é fixado.
Se pretende obter um aspecto mais estético para o seu recuperador, então vale a pena limpar cuidadosamente todas as soldaduras. A tinta resistente ao calor é adequada para pintura, após a aplicação a sua estufa ficará praticamente indistinguível da de fábrica.
Após a conclusão de todas as obras, o recuperador é ligado diretamente à chaminé, que já foi retirada para a rua.
Adendo. Como a fornalha de um fogão comum provavelmente não durará muito, ao fazer um fogão de barrilete com serragem, em vez de uma câmara de combustão, você pode construir um tubo de metal de diâmetro adequado.
O dispositivo de um fogão vertical de barril
Como fazer um fogão "faça você mesmo" de barril
Provavelmente mais de uma pessoa pergunta como fazer um fogão com as próprias mãos? e como fazer um fogão de barriga corretamente?
Um fogão "faça você mesmo" é um forno pequeno, feito de folhas de metal. Esse fogão pode aquecer uma sala muito rapidamente (se não for muito grande), mas esfria com a mesma rapidez depois que o combustível para de queimar.
Se falamos de sua forma, então podem ser muito diferentes (redondos, quadrados, retangulares, cônicos ou em forma de algo), depende da imaginação de quem os faz.
Mas neste artigo vamos nos concentrar em um fogão hexagonal de barril. Você já se perguntou como fazer um fogão de barril?
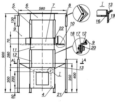
1 - invólucro (barril); 2 - tampa do tanque de combustível; 3 - tubo de saída; 4 - tampa do compartimento do forro; 5 - alça da tampa; 6 - forno; 7 - amortecedor; 8 - fornalha; 9 - compartimento de sopro (cinzeiro); 10 - tijolos de suporte; 11 - almofada de feltro; 12 - folha de metal.
Na foto você pode ver um fogão de barril, no desenvolvimento do qual foram usados materiais disponíveis ao público. Em primeiro lugar, precisávamos de um barril, cuja capacidade é de 200 litros, a altura do barril é 850 mm, e o diâmetro é de 600 milímetros. Um hexágono pode caber facilmente em tal barril, cujo lado é igual a 290-300 mm... Isso torna possível instalar dispositivos de forno padrão praticamente sem trabalho adicional.
Esse fogão é muito diferente de muitos fogões caseiros da mesma classe. É diferente no seguinte:
- o fogão tem uma fornalha volumosa;
- possui área aumentada devido ao fato da câmara de combustão do combustível ser hexagonal;
- bandeja de cinzas volumétrica com regulador de ar;
- forno volumétrico com forro;
- o forno fica aquecido por muito tempo.
Além disso, este recuperador tem um bom efeito de convecção - é a transferência de calor pelo ar que passa pelos canais entre o bloco de combustível e a caixa.
Fogão faça você mesmo - procedimento de montagem
Faremos o cozimento do bloco de combustível, portanto, para evitar erros, é necessário fazer um gabarito que possa ser recortado em papel grosso (papelão) ou compensado. Bloco de combustível


1 - forno; 2 - compartimento do forro; 3 - o corpo do tanque de combustível; 4 - painel frontal do compartimento do soprador; 5 - esquina da moldura da porta do forno; 6 - placa superior do compartimento do forro; 7 - nicho de forro; 8 - batente superior; 9 - painel lateral do corpo do bloco de combustível; 10 - haste de suporte; 11 - placa intermediária; 12 - canto da moldura da porta da fornalha; 13, 14, 15 - placas de fundo da fornalha; 16 - sela de grelha; 17 - junta de amianto; 18 - concha da porta;


19 - parede lateral do cinzeiro; 20 - ferrolho para fixação da porta; 21 - rack inferior; 22 - suporte de fixação do amortecedor.
O gabarito deve ter a forma de um hexágono regular, cujos lados são iguais a 290 milímetros. Depois de fazer um gabarito, você não terá problemas com a montagem, basta montar tudo de acordo com o gabarito, ganhar dinheiro e você pode começar a soldar.
A seguir, de acordo com os desenhos elaborados, cozinhamos:
- forno;
- compartimento de forro;
- compartimento do soprador.
Compartimento de forro
1 - fundo; 2 - parede lateral; 3 - parede posterior; 4 - inserção diagonal.
Forno
1 - caixa do forno; 2 - suportes.
Compartimento do soprador
1 - parede lateral do cinzeiro; 2 - a parede posterior do cinzeiro; 3 - sela de grelha; 4 - painel frontal do compartimento do soprador; 5 - moldura para fixação da porta do soprador; 6 - fundo do cinzeiro.
Painel frontal
Em primeiro lugar, instalamos e soldamos o compartimento do soprador, para o qual as placas foram preparadas previamente de acordo com os gabaritos.
Fazemos furos com um diâmetro 10-12 mm para instalar a haste de suporte, soldar cuidadosamente os pontos de fixação do compartimento. Também soldamos uma placa intermediária, cujas dimensões são - 285x70 mm... Fazemos isso de forma que sua borda superior coincida com o nível superior da barra.
A seguir, instalamos o compartimento do forro na haste com a placa, alinhamos o lado mais estreito do seu fundo com todas as nervuras dos painéis laterais do nosso corpo e soldamos todas as juntas necessárias com uma costura contínua. À placa com a borda superior do painel frontal do compartimento do soprador, soldamos faixas horizontais, cujo comprimento é de 290 mm, e os cantos - 215 milímetros, de modo a formar uma moldura para fixação da porta de combustão, cujo interior tamanho é 255x215 mm... Instalamos o forno no compartimento do forro, soldamos os cantos laterais com 215 mm de comprimento e, em seguida, a placa superior do compartimento do forro.
Depois disso, soldamos a tampa da fornalha à parte superior saliente do compartimento de forro com painéis laterais. E na tampa desse bloco de combustível soldamos um pequeno pedaço de tubo, cujo diâmetro é de 100 milímetros. Em seguida, de acordo com o desenho, soldamos os batentes superiores com as escoras inferiores do bloco. Fazemos racks de cantos medindo 20x20x4 milímetros ou uma haste com um diâmetro 10-12 milímetros.
Depois de terminar o trabalho de fabricação do bloco de combustível (fornalha), refine o barril. Ou seja, para começar, procedemos ao corte ou corte da parte superior inferior do cano. Na parte cilíndrica do cano, de cima para baixo, corte uma tira de 300 milímetros de largura para que esta tira não atinja o fundo do cano em 50 milímetros. Nos locais dos supostos canais de convecção, durante a instalação do bloco de combustível no barril preparado, são feitos orifícios (orifícios) em seu fundo, cuja área total é de - 5-6 decímetros Praça.
Quando o bloco de combustível já estiver instalado no barril, procedemos à crimpagem, crimpamos as bordas do recorte ao longo das bordas do bloco e soldamos a ele.
Dispositivo regulador de corrente:
1 - porta do soprador; 2 - maçaneta de travamento da porta; 3 - alça para girar a válvula do soprador; 4 - válvula de gaveta; 5 - porca, contraporca do punho giratório.
Antes de prosseguir com a instalação do compartimento do soprador no bloco de combustível, modificamos a porta do soprador de acordo com o dispositivo regulador de tiragem, ou seja, fazemos todas as peças, fazemos furos com diâmetro de 35 milímetros na porta e dois de os mesmos orifícios na válvula.
Em seguida, instalamos as portas no bloco de combustível e após instalá-las colocamos três tijolos (refratários) no nicho de forro, e a seguir fechamos com uma aba, preenchemos o espaço entre o nicho de forro e o forno com lascas de granito. Granito
A migalha deve ser frações de 15-20 milímetros. Você também pode usar chips de produtos de cerâmica:
- banhos;
- banheiros;
- lavatórios, etc.
Feche o backfill com uma tampa removível - a tampa do compartimento de revestimento.
Se for necessário substituir o forro, para isso retiramos os tijolos e retiramos as lascas pelo nicho, e a seguir preenchemos o compartimento do forro com um novo forro.
Antes de instalar esse tipo de recuperador de calor em um local permanente, colocamos feltro sob ele - isso é necessário para a segurança contra incêndio.O feltro deve primeiro ser impregnado com argila. Depois de colocar a bola de feltro, cubra-a com uma folha de pré-forno.
Os principais dispositivos e materiais usados para a fabricação de fogões de barrilete
| Materiais e dispositivos | quantidade | |
| Folha do painel lateral da carcaça do bloco de combustível 550x290 mm. | 5 | |
| Folha hexagonal com um lado de 300 mm. | 1 | |
| A folha é triangular com lados iguais de 325 mm. | 6 | |
| Conjunto de folhas de compartimento de forro | 400x380 mm. | 1 |
| 350x250 mm. | 2 | |
| 350x280 mm. | 1 | |
| 350x80 mm. | 2 | |
| Conjunto de folhas de forno | 400x280 mm | 2 |
| 350x280 mm. | 2 | |
| 280x220 mm. | 1 | |
| Conjunto de folha de cinza | 400x200 mm. | 2 |
| 400x210 mm. | 1 | |
| 210x200 mm. | 1 | |
| 290x90 mm. | 1 | |
| Folha do pré-forno 800x1000x (0,8-1,5) mm. | 1 | |
| Canto de aço 50x32x4 (40x40x4) mm, comprimento total 1000 mm. | 1 | |
| Tira de aço 50x4 (40x4) mm., Comprimento total 1500 mm. | 1 | |
| Grizzly grelha 300x200 mm. | 1 | |
| Porta do forno 250x210 mm. | 2 | |
| Porta de sopro 140x140 mm. | 1 | |
| Tecido de amianto com 2.000 mm de comprimento e 40 mm de largura. | 1 | |
| Feltro 800x1000x10 mm. | 1 | |
Além de tudo isso, serão necessários mais alguns tijolos para instalar o forno na placa do pré-forno e 3 tijolos (refratários) para forrar o fundo do forno. Você também precisará de parafusos: M8 ou M6que você usará para conectar as portas do forno (aparelhos) aos encaixes do bloco de combustível.












































