Използва се за готвене разнообразен асортимент от хлебни изделия: рула, питки, пайове, сладки ястия и дори пица.
Пещите са идеални за оптимизиране на работата широкомащабно производство и за домашна употреба.
Однокласници
Изисквания за фурни за печене на хляб

Основни изисквания за устройства, предназначени за печене:
- огнеустойчивост;
- стегнатост;
- топлоизолация;
- механични сила;
- рентабилност;
- хигиена;
- скорост на готвене продукти;
- ергономичност;
- естетика.
Конструкции и проектиране на електрически пещи
| 2.1 Електрическа верига за електродугова пещ |
Големите електрически дъгови пещи са мощен потребител на електроенергия, поради което електрическите дъгови пещи са включени в енергийни системи, които обединяват няколко електроцентрали.
За да се намалят загубите в електропроводите, към подстанциите за понижаване на цеха се подава енергия с високо напрежение (35-110 kV). Това напрежение от високоволтовото разпределително устройство се подава през линията, индивидуална за всяка пещ, към подстанцията на пещта, в която се намира трансформаторът за понижаване на пещта и спомагателното оборудване. След понижаване на напрежението до 110-600 V, токът се подава директно към електрическата пещ. Силата на тока в този участък от електрическата верига достига десетки хиляди ампери, в резултат на което се получават значителни загуби на мощност в участъка от пещния трансформатор до електродите. За да се намалят тези загуби, подстанцията на пещта се доближава възможно най-близо до пещта, а участъкът на веригата от трансформатора до електродите се прави възможно най-кратък, поради което този участък се нарича късата мрежа на пещта. По този начин електрическата схема на електрическите дъгови пещи включва следното оборудване:
- пещ с електроди, изпълнителни механизми на регулаторите на мощността на пещта и вана с разтопен метал;
- понижаващи трансформатори, заедно с които се поставят дросели;
- къса мрежа, свързваща вторичната намотка на трансформатора с електродите на пещта;
- комутационно, измервателно и защитно оборудване.
Фигура 2.1.
Електрическа схема на пещта [3]
Легенда: 1 - въздушен разединител, 2 - главен превключвател, 3 - дросел, 4 - ключ, шунтов дросел, 5 - пещен трансформатор, 6 - резервоар за трансформаторно масло; 7 - медни шини с ниско напрежение, 8 - гъвкави кабели, 9 - тръбопроводни тръбопроводи с водно охлаждане към държачи на електроди, 10 - дъгова пещ
Фигура 2.2
Еднолинейна блок-схема на захранването на дъговата пещ;
Легенда: KV - кабелен салник, VV - вход за въздух, R - разединител за високо напрежение, VT - трансформатор на напрежение, VM - превключвател на захранването, TT - токов трансформатор, Dr - дросел, ШВ - шунтов превключвател, PT - трансформатор на пещ, PSN - напрежение стъпков превключвател, - превключвател звезда-триъгълник, EP - електрическа пещ, 3 - земя
В тази схема захранването от високоволтовата линия се подава през кабела или въздушния вход. Кабелната втулка (KB) се използва за напрежения до 35 kV. При по-високи напрежения се използва вход за въздух (BB).
Високоволтовият разединител P може да работи само след изключване на пещния трансформатор PT с превключвателя на захранването VM.
Измервателните трансформатори за напрежение VT и ток CT се използват за понижаване на напрежението и тока до стойностите, за които са проектирани измервателните уреди и друго оборудване (обикновено до 100 V и до 5 A).
Превключвателят за захранване VM е едно от най-критичните устройства в електрическата част на пещта. Работейки автоматично, той трябва незабавно (0,1-0,15 s) да изключи устройството в случай на аварийно късо съединение на страната с високо напрежение или след зададено закъснение (3-5 s) да изключи устройството в случай на работа късо съединение на електроди с метал в пещта. Освен това с негова помощ се извършва цялото оперативно включване и изключване на инсталацията по време на нейната работа.
Дроселът Др е предназначен за ограничаване на оперативните токове на късо съединение и за осигуряване на непрекъснато изгаряне на дъги. След прекратяване на големите пускови токове по време на топене на заряда, дроселът се шунтира от превключвателя ШВ. В големи пещи със значително индуктивно съпротивление не се използва дросел.
Пещният трансформатор PT понижава високото напрежение до стойностите, необходими по време на процеса на топене. Всички превключвания на намотките на трансформатора се извършват от страната с високо напрежение, тъй като в този случай силата на тока е по-малка и съответно размерите на контактните елементи са по-малки. Превключвателят превключва трифазните намотки за високо напрежение от връзката "делта" към веригата "звезда", докато напрежението на вторичните намотки на трансформатора се намалява в пъти. Превключването на вторичните етапи на напрежение се постига чрез намаляване на броя включени обороти на намотки с високо напрежение с помощта на PSN превключвателя. В големите пещи превключването на трансформатора се извършва под товар.
| 2.1 Електрическа верига за електродугова пещ |
Видове фурни за печене. Защо е предпочитано изгарянето на дърва?
Гамата от устройства е доста широка:
- Палубна пекарна. От него се правят обикновен хляб и други сладкиши, най-често от ръжено и пшенично брашно. Неговата структура се състои от няколко нива, към които се подава топлина.
- Огнище. Използва се за приготвяне на сладкиши и изделия от тесто с мая. Най-често се среща в ресторанти или в производството. Дизайнерската особеност е наличието на огнища, по които се движат заготовките, което осигурява равномерно изпичане.


Снимка 1. Пещ модулна хлебна фурна от серия E от производителя Salva. Оборудван с три камери.
- Конвекция. В него се готвят не само традиционни хлебни изделия, но и риба и месо. Устройството работи на принципа на конвекция. Използва се както за промишлени, така и за битови цели. Доста лесен за работа.
- Тунел. Те се използват широко в голямо непрекъснато производство. Бисквитки, кифлички, хляб. Оборудван със системи за самопочистване и подаване на масло.
- Електрическа фурна за фурна. Той е най-рентабилен и икономичен. Предназначен за печене на огромна гама от продукти и готвене на рибни и месни ястия. Автоматично поддържа оптималната температура на печене.
- Ротационен. Проектиран изключително за сладкарски изделия. Основните видове тесто за такива конструкции са мая, замразено и масло. Принципът на действие се основава на ротационна циркулация на горещ въздух.


Снимка 2. Процесът на зареждане на партида хляб в голяма ротационна фурна от производителя ENKOMAK.
- Изгаряне на дърва. Продуктите в него са импрегнирани с аромата на дърва за огрев, което увеличава цената на крайните продукти. Най-икономичният, издържа на най-високите температури. Счита се за екологично чист. Работи върху дърво и има много предимства.
Ползи фурни на дърва:
- даване естествен аромат дим до крайния продукт;
- запазване на изпълнението в областта при липса на електричество;
- енергичен конкурентоспособност.
Домовете най-често използват обикновени електрически устройства или такива за изгаряне на дърва.


Снимка 3.В двора може да се монтира фурна на дърва за печене на хляб, тя е по-мобилна от електрическа.
Характеристики на електрическата верига на съпротивителната пещ
Като се имат предвид електрическите вериги на съпротивителните пещи, могат да се разграничат два вида оборудване. Основната разлика е начинът на въздействие върху обработените проби:
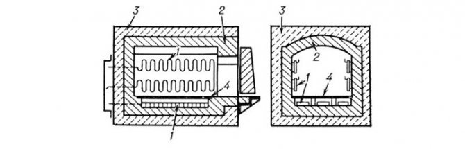
1. Индиректно нагряване... Устройствата са подходящи за топене на метали и други неща. Структурата се състои от:
- Нагревателни части (№ 1).
- Подплата (No2).
- Топлоизолационен слой (№ 3).
- Топлоустойчиво огнище (№ 4).
Индиректно нагрята конструкция на съпротивителна пещ


2. Директно нагряване... Електричеството се превръща в топлина директно в нагрятия продукт. Това ви позволява да достигнете желаната температура за кратко време. Можете да видите дизайна на такова оборудване по-долу, където:
- Образец за обработка (№ 1).
- Понижаващ трансформатор (№ 2).
- Контакти (No3 и No4).
Дизайн на пещ с директно съпротивление на нагряване


Муфелни пещи за изпичане на керамика, бижута, мини и други модели с муфел се използват за:
- Претопяване на ценни метали.
- Остаряващи повърхности.
- Изстрелване на стъкло и керамика.
- Сушилни материали с висока топлопроводимост.
Уред за печка на дърва
Печката на дърва трябва да има комин, което ще осигури отстраняването на газове. Тя мощност зависи от размера и консумацията на енергия. Пожарът засяга покритието на самото устройство, което отделя топлина на храната.
Важно! Той е удобен не само за създаване на печени изделия, но и за отопление помещения.
Основните елементи на устройството:
- нагревателен елемент;
- прозорец;
- лента или конвейер за продукти;
- парен овлажнител;
- комин.
Гориво
Главно дървонатиснат палети, гориво брикети или торф... Предимството на дървата за огрев е дългосрочното им запазване на топлината, дългосрочната подкрепа на горивния процес и екологичността.
Общи строителни правила
Процесът на изграждане на фурна за приготвяне на хляб не е особено труден, но всички стъпки се извършват последователно. В началния етап на строителството е важно бъдещият собственик на печката да очертае общите размери на сградата, вратата на пещта, а също и да вземе решение за камерата за хляб, с нейните обеми и капацитет. Втората важна стъпка е изграждането на схема за поръчка. В зависимост от начина на полагане на зидарията, външният вид и работата на пещта ще зависи. Поръчката е описана подробно в диаграмите, които не е трудно да се намерят и още повече да се разбере структурата на работата според чертежите.
Важна част при изграждането на пещ е изчисляването на разхода на използваните материали.
Основни препоръки за избор


Когато избирате печка на дърва, трябва да разберете цели на експлоатацияи уред: промишлен или домашен.
Изберете по-лека и по-компактна версия, ако готвите за семейството... Малко вероятно е да се нуждаете от количеството продукти, които например произвежда тунелна фурна.
Обърни внимание на кухненска част... Някои устройства заемат много място поради техния размер и възможността за свързване на комин.
В зависимост от вида на фурната, тя може да готви не само хляб, пица, пайове и сладкиши, но и първи, втори ястия, риба или месо.
Видове тухлени фурни
Електрически устройства
Хлебните фурни обикновено се разделят на няколко разновидности, в зависимост от структурата и допълнителните характеристики. Смята се, че този вид конструкция е най-рентабилната и удобна за използване. Удобно е да използвате електрически фурни у дома, а процесът на готвене не отнема много време, принципът на работа е същият като този на мултикукър. Необходимо е да изберете желаната програма и да излеете съставките в купата, след определен период от време, вземете готовия продукт.
Уреди за изгаряне на дърва
Този тип е особено подходящ за райони, където има проблеми с доставката на електричество и всички готвене и отопление се случват поради конструкции, които се изстрелват при доставяне на дърва за огрев. Хлебната фурна на дърва има следните положителни моменти:
- осигурява уникален вкус и аромат на прясно изпечен хляб със закваска;
- способността да се пекат кифлички и хляб на големи партиди;
- други ястия също се приготвят в фурни за хляб;
- размерите на конструкцията за изгаряне на дърва, като правило, не са много големи, така че тя може да бъде построена на всяко удобно място.
Тухлени устройства


Това е идеален вариант за селски къщи и вили. Тухлените фурни ви позволяват да печете различни видове хляб само за половин час. След като завършите процеса на печене в добре разтопена структура за още 8 часа, можете да приготвите много други ястия като конфитюри, десерти и т.н.


