
Стенните нагреватели са вид отоплително устройство, което може да се използва за отопление на жилище. Доста често новите видове и модели на такива нагреватели се наричат енергоспестяващи, тоест предполага се, че те консумират по-малко електроенергия, за да затоплят същия обем на помещението или по друг начин имат по-голяма ефективност. В повечето случаи електрическите стенни енергоспестяващи домашни нагреватели наистина имат висока ефективност, тоест превръщат електрическата енергия в топлина с минимални загуби. Но факт е, че почти всички електрически отоплителни уреди, дори по-стари модели, имат доста високо ниво - повече от 90%. Следователно не е съвсем правилно да се говори за значително увеличение на този показател. Дори теоретично той не може да бъде увеличен с повече от 10%.
Основното им предимство е различно. Фактът, че използвайки нови технологии и материали в тях, производителите са ги направили по-удобни, практични и привлекателни на външен вид. Освен това, поради различните методи на отопление, те могат да затоплят помещението по-бързо или да бъдат по-безопасни, а благодарение на възможността за автоматично управление и регулиране на мощността се предотвратява прегряването на помещенията, което ги прави по-икономични.
Видове монтирани на стена енергоспестяващи нагреватели
В продажба има доста различни видове стенни нагреватели за дома, които производителите наричат енергоспестяващи. Те се различават по форма, размер, мощност, тегло, метод на отопление и допълнителни опции.
Чрез метода на нагряване могат да се разграничат следните видове:
- Отопление на помещения с помощта на топлинна радиация;
- Отопление чрез конвекция.
По дизайн и вид нагревателен елемент те могат да бъдат:
- Под формата на лампи с тръбни нагревателни елементи;
- Панел;
- Филм.
Чрез способността за регулиране на мощността и температурата в стаята:
- С термостат
- Без термостат
За да разберете цялото това разнообразие и да изберете наистина оптимална версия на модерен нагревател за стена за вашия дом, помислете за положителните аспекти и недостатъците на различните им видове.
Нагревателни елементи гъвкава лента ENGL-1
ОПИСАНИЕ
СПЕЦИФИКАЦИИ
За да се поддържа температурата на тръбопроводите и тръбите, нагревателният кабел е монтиран на повърхността на тръбата. С помощта на термостат или контролер се поддържа зададената температура. По този начин електрическата отоплителна система, базирана на саморегулиращи се нагревателни кабели, ви позволява ефективно и надеждно да компенсирате топлинните загуби, предотвратявайки замръзването на тръбите и тръбопроводите.
Принципът на работа на тръбната отоплителна система:
Нагревателен кабел е инсталиран вътре в тръбата или на нейната повърхност по цялата дължина. С помощта на сензори, монтирани на тръбата, се отчита температурата на течността вътре в тръбата. Ако температурата на течността в тръбата падне под зададената, термостатът получава команда за включване на нагревателния кабел. Когато работната температура се възстанови, кабелът се изключва до следващата команда.
Използването на нагревателни кабели дава възможност за проектиране на кабелни системи за защита от замръзване за тръби и тръбопроводи за всякакви течности и околна среда, което значително разширява възможностите за тяхното използване.
Парафините например се втвърдяват при температури под 70oC (доста над околната температура). Съответно, за да се избегне охлаждане на тръбопроводите и втвърдяване на изпомпваните вещества, е необходимо да се осигури отопление.Разбира се, този проблем може да бъде решен чрез използване на традиционни придружаващи парни тръбопроводи, но електрическите отоплителни системи, базирани на саморегулиращи се нагревателни кабели, осигуряват по-голяма надеждност, лесна инсталация и дълготрайност.
В ежедневието тръбните отоплителни системи, базирани на нагревателни кабели, обикновено се използват за отопление на водопроводни тръби, канали, покриви и подово отопление.
Инсталация


Монтаж на нагреватели на тръби, линейни и спирални: 1 - Нагревател, 2 - Стъклена лента


Монтаж на нагреватели на фланци на тръбопровода: 1 - Нагревател, 2 - Стъклена лента, 3 - Алуминиева лента


Монтаж на нагреватели на освобождаващия колектор на резервоара: 1 , 2 - нагреватели, 3 - Стъклена лента, 4 - Алуминиева лента


Монтаж на топлоизолация на тръбопроводи и клапани: 1 - Нагревател, 2 - Топлоизолация, 3 - Защитна метална обвивка


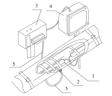
Възможност за свързване на нагреватели към кутията с инсталиране на монометричен електрически контактен термометър: 1 - Нагревател, 2 - Термобалон, 3 - Монометричен термометър, 4 - клемна кутия, 5 - метален маркуч.
ПРЕДНАЗНАЧЕНИЕ
• Нагревателите са предназначени да затоплят или компенсират загубата на различно технологично оборудване (тръбопроводи, помпи, спирателни и регулиращи клапани, топлообменници и др.).
• Работата с нагреватели е разрешена в макроклиматични райони с умерен климат съгласно ГОСТ 15150-69 при относителна влажност до 100% при 25 ° С и при по-ниски температури с кондензация на влага.
• Нагреватели могат да се използват в пожароопасни инсталации (външни и вътрешни) от класове П-I; Р-II; П-III съгласно класификацията на "Правилата за електрически инсталации" (PUE).
ТЕХНИЧЕСКИ ДАННИ
• Пример за конвенционално обозначение на нагревателен гъвкав лентов елемент с капацитет 1,63 kW, работно напрежение 220 V, версия I, дължината на активната (отоплителна) част е 27,12 m. ENGL 180 1,63 / 220 I 27,12 TU 63 RSFSR-3-76 ...
• Основни параметри и размери.
• Номинално напрежение на постоянен ток и променлива честота 50 Hz, V 220
• Специфична мощност на нагревателите (мощност на метър активна част), W / m 40, 60, 80, 100
• Дължина на нискотемпературните нагревателни проводници, mm 750. Забележка. Нискотемпературните нагревателни проводници, по договореност с потребителя, са изработени от големи размери и от марки проводници, кабели, чиито електроизолационни материали отговарят на класа на топлоустойчивост H GOST 8865-70.
• Според метода на свързване към електрозахранването нагревателите се произвеждат в два варианта, на които са присвоени следните символи: И - нагреватели с нискотемпературни проводници на един превключващ връх (за индивидуално свързване към захранване и свързване към нагреватели от версия "P"); P - нагреватели с нискотемпературни проводници на двете комутационни уши (за свързване към захранване и един към друг).
• Дизайнът на нагревателите според начина на свързване към електрическата мрежа и връзката помежду им са посочени в документацията
• Мощност, дължина на активната част на нагревателите, съпротивления, в зависимост от конкретната мощност и версии според начина на свързване към източника на захранване, трябва да съответстват на посочените в таблица. 1. Отклонението на дължината на активната част не трябва да надвишава ± 1,5%, стойността на електрическото съпротивление - + 5% минус 3%, мощност ± 10%.
ОПРЕДЕЛЯНЕ НА МОЩНОСТТА
Данните за определяне на мощността на гъвкавите лентови нагревателни елементи могат да бъдат намерени на тази страница .
Инфрачервени нагреватели за стена
Нагреватели от този тип отопляват помещението главно поради топлинно (инфрачервено) лъчение.В този случай структурите или предметите, към които е насочено излъчването (под, стени, мебели), първо се нагряват и въздухът в помещението вече се нагрява от тях. Този метод на отопление се отличава с възможността за бързо нагряване на определени зони в помещението, т.е. с ниска топлинна инерция. Но това може да е и техният недостатък - когато нагревателят е изключен, потокът на топлинна енергия незабавно спира. Тези нагреватели са безшумни и не изгарят кислород от въздуха.
Инфрачервените нагреватели за стена могат да бъдат:
- Под формата на лампи с тръбни нагревателни елементи;
- Под формата на плоски панели;
- Филм.
В допълнение, те също могат да имат различен дизайн, форма, тегло, мощност и допълнителни опции: сензори и регулатори, които контролират тяхната работа.
Стенни инфрачервени нагреватели с тръбни нагревателни елементи


Стенна инфрачервена печка с тръбни нагревателни елементи
Такива енергоспестяващи нагреватели са корпус под формата на плоска лампа с рефлектор и нагревателни елементи под формата на вакуумни кварцови тръби, които съдържат волфрамова нишка или въглеродни влакна. В първия случай излъчването се появява не само в инфрачервения, но и във видимия диапазон, а във втория случай на практика само в инфрачервения. Следователно такива нагреватели за стена с въглероден (въглероден) нагревателен елемент са по-ефективни при отоплението на помещението. Под въздействието на топлинно инфрачервено лъчение предметите не само се загряват, но и се загряват на дълбочина около 2 см. Поради кварцовите тръби, в които са затворени нагревателните елементи, те често се наричат кварцови.
Такъв нагревател може да бъде монтиран на стената под определен ъгъл, в зависимост от необходимостта от отопление на цялата стая или определена част от нея. Особено удобно е да използвате такива монтирани на стената енергоспестяващи кварцови нагреватели за къщата, в която живеят периодично, или за летни вили.
Инфрачервени панели, монтирани на стена от въглеродни влакна
Те представляват плосък панел, най-често с правоъгълна форма с въглероден нагревателен елемент, затворен в него, тоест направен от въглеродни влакна.


Стенен панелен нагревател с въглероден нагревателен елемент
Отоплението на помещението възниква главно в резултат на топлинно инфрачервено лъчение. Конвекцията също присъства до известна степен, тъй като въздухът в контакт с горещата повърхност на панела се издига и циркулира. Стенните панели от въглеродни влакна са относително леки. При нагряване техният нагревателен елемент - въглеродни влакна, генерира аниони - отрицателно заредени частици, които балансират атмосферата на отопляемото помещение и отлагат прах от него.
Външната повърхност на такъв панел се загрява до температура 80⁰C, което му позволява да не изгаря кислород и прах, но все пак можете да изгорите. Ето защо трябва да бъдете внимателни и в присъствието на малки деца да закачите такъв панел, така че детето да не може да достигне или да откаже да го използва.
Повечето от тези отоплителни панели с мощност от 1 kW и повече са оборудвани с вградени термостати, механични или автоматични, което ви позволява правилно да изберете температурния режим и спомага за спестяване на енергия. В нагреватели с ниска мощност 300-500 W те често липсват.
Снимки за отопление


Панелен инфрачервен нагревател под формата на картина
Нагревателните картини са по същество същите инфрачервени монтирани на стената енергоспестяващи домашни нагреватели, които могат да бъдат панел от нагревател от въглеродни влакна (на снимката по-горе) или платно с плосък ултра тънък филм въглероден нагревателен елемент, както е на снимката по-долу.


Филмов въглероден нагревател под формата на картина
Отличителна черта на такива въглеродни инфрачервени нагреватели е, че върху тяхната повърхност е нанесен чертеж или снимка и освен, че отопляват помещението, те изпълняват определена декоративна функция и при добър избор на изображение могат дори да служат като декорация за стая. В противен случай такива нагреватели не се различават от нагревателите с въглерод без отпечатан шаблон.
Керамични стенни панели


Керамични нагреватели за стенни панели
Нагревателният елемент на керамичния панел са керамични плочи. Топлината се разпространява върху тях равномерно и повърхността на самия панел се загрява слабо. Такъв нагревател има по-голяма термична инерция от инфрачервените нагреватели с въглерод и кварц, но въпреки това доста бързо загрява помещението поради инфрачервено лъчение и отчасти поради конвекция. Топлината от такива панели е по-мека и ви позволява да създадете доста комфортна атмосфера в отопляемо помещение. Недостатъците включват по-голямото тегло на такива стенни панели.
Инфрачервени нагреватели с висока и ниска температура. Каква е разликата?
Известно е, че повечето къщи и апартаменти в Русия се отопляват с вода, газ или електричество. В същото време за никого не е тайна, че тези отоплителни системи не са най-безопасните по отношение на експлоатацията. Как се оказа, че конвективните отоплителни системи станаха класически, е трудно да се каже. Но това се случваше и се случваше.
Сега говорим за нещо друго. Защо модерното отопление, основано на нискотемпературни инфрачервени нагреватели, безопасно и удобно, все още е необичайно за повечето руснаци? Освен това в природата инфрачервената топлина придружава почти всеки процес на пренос на топлина.
Може би хората просто не знаят за нагревателите с ниска температура или имат грешна информация. В тази статия ще се опитаме да отговорим на някои въпроси.
Като начало трябва незабавно да обясним, че сред инфрачервените нагреватели могат да се разграничат две групи: високотемпературни и нискотемпературни. За съжаление поради невежество мнозина приписват необичайни качества на нагревателите с ниска температура.
И така, каква е разликата между тези два вида нагреватели? И защо нискотемпературните нагреватели могат да се монтират в жилищни райони, а тези с висока температура не?
Нагреватели с висока температура
Работната температура на високотемпературните инфрачервени нагреватели е 200-600 ° C. Предимството им е мощна енергия, те могат да отопляват студени помещения с много високи тавани, например производствени халета. Поради насочения топлинен поток те не отопляват цялата стая, а малък участък, мястото, от което се нуждаете, например работно място на стругаря, което ви позволява да не губите топлина.
Недостатъкът на високотемпературните нагреватели е отделянето на мощна енергия по време на работа, така че е нежелателно да оставате под тях дълго време. Използването на такива нагреватели е ограничено от законодателството. Да, те дават много топлина, но са неудобни за използване и не са много икономични.
Нискотемпературни нагреватели
Нискотемпературните нагреватели, за разлика от високотемпературните, са подходящи за монтаж в жилищни помещения, те са удобни за използване, безопасни и икономични. Температурата на такива нагреватели обикновено не надвишава 80 ° C. Между другото, работната температура на нагревателите Zebra EVO 300 не е по-висока от 45-50 ° С. Това ви позволява да създадете специално ниво на комфорт в една стая с тази отоплителна система: въздухът не изсъхва, запазва се естествената влажност, в такава стая е по-лесно да се диша и е по-удобно да се престоява. Неслучайно инфрачервеното отопление Zebra 300 е търсено в болници, детски градини и училища.
Друг плюс на инфрачервените нагреватели с ниска температура е високото ниво на безопасност.Елементите с ниска температура не могат да причинят пожар при нормална употреба. Освен това нагревателите Zebra 300 ще осигурят защита при критични условия поради вградения предпазител. Наличието на алуминиев корпус в инфрачервените електрически нагреватели Zebra evo 300 100% предпазва от токов удар и гарантира пожарна безопасност, тъй като металът не поддържа горенето и не разпространява пламък.
Нискотемпературните нагреватели не генерират излишна топлина и са по-енергийно ефективни. Посоката на топлинния поток на таванните, подовите и стенните IR нагреватели Zebra 300 свежда до минимум неефективното използване на електричество.
Ако говорим за минусите, тогава производителността на нискотемпературните нагреватели директно зависи от това как структурно е направена сградата, каква изолация има, тъй като се отоплява от заграждащите конструкции: стени, под, таван. Ако сградата е лошо изградена и не отговаря на стандартите за топлоизолация, тогава отоплението с ниска температура ще бъде неефективно от икономическа гледна точка.
Какво друго? Вероятно няма да е излишно да споменем, че много хора вече са оценили предимствата на отоплението на базата на нискотемпературни инфрачервени гъвкави нагреватели Zebra EVO 300 и са го инсталирали в домовете си, апартаментите, офисите и т.н. Причината за избора на това отопление е само една - то е по-безопасно, по-удобно и по-икономично.
Ако искате да научите повече за иновативното отопление Zebra evo 300, тогава гледайте нашето видео, което просто и ясно разказва за отоплителната система, изградена по природните закони!
Ние ще отговорим на всички въпроси относно отоплителната система Zebra 300: 8
(обаждането е безплатно)
Кварцови стенови енергоспестяващи домашни нагреватели


Кварцов нагревателен панел за стена
Това е друг вид модерни стенни енергоспестяващи отоплителни панели. Те представляват плоча от кварцов пясък, в която са разположени нагревателни елементи под формата на метални спирали. Електрическите нагревателни елементи първо загряват съдържанието на панела, който от своя страна натрупва тази топлина и я освобождава в стаята. Поради това специфично отопление, такива кварцови панели имат доста голяма топлинна инерция. За да може една такава печка да се загрее напълно, отнема от 15 до 25 минути. Следователно няма да е възможно да загреете стаята незабавно с такъв нагревател. От друга страна, отопляем панел може да задържа топлина за дълго време и да затопли помещението, дори когато е изключен от електрозахранването. Максималната температура на повърхността на плочата е 95⁰C. Ако в къщата има деца, тогава такива нагреватели трябва да бъдат защитени със специални екрани или окачени на такава височина, че детето да не може да достигне.
Отоплението на помещението се случва главно в резултат на въздушна конвекция, но инфрачервено лъчение от панела също присъства, както от всеки нагрят обект. По същество това е същият "сух" електрически конвектор, но с тази разлика, че нагревателният елемент загрява въздуха не с помощта на алуминиев топлообменник, а чрез кварцов пясък. В резултат на това температурата на контакта на нагрятата повърхност с въздуха намалява и прахът практически не се изгаря, а инерцията на устройството се увеличава. Такива монтирани на стената енергоспестяващи кварцови нагреватели се използват най-добре за къща, в която живеят постоянно и в които е необходимо да се поддържа постоянна комфортна температура.
Нагревателни елементи гъвкава лента ENGLU-400
ОПИСАНИЕ ENGLU-400 ТЕХНИЧЕСКИ ХАРАКТЕРИСТИКИ ENGLU-400
Ленков нагревател ENGLU - 400 е лента, изработена от нишка seklo, която е импрегнирана с органичен силикатен материал, която се основава на осем нагревателни проводника, изработени от сплав с високо съпротивление (нихром). Намотката на нагревателните проводници се състои от три слоя импрегнирана със стъкло нишка.Свързването на нагревателните елементи на лентовия нагревател се извършва по метода на микроплазменото заваряване. В зависимост от схемата на свързване, нагревателната лента engl има различни мощности и дължини. Нискотемпературните проводници се поставят в превключващи уши, чиито вътрешни кухини се запълват с топлоустойчива електроизолационна смес по време на монтажа.
Конструктивно нагревателите са направени с нискотемпературни проводници от едната страна на нагревателя и от 2 страни. Нагревателна лента engl, има висока електрическа и хидравлична изолация.
Лентовият нагревател е проектиран да компенсира топлинните загуби и да загрява тръбопроводи, топлообменници и друго технологично оборудване. Също така ENGLU-400 може да се използва за отопление на малки помещения, гаражи, оранжерии, контейнери. По време на работа на потребителя в режим на отопление е препоръчително да използвате нагревателя с пълна мощност. и след това го прехвърлете на намалена мощност.
Готови сме да извършим топлотехнически изчисления, които ви позволяват да определите необходимите стойности на мощността на единица нагрята дължина, което ще ви спести пари.
ОПРЕДЕЛЯНЕ НА МОЩНОСТТА
Данните за определяне на мощността на гъвкавите лентови нагревателни елементи могат да бъдат намерени на тази страница .
| 1 | 2 | 3 | 4 | 5 | 6 | 7 | 8 | 9 | 10 | 11 |
| ENGLU 400-1 / 220-5B | — | — | 1,00 | 220 | 400 | 5000±100 | 46,5 | 200 | 0,91 | |
| ENGLU 400-1 / 220-5V | ||||||||||
| ENGLU 400-1.27 / 220-4.1V | 1,27 | 450 | 4100±80 | 38,0 | 300 | 0,78 | ||||
| ENGLU 400-0,5; един; 2 / 220-10B | 1 и 3 2 изолират | 0,50 | 400 | 10000±200 | 93,5 | 50 | 1,60 | |||
| 1 и 2 или 2 и 3 1 или 3 изолират | ||||||||||
| 1,00 | 450 | 46,5 | 100 | |||||||
| ENGLU 400-0,5; един; 2 / 220-10V | ||||||||||
| 2,00 | 23,0 | 200 | ||||||||
| 1 свържете с 3 и 2 | ||||||||||
| ENGLU 400-1; 2; 4 / 220-20B | 1 и 3 2 изолират | 1,00 | 400 | 20000±250 | 46,5 | 50 | 3,00 | |||
| 2,00 | ||||||||||
| 1 и 2 или 2 и 3 1 или 3 изолират | 23,0 | 100 | ||||||||
| ENGLU 400-1; 2; 4 / 220-20V | ||||||||||
| 1 свържете с 3 и 2 | 450 | 11,5 | 200 | |||||||
| 4,00 | ||||||||||
| ENGLU 400-2.25 / 220-8.3V | — | — | 2,50 | 450 | 8300±150 | 19,0 | 300 | 1,35 | ||
| ENGLU 400-5 / 220-16.8V | — | — | 5,00 | 16800±230 | 9,6 | 300 | 2,57 | |||
| ENGLU 400-9 / 380-7.2V | — | — | 9,00 | 380 | 7200±100 | 16,1 | 416 | 3,00 |
Обозначения на таблицата
- легенда на нагревателя
- превключваща верига
- схема на мрежова връзка
- номинална мощност, kW
- мрежови изходи
- номинално напрежение, V
- максимално допустима температура на повърхността на нагревателя, ° C
- дължина на активната част, mm
- електрическо съпротивление, Ом
- специфична мощност, W / m
- тегло, кг (не повече)
Пълно описание:
Електрически стенни конвектори


Електрически конвектор, монтиран на стена
Те са доста опростени по дизайн и ефективни електрически отоплителни устройства. Конструктивно той се състои от нагревателен елемент с топлообменник и конвекционна камера, която в същото време е декоративна и защитна обвивка. Външно конвекторите се отличават с наличието на отвори в защитната обвивка за вход и изход на въздуха. Първите са разположени отдолу, а вторите са отгоре или най-често на страничната предна повърхност под формата на жалузи, насочващи топлия въздушен поток надолу. Такъв нагревател загрява стаята почти напълно поради конвекцията на въздуха. Топлинното излъчване от тялото му е незначително, тъй като външната обвивка не се загрява над 50-60⁰С. Поради това те са доста безопасни и могат да бъдат инсталирани дори в детски стаи. Но да загреете стаята незабавно с такъв нагревател няма да работи. Ще отнеме известно време, докато въздухът в стаята се повиши до необходимата температура в резултат на конвекция. Не сушете дрехите или ги покривайте, за да избегнете прегряване на нагревателните елементи.
Видове електрически конвектори
Електрическите конвекторни нагреватели могат да имат различни нагревателни елементи:
- Отворена спирала;
- Затворена намотка ("сух" нагревателен елемент);
- Моноблок.
Дизайнът с отворена намотка е най-евтиният, но такива нагревателни елементи изгарят кислород и прах от въздуха. Поради това е нежелателно да ги инсталирате в помещения, където хората постоянно присъстват. Освен това те не могат да се използват за отопление на влажни помещения.
Моделите със затворени спирали (нагревателни елементи) са по-безопасни. Техните тръбни нагревателни елементи се загряват до по-ниска температура (около 100 ° C) и за по-голяма ефективност е затворен плочаст алуминиев топлообменник.Те практически не изгарят кислород, но по време на тяхната работа можете да усетите миризма на изгорял прах. Особено ако топлообменникът не е бил почистен от прах след продължителна почивка в експлоатация. Следователно, преди началото на отоплителния сезон е необходимо да премахнете защитния екран и да почистите топлообменника от прах с прахосмукачка.
Но най-добрият вариант за електрически конвектор е модел с моноблок нагревателен елемент. Неговото цялостно тяло, което в същото време действа и като топлообменник, е направено от алуминиеви сплави, а спиралата, която е вътре, е заобиколена от специален пълнеж. Такъв нагревателен елемент е по-надежден и издръжлив.
Повечето монтирани на стената електрически конвектори са оборудвани с термостати, а някои имат допълнителни опции, например, йонизатор на въздух, който утаява прах и обогатява въздуха със здравословни йони.
Трябва да споменем и доста популярен специален тип електрически конвектори - така наречените топли первази, които са монтирани на кръстовището стена-под и не изискват отделно пространство на стената. Освен това отопляемият въздух излиза от тях почти на самия под, допринасяйки за по-добро отопление на помещението.


Електрически конвектор - "топъл цокъл"
Електрически инфрачервени нагреватели
Инфрачервените електрически нагреватели работят безшумно, без вибрации. Липсата на продукти от горенето елиминира необходимостта от допълнителни системи за отработена вентилация. Инфрачервените нагреватели се използват на закрито и на открито: на стадиони, улични кафенета, концертни зали и др. Инфрачервените нагреватели също се използват широко в различни индустриални процеси за сушене и отопление. Високата практичност на инфрачервените нагреватели се крие в лесен и бърз монтаж, лекота на работа на оборудването и контрол на температурата, освобождават се големи площи и елиминира опасността от размразяване на системата. Инфрачервените нагреватели нямат движещи се части, въздушни филтри и смазване. Използваните в тях плоски нагревателни елементи са по-ефективни от нагревателните елементи и имат дълъг експлоатационен живот. Те са монтирани на тавана и стените, могат да работят денонощно. Основният проблем на приложението е необходимостта да се спазват хигиенните стандарти: ограничаване на повърхностната температура на нагревателя и плътността на лъчистия топлинен поток на работното място. Това изисква подробно изчисляване на разпределението на лъчистата топлина върху повърхностите на пилотираните помещения. Съвременният пазар за инфрачервени нагреватели е изключително богат и разнообразен. Той наброява около 20 производители на това оборудване, огромният брой от които са чуждестранни: от Германия, Унгария, Италия, Турция, Словакия, САЩ, Полша, Чехия, Франция, Швеция и др. През последните години се наблюдава устойчива тенденция на ръст на продажбите на този тип отоплително оборудване (средно с 20% годишно). Негови потребители са предимно индустриални предприятия и институции от сектора на услугите. С помощта на експерти се опитахме да разберем кои модели инфрачервени нагреватели са най-търсени днес и кои компании са водещи в областта на своето производство и предлагане на руския пазар. Ще подредим разглежданото оборудване в зависимост от температурата на излъчващата повърхност. IR устройства с повърхностни температури под 60 ° C
Нека започнем с инфрачервени устройства с дълги вълни, които извършват отопление, чиято температура не надвишава 50 ° C, а радиационният спектър е в диапазона от 9,2-9,5 микрона. Такова оборудване се предлага например от компанията Noirot.Едно от последните разработки на този най-голям производител е инфрачервеният електрически нагревател от серията Noirot Verlys Evolution 1500. Електрически нагревател, изработен от черна стъклена керамика, съчетава два метода на нагряване: конвективен и инфрачервен. Грациозните форми и най-високата чистота на стъклото създават усещане за лукс и богатство. Работата на Noirot Verlys Evolution се контролира от електронен цифров термостат ASIC, с точност на поддържане на температурата до 0,1 ° C. Високата точност на поддържане на температурата води до икономия на енергия, увеличаване на живота на устройството и създаване на максимален комфорт без температурни колебания. Точността на електронния термостат обаче не се променя с течение на времето. Комфорт (комфорт), Еко (икономичен), Hors-гел (антифриз), Arret (режим стоп) и превключвател. На същата основа са създадени специални нагреватели за детски заведения (серия R-21), които са абсолютно безопасни за най-малките деца и отговарят на всички най-нови европейски стандарти и изисквания за безопасност. Моделите панелни инфрачервени нагреватели от серията Noirot Spot E-II 500, Noirot Spot E-II 750, Noirot Spot E-II 1750 се радват на добра репутация на руския пазар. Устройствата от тази серия са предназначени за отопление на помещения с площ от 5-7 м2. Тези универсални панели са направени в кутия с форма на кутия, вътре в която е положен специален кабел, подобен на кабел за топъл под. Топлоотражателната изолация е фиксирана от задната страна. Предната страна е покрита с прахообразни бои - тя може да бъде облицована по време на монтажа с керамични плочки, мрамор или друг естествен или изкуствен камък. Захранващо напрежение - 220 V / 50 Hz. Специфична мощност - 500 W / m2, експлоатационен живот - най-малко 25 години. Панелите се произвеждат в широк диапазон от стандартни размери (дължина - от 0,96 до 1,96 м, ширина - от 0,27 до 0,73 м) и струват 1500-3000 рубли / бройка. Едно от последните новости на руския пазар за инфрачервени нагревателни устройства е ноу-хауто на местния. В изключителната разработка на руски специалисти под името "Makar TOP", нагревателни елементи на основата на въглеродни влакна, които вече са получили широк международен разпознаване се използват. Надеждността и практичността на нагревателния елемент на инфрачервения въглероден нагревател е несравнимо по-висок от този на халогена, спиралните нагревателни елементи и нагревателните елементи. Консумацията на енергия от ТОП въглеродни нагреватели за единица мощност на топлинен поток е почти три пъти по-малка от тази на традиционните IR нагреватели. Нагревател с мощност 0,9 kW (размери 652x145x76 mm и тегло 2,5 kg) може да отоплява помещение с площ от 30 м2. Икономичен разход на енергия, стилен дизайн, безопасен дизайн и почти неограничен експлоатационен живот на нагревателния елемент поставят Makar TOP на едно ниво с най-добрите примери за IR нагреватели на вътрешния пазар (цената на нагревателя е 3850 рубли). "Makar" IK -0,5, -1, -2, -3, -4, отдавна се използват успешно за комфортно отопление на битови и промишлени помещения, както и за сушене на боядисани повърхности в различни технологични процеси. Те са монтирани на скоби към таванната повърхност и са оборудвани с вградено устройство за индикация за работа. Системата за контрол на температурата е автоматична. Интересен модел инфрачервен нагревател предлага доставчикът и разработчикът на домакински уреди за отопление и водоснабдяване, Unitherm (Германия) .Универсалното стенно устройство от типа UQS 180 е предназначено за отопление както на вътрешни, така и на външни пространства. Продуктите предизвикват заслужен интерес от няколко години насам. Въпреки засилената конкуренция и най-широкия избор на пазара за инфрачервени устройства, компанията успя да разработи своя изключителен продукт и да спечели признание от потребителите.Това е своеобразна версия на "Руската баня на Маслов". Таванните нагреватели "IkoLine" могат да се използват като основна или допълнителна отоплителна система за всякакви помещения. Монтажът на тавана поддържа стените и подовете безплатни. Нагревателите с дълги вълни бързо и равномерно затоплят помещението, докато подът винаги ще бъде по-топъл от въздуха. Принципът на работа на нагревателите с дълги вълни IkoLine'BB е много различен от конвенционалните отоплителни устройства. Тяхната характеристика е "мек" режим на отопление с температура на въздуха от 30 до 60 ° C и влажност от 10 до 100% (банята е оборудвана с парогенератор). Подът, стените и леглото са облицовани с керамика, мрамор или гранит и се нагрява с почти същите отоплителни панели, налични под облицовката. Дизайнът осигурява пълна електрическа безопасност (степен на защита - IP67, клас на електрическа защита - 1) и защита от излъчване на индустриални честотни токове. В допълнение, в моделната гама на инфрачервените нагреватели IkoLine, предназначени за отопление на лятна къща, апартамент, вила, балкон, оранжерия, зимна градина, серията Comfort е интересна (ELK O6R, ELK 10R, ELK 10Rm - цена от 2000 до 3000 рубли .).
IR устройства с повърхностни температури от 60 до 100 ° C
Предлаганите от Energotech модели на отоплителни уреди с дълги вълни са подходящи за монтаж както в помещения, така и в големи индустриални помещения. На височина 2–2,5 m е най-добре да се поставят системи EnergoCassete и EnergoLine с най-ниска интензивност, които също се използват на високи (до 3,5 m) височини. Инфрачервените нагреватели EnergoCassete могат да бъдат инсталирани в стандартен окачен таван с 60 см клетки, така че те са подходящи и за използване в офиси. Температурата на повърхността на всяко устройство не надвишава 100 ° C, устройството излъчва мека, комфортна топлина. Нагревателите EnergoCassete се произвеждат във водоустойчив дизайн и са предназначени за сухи, влажни и запалими помещения. Възможно е инсталиране на устройства от тази серия в детски заведения. Трябва обаче да се отбележи, че това са доста скъпи системи: цената на дребно на 600 W оборудване е $ 248. EnergoLine е елегантен тънък нагревател с клас на защита IP 44 за използване в мокри и сухи помещения. Системите EnergoStrip EE са най-широко разпространени и търсени на пазара.Рефлекторът EnergoInfra принадлежи към най-евтините инфрачервени нагреватели, произведени от Energotech.EnergoInfra устройствата се произвеждат в устойчив на пръски дизайн за монтаж в мокри и сухи помещения, както и за външен монтаж . Клас на защита - IP 44. Тази група включва също таванни инфрачервени панели, или, както се наричат още, таванни касети, които са представени в моделната гама на най-големия им производител - Frico (Швеция). Нека се спрем на две от техните модификации: за монтаж вместо модул за окачен таван и със скоби за монтаж на тавана. На свой ред касетите с монтажни скоби се предлагат във версии, устойчиви на пръски (IP 54) и на струя (IP 55). Техният дизайн е много подобен на гореописаните стенни панели: филмов нагревател, стоманен корпус, отразяваща изолация. Корпус от поцинкована стомана с прахово покритие. Температурата на повърхността на панелите не надвишава 100 ° C, което осигурява мек и удобен режим на отопление. В серията HP Frico предлага касети за 220 и 360 V. Подобни устройства се произвеждат от много други компании. От местните производители, произвеждащи такива панели, "Mister Hit" (модели IK-0.7 IK-1.1 IK-1.4, височината на нагревателя над пода трябва да бъде от 2,2 до 3,5 м, в зависимост от нагревателя, струва 2000-3000 рубли.), "Оникс" ("ОНИКС-07" "ОНИКС-15"). Сред многобройните разработки на инфрачервените нагреватели, представените отоплителни уреди са добре препоръчани и широко използвани. Таванните касети от серия "А" за монтаж в окачен таван или на монтажни скоби са предназначени за отопление на помещения с височина до 3 м. Таванни касети може да се използва и за локално допълнително отопление на отделни работни места, като осигурява комфорт за персонала, без да е необходимо да се затопля цялата стая.Дължина-ширина-дебелина - 59,5 × 59,5 × 6,7 см, тегло - 5 кг, напрежение - 220 V, ток 2,3 А. Минимална височина на окачване - 2 м. Гаранция - две години, експлоатационен живот - 10 години. Когато се монтират в фалшив таван, те лесно се комбинират в серия, образувайки обща отоплителна система за стаята. Средна консумация на енергия - 100 W, номинална мощност - 300 W.
IR устройства с повърхностни температури от 101 до 280 ° C
Тази група включва преди всичко IR лайсни Termoplus, предназначени за монтаж над прозорци. Устройствата са произведени от Frico. Нагревател - стоманен нагревателен елемент. Предният панел е изработен от елаиран алуминий с висока якост. В задната част на корпуса има слотове за преминаване на въздух, което позволява на нагревателя да работи не само в инфрачервен режим, но и в режим на конвектор. Температурата на излъчващата повърхност е 200 ° C. Захранващо напрежение - 220 или 360 V. Ширината и височината са еднакви за всички модели - 90 × 215; 100 мм, но дължината може да бъде различна. Доставя се в три версии: ❏ EC за сухи помещения. Управлява се от външен термостат или селектор на мощност; ECVT за мокри помещения. Те имат вграден термостат и превключвател за изтегляне на кабела; ❏ ECV за мокри помещения. Те могат да се използват като подчинени на ECVT устройства или самостоятелно (те работят от външно управляващо устройство). Друг вид IKEO, принадлежащ към тази група, е еднопанелен нагревател за монтаж на височина от 2,5 до 4 м. Температурата на излъчващата повърхност е около 250 ° C (някои компании имат 280 ° C). Устройствата се монтират хоризонтално под тавана на монтажни скоби (те обикновено са включени в комплекта) или на кабелна скоба. Може да се прикрепи към стената с допълнителни монтажни скоби. Корпусът е изработен от поцинкована стоманена ламарина и боядисан. Нагревател - стоманен нагревателен елемент. Нагревателният панел, в специален жлеб, на който е монтиран нагревателният елемент (с други думи, е вграден), е направен от анодизиран алуминий. На външната му повърхност има надлъжно ребро, което прави възможно увеличаването на площта на излъчващата повърхност. Топлоизолационен материал (в повечето случаи минерална вата) се поставя в пространството между предния панел и задната стена. Такива панели се произвеждат от няколко компании: серия Frico - Elztrip; IkoLine (Русия) - серия ELK, Energotech - серия EnergoStrip. Много фирми произвеждат "двойни" и "тройни" продукти на базата на еднопанелни ICO. Най-просто казано, два или три еднопанелни нагревателя се монтират наведнъж в един корпус. И така, IkoLine - в серията EL 20/30/40 R, Energotech - в серията EnergoStrip. Мощността на такива ИЦП е в диапазона от 1500 до 4000 W и е обичайно те да се отнасят към индустриалните. Такива панели трябва да се монтират на височина най-малко 3 м. Цената им, разбира се, е по-висока от тази на еднопанелните, но тя расте не правопропорционално на броя на използваните еднопанелни ICO - един кутията все още е по-евтина от две или три отделни.
IR устройства с повърхностна температура над 300 ° C
Като пример за мощни електрически нагреватели за открити пространства можем да посочим модели от серията EnergoInfa (данните са представени в таблицата) от Energotech. Например, интегриран нагревател за балкони, оранжерии, зимни градини и открити площи. На негова основа се произвежда серия от "свързани" IKOEnergoInfra Industri (EIR 3000, EIR 4500, EIR 6000). Тези нагреватели имат значително по-голяма мощност и са предназначени главно за промишлени помещения или външен монтаж. Модел инфрачервен нагревател от друга серия - EnegroStrip EE е подходящ за монтаж както в малки помещения, така и в големи индустриални помещения на височина 2 м. Той осигурява приятна и комфортна топлина, както и ефекта на топлите подове. Системата е лесна и евтина за инсталиране. Клас на защита IP 44. Но най-известните на пазара са продуктите на друг шведски производител - Frico. В неговата серия Comfort Infra CIR се представят модели с мощност от 0,5 до 2 kW в две версии - CIR100 и CIR200 (с превключвател за издърпване), в който рефлектор с повишена устойчивост на корозия, изработен от огледално полиран алуминий с ъгъл на разсейване на топлината от 60 ° C. Comfortinfra CIR се използва главно за отопление на зимни градини, тераси, балкони, открити веранди,но те могат да бъдат инсталирани и в жилищни и офис помещения (с висока височина на окачване) и дори на открито. Инфрачервеният нагревател IR се използва за отопление на помещения с височина на тавана от 4,5 до 20 м (работилници, спортни зали, складове). Успешно се използва и за решаване на технологични проблеми (отоплителни материали, сушене, поддържане на режима против заледяване). Дизайнът на тези ICO е подобен на Comfortinfra CIR, но без защитна решетка (предлага се отделно). Устройствата от серията Elztrip EZF 32/42 са предназначени за помещения с височина на тавана от 3 до 15 м. Те могат да се използват и в открити и полуотворени зони. Модели с два панела (tp = 300 ° C) са предназначени за монтаж в долната част на препоръчителния диапазон на височината, модели с три панела (tp = 400 ° C) - за монтаж в горната част на този диапазон. По този начин виждаме, че е формиран пазарът на необходимото инфрачервено електрическо оборудване и задачата на дизайнера е правилно да подбере и подробно изчисли параметрите на електрическата отоплителна система, включително избора на вида, количеството и метода поставяне на нагревателни елементи. В този случай ще бъдат спазени хигиенните стандарти за използването на определени устройства и нивото на облъчване (плътност на лъчистия топлинен поток) на работните места и в обслужваните зони. Понастоящем са разработени методи за изчисляване на такива системи, тествани на практика и позволяващи да се определят параметрите на електрическите отоплителни системи с достатъчна точност. Можем да препоръчаме да се свържете с разработчиците на тези техники за необходимите консултации по имейл
Водни инфрачервени таванни панели
Принципът на работа на таванните панели с топлинна лъчиста вода е различен от електрическия източник на топлинна енергия. Лъчистите таванни панели Zehnder използват топла или гореща вода от отоплителната система (40 до 120 ° C) като отоплителна среда, която предава топлина към тръбите и лъчистата мрежа. Нагретият екран започва да излъчва вълни в инфрачервения диапазон, тъй като таванният панел е покрит отгоре с топлоизолация, топлинното излъчване е насочено само надолу. Вълните при контакт с тела и повърхности в помещението се превръщат в топлина. Нагретите по този начин тела от своя страна започват да излъчват топлина, както и да я пренасят във въздуха чрез конвекция. По този начин се постига равномерен температурен профил в цялата стая. Водните отоплителни панели имат едно безспорно предимство пред електрическите и газовите инфрачервени устройства - те са абсолютно огнеупорни, поради което могат да се използват в бои и лакове, дървообработване и производство на хартия, както и в складове. В допълнение, след като бъде инсталирана и пусната в експлоатация, системата не изисква допълнително обслужване или поддръжка. Използването на вода като топлоносител дава възможност да се регулира мощността на панелите с най-голяма точност (за регулиране се използват регулатори на обемния поток, които са зададени в завода специално за този проект). Днес на руския пазар таванните панели за вода са представени главно от две компании - Frico и Zehnder. Zehnder представя най-пълната гама оборудване, включително: ❏ таванни отоплителни панели за помещения с височина до 30 m; ❏ комбинирани панели, използвани както за отопление през зимата, така и за охлаждане през лятото; ❏ изцяло поцинковани панели, които могат да се използват в мокри помещения (автомивки, басейни); Panels нискотемпературни панели (от 40 ° C), които могат да се използват с минимална височина на тавана (от 2,5 м); ❏ единични тавани за отопление / охлаждане, които могат да се използват в помещения с най-високи хигиенни изисквания (дори в операционни зали); ❏ панели със стандартен размер 60 × 60 см за монтаж в стандартни окачени тавани; ❏ панели, покрити с гипсокартон, приличащи на идеално равен таван.Zehnder предлага допълнителни специални решения за всяка ситуация: ❏ вградени светлини, вентилация и др .; ❏ перфорация и специална изолация за абсорбиране на шума (възможно е и абсорбиране на шум от отделни честоти - ниска или висока); Защитни метални мрежи за предотвратяване на удари на топки по панела за панели, монтирани във фитнес зали; ❏ Съответствие с естетиката на помещението: дизайн на ъглови панели и възможност за избор на всеки цвят от палитрата RAL; ❏ версия с прекъсващ излъчващ екран за безпрепятствено проникване на светлина в случай, че панелите са разположени под капандурите. Почти всички модели могат да се използват и за охлаждане през лятото. В същото време се изключват всички негативни явления, които обикновено възникват по време на охлаждане с помощта на климатици - течения, пренос на сух въздух и прах. Така че таванните панели за вода Zehnder са универсално оборудване за всяка ситуация, било то офис, плувен басейн, фабричен под или фитнес. Както през лятото, така и през зимата.
Електрически радиатори от модулен тип
Такива нагреватели на външен вид приличат на радиатори на водна отоплителна система; те също могат да бъдат монтирани на стената, но те работят автономно.


Стенен електрически модулен радиатор
Има няколко вида модулни радиатори:
- Течни такива с вграден нагревателен елемент, които работят на познатия на всички принцип на масления радиатор, но могат да съдържат вода, незамръзващи или специални течности като охлаждаща течност;
- Капка-пара, при която малко количество течност се нагрява до образуването на пара, която се издига и, отдавайки енергията си на тялото на радиатора, се кондензира обратно в течността.
- "Сухо", при което се използват нагреватели от стоманен прът. Всяка секция има собствен нагревател от легирана стомана.
Кои стенни енергоспестяващи домашни нагреватели са по-добри?
Когато правите избор и давате предпочитание на един или друг тип или модел стенни нагреватели, трябва да се вземат предвид следните фактори или да се отговори на следните въпроси:
- Каква топлинна мощност трябва да има? Колкото повече мощност, толкова по-бързо стаята се нагрява. Но, от друга страна, колкото по-мощно е устройството, толкова по-скъпо е и изисква подходящо напречно сечение на окабеляването.Термичната мощност на всеки електрически нагревател е пряко свързана с електрическия. Следователно, ако ви обещаят, че нагревателят консумира 1 kW електричество, а топлинната му мощност е 1,5 kW, то това, меко казано, не може да съответства на реалността, ефективността не може да бъде повече от 100%, законът за запазване на енергията все още не е отменена. Това не е термопомпа.
- Колко бързо трябва да загрее стаята? Например, ако трябва много бързо да затоплите стая или част от нейната зона, тогава е по-добре да изберете един от инфрачервените нагреватели. Ако скоростта на отопление не е голяма работа, могат да се обмислят и други възможности.
- Трябва ли да отоплява цялата стая или просто да създаде отделна зона на комфорт? За да отоплявате цялата стая, е по-добре да използвате нагреватели с предимно конвекторно отопление (конвектори, радиатори) и инфрачервена светлина, за да създадете зона на комфорт.
- Колко безопасно трябва да бъде отоплителното устройство и каква е допустимата температура на корпуса? Най-безопасните по отношение на телесната температура са конвекторните нагреватели. Ако в къщата има малки деца, тогава е по-добре да се даде предимство на този тип отоплително устройство.
- Ще се използва ли нагревателят като основно отопление или като допълнителен (резервен) източник на топлина? Ако това е основното отопление, тогава е необходимо да изберете по-мощни нагреватели с термостати, сензори и всякакви полезни опции. Ако това е допълнителен източник на топлина, тогава можете да изберете по-малко мощен и съответно по-евтин, без излишни опции.
- Ще се използва ли в къща, в която живеят постоянно или периодично, например в селска къща?
- Колко сте готови или можете да отделите за такава покупка? Изборът на типа нагревател, производителя, а оттам и качеството и наличието на различни полезни опции в него също до голяма степен зависи от това.
След като намерите отговорите на тези въпроси, вече ще ви е ясно кой от видовете обзаведени по-горе енергоспестяващи нагреватели е най-подходящ за вашия дом.
Модели на стенен инфрачервен нагревател за дома
Принципът на действие на стенен инфрачервен нагревател за дома е идентичен със слънчевата радиация, когато топлинните лъчи се абсорбират от предмети и повърхности и след това пренасят топлината към околния въздух. Поради това, от една страна, определени зони бързо се нагряват, когато устройството е включено, а от друга страна, топлинният поток незабавно се спира, ако е изключен.


Инфрачервен нагревател за дома
Поради факта, че радиацията не се абсорбира от въздуха, цялата енергия на устройството се преобразува в топлина практически без загуби. Трябва да се отбележи, че в същото време нивото на влажност в помещението не се променя и въздухът не изсъхва; също така предимствата включват абсолютно безшумната работа на устройството. По дизайн инфрачервените нагреватели могат да бъдат шкаф, панел, филм или лампа.
Гъвкави стенни нагреватели
Един от най-тънките инфрачервени нагреватели е гъвкавият нагревател за стена. Изработен е от два слоя полиестерно фолио и нагревателен елемент, изработен от тънка (около 1,5 мм) въглеродна нишка. Дебелината на такова нагревателно устройство позволява то да бъде усукано на ролка при транспортиране или съхранение.


Как работи инфрачервеният нагревател за стена
Основните предимства на такива модели са:
- малко тегло - те обикновено тежат не повече от 1 кг и могат да бъдат прикрепени към абсолютно всяка повърхност;
- универсалност - устройството може да се използва, включително за малки бани с висока степен на влажност;
- ниска консумация на енергия - цената на локалното отопление в диапазона от 3 м е 0,08 рубли. за един час работа;
- поддържане на естествените климатични свойства на помещението - няма да ви се налага да изпитвате дискомфорт от липсата на кислород;
- терапевтичен ефект - меката топлина на нагревателя има лечебни свойства;
- компактност - не заема почти никакво място по време на монтажа и транспортирането.


Гъвкав електрически нагревател за стена
Технически параметри на гъвкавите електрически нагреватели за стена: електрическа защита клас II (DSTU 3135.0-95), работна мощност - 220V, консумация на енергия - 400 W и температура на нагряване на работната повърхност - 75 ° C.
Полезен съвет! Не покривайте нагревателя на филма с спално бельо или други неща, това може да провокира неговата деформация и повреда.
Специално място в "семейството" на електрическите филмови стенни нагреватели заемат модели, направени под формата на картини или панели. Тази дизайнерска техника дава възможност да се закупи устройство, което логично ще се впише в интериора на всеки стил. Трудността ще бъде причинена само от трудността при избора между огромен асортимент от тематични опции.


Стенните гъвкави нагреватели обикновено се представят под формата на снимки и имат удобни фиксиращи елементи
Къде да купя филмови нагреватели "стенен панел"
Нагревателните панели, освен функцията за отопление, имат и декоративен компонент. Разнообразие от теми ви позволява да изберете "топъл" декор за стаи с различни цели. За детска стая са подходящи пана с изображение на любимите ви герои от приказките и карикатурите, за спалня - романтични пейзажи, великолепен водопад ще изглежда страхотно в хола, а за кухнята мястото е за натюрморт .
Най-удобният начин за закупуване на гъвкав нагревател за стена е чрез онлайн магазин.Първо, възможно е внимателно да се запознаете с техническите параметри, и второ, можете бавно да изберете парцела на панела, който харесвате, и на трето място, можете да сравните нивото на цените за нагреватели в зависимост от производителя. Освен това, като посещавате онлайн търговци, винаги ще сте наясно с текущите промоции и продажби.
Основните технически характеристики и приблизителни цени на стенни електрически нагреватели под формата на панели от различни производители.
| Име на панелен нагревател | Производител | Мощност, W | Температура на повърхността, ºС | Терморегулатор | Гаранция, месец | цена, търкайте |
| Хонг Конг | LLC "Топъл свят" | 400 | 60 | — | 12 | 1240 |
| Коне | Газотехника + | 500 | 60 | — | 12 | 1540 |
| Домашен уют | LLC "Вашата поръчка" | 500 | 65 | — | 6 | 950 |
| Арт-мозайка | Ultralotos | 400 | 65 | има | 12 | 1255 |
| Кити | Кадифеният сезон | 500 | 60 | — | 12 | 1090 |
| Река | Лятно време | 480 | 85 | — | 12 | 2040 |
Струва си да се отбележи, че някои производители, представяйки своите продукти, не изключват възможността за използване на филмови нагреватели за сушене на зеленчуци и плодове, което значително ще помогне на домакините в кухнята при приготвянето на храна. Като се има предвид удобството на транспортирането, много хора вземат панелни нагреватели със себе си в дачата си в началото на пролетта или хладната есен.
Как да поръчате и закупите стенен електрически нагревател под формата на картина
Използвайки енергоспестяващи стенни нагреватели под формата на картина в интериора, освен икономически ползи, можете да постигнете отличен естетически ефект. Поставяйки го до уютен диван или меко кресло, можете едновременно да се затоплите в студена вечер и да се насладите на красивия пейзаж. След изключване на устройството, предмети, нагрявани от инфрачервено лъчение, ще отделят топлина за известно време.


Инфрачервена конструкция за стенни нагреватели
Чрез закупуване на монтиран на стената филмов нагревател-картина, можете да решите въпроса за "красивото" отопление на балкон или лоджия, веранда или лятна кухня, гараж или лятна вила през извън сезона. Лекото тегло, лесната преносимост и бързият набор от работещо отопление (в рамките на 30 секунди) ще ви позволят да усетите комфортна топлина веднага след свързване на устройството към мрежата.
Подобно на повечето домакински уреди, можете да избирате, поръчвате и купувате стенни нагреватели за картини на уебсайтовете на производителите или в онлайн магазините. Каталозите с продукти съдържат необходимата информация за техническите параметри на всеки продукт и са придружени от снимки на електрически стенни нагреватели. Внимателният предварителен преглед на опциите значително ще опрости избора.


Стенен нагревател за камина
Преди да се обадите на мениджъра на онлайн магазина и да направите поръчка за модела, който харесвате, трябва да направите сравнителен анализ на цените на нагревателите за стенни филми. Обратната връзка от потребителите на етапа на избора на отоплително оборудване ще помогне да се разберат неговите характеристики и да се избегне закупуването на стоки с ниско качество.
Полезен съвет! Дайте предпочитание на добре известни марки: дори ако трябва да надплатите за марка, ще бъде предоставена гаранция за издръжливостта и качеството на устройството.
Приблизителната цена на нагревателите под формата на картини, произведени от различни компании:
| Име на снимката - нагревател | Производител | Мощност, W | Температура на повърхността, ºС | Терморегулатор | Гаранция, месец | цена, търкайте |
| Пожарна | 400 | 75 | — | 12 | 1245 | |
| Есен | Фермер 72 | 500 | 90 | механични | 24 | 4900 |
| Снежни леопарди | ТК "Сибир 54" | 500 | 75 | — | 24 | 2400 |
| Мост | Топло добро | 400 | 65 | — | 12 | 1300 |
| Езеро | LLC "Северни кристал" | 400 | 75 | — | 12 | 1490 |
| Сакура | G.P. Es | 400 | 70 | — | 12 | 1510 |









