Принципът на действие на пещта и нейната схема
В основата си Buleryan е една от най-практичните комбинации от печка на дърва и печка с дърва. Принципът на действие се основава на физическия феномен "принудителна конвенция".
В долната част на конструкцията е предвидена дупка, в която навлиза поток от студен въздух от помещението. Придвижвайки се по тръбите, които взаимодействат директно с горивната камера, той бързо се загрява и излиза навън.
Продуктите от горенето на дърва за огрев не се отстраняват веднага навън, навлизайки в друга камера, където се изгарят повторно при много високи температури. Доизгарянето на въздушно-газовата смес ви позволява да увеличите ефективността до нескромни 80%.

Високата температура на конвекционния въздух на изхода позволява да се затопли почти всяко помещение като обем или едноетажна просторна къща. Благодарение на повърхностните тръби достъпът до горещата повърхност на пещта е ограничен, което прави използването му възможно най-безопасно. Buleryan може да се комбинира с отоплителен кръг на течен топлоносител.
Научете повече за техническите характеристики на печките на дърва
Предимства на пещта
По-долу са изброени основните функции и предимства на фурната Buleryan:
- минимално време за отопление на стаята;
- работата не зависи от комуникациите;
- процесът на отопление протича равномерно;
- подходящ е всякакъв вид твърдо гориво;
- спестяване;
- висока ефективност;
- печката е способна да работи до дванадесет часа на една ръка от дърва за огрев (или други горими материали).
Интересен факт: Канада се счита за родно място на печката Buleryan, където е създадена от известни енергийни инженери.
Коя тръба е подходяща за комина
Преди директни монтажни работи, трябва да решите от коя тръба ще бъде направен коминът
Трябва да се помни, че Buleryan е печка с дълго изгаряне, поради което е важно да избере най-качествените елементи. В противен случай в процеса на използване на конструкцията можете да очаквате, че в къщата ще има постоянен дим.
Ако работата се извършва на ръка, тогава обикновено изборът се прави самостоятелно.
Най-популярните елементи на комина са:
Керамични продукти, които са идеални за този тип фурна. На външен вид коминът прилича на сандвич тръба. Керамиката се характеризира с отлична устойчивост на високи температури или температурни спадове. Също така този материал намалява вероятността от конденз по стените на конструкцията.
Ще бъде доста просто да инсталирате такава тръба със собствените си ръце, но е важно да не я повредите по време на тази работа. Коминът от неръждаема стомана също е подходящ за булериан. Въпреки това, такъв дизайн, във всеки случай, се нуждае от допълнителна изолация.
По време на работа много често металът се деформира от високи температури или под въздействието на други фактори. Монтажът на такава тръба се счита за прост, тъй като вече първоначално се продава в комплект с различни фитинги, тройници и други необходими части. Азбестовата тръба не се счита за подходяща за избраната печка. Първоначално се нуждае от висококачествена и пълноценна изолация, но дори такава работа не може да гарантира, че по вътрешните стени няма да се образува конденз. Постоянното му присъствие ще се отрази негативно на експлоатационния живот на цялата печка като цяло. Освен това азбестът се отличава с неприятна и остра миризма, която ще присъства и в стаята. Тухлата се счита за добър избор за комин. Той е изпитан във времето и също се счита за традиционен материал за оформяне на печки и камини.Важно е обаче да запомните, че направената от нея конструкция няма да бъде подвижна, поради което няма да е възможно да я прехвърлите от едно място на друго в стаята.
При избора на материал е важно да се вземе предвид, че работата ще се извършва на ръка, а също така трябва да вземете предвид и местоположението на самата пещ, честотата на нейното използване и други важни моменти.
Предимства и недостатъци на фурната
Предимствата на фурната са следните:
- Бързо и равномерно отоплява стаята.
- Той е лесен за инсталиране, експлоатация и поддръжка.
- Висока ефективност - 85%.
- Минимален разход на нагревателен материал.
- Най-дългият период на работа на едно гориво.
- Универсално предназначение. Печката може да се използва за всякакви помещения и оранжерии.
Колкото и добри да са предимствата на отоплителната печка Buleryan, тя има и недостатъци:
- Този тип печка може да работи само на един вид гориво - дърва.
- Моделът трябва да намали опасността от пожар, за което е необходимо да се изолира коминната тръба.
- Изгарянето на прах върху корпуса на фурната причинява много неприятна миризма.
- Когато пещта се изстреля, в комина се събира едък кондензат, който трябва редовно да се отстранява.
Кондензът може да бъде намален, като се използва само сухо дърво.
Както вече споменахме, котелът Burelyan работи само на дървесно гориво, но този тип може да включва и торф и дървесни брикети, както и пелети. За предпочитане е да се използва грубо гориво, дори масивни бучки. Ако амортисьорът за дим е правилно настроен, горивото ще изгаря бавно, отделяйки топлина и не изискващо допълнително зареждане.
Печката с дълго изгаряне Buleryan се счита за най-изгодната опция за отопление на помещенията. Дизайнът на печката е много прост и ако покажете желанието, тогава той може да бъде направен по занаятчийски начин.
Устройство за пещ Buleryan
Устройството на пещта определя принципа на действие на нагревателя Buleryan, който е сглобен от следните елементи:
Устройство за пещ Buleryan
- Сгънати с дъга тръби, които изграждат тялото. Освен това вътре в корпуса, в самия разклонителен тръбопровод за отстраняване на продуктите от горенето, има U-образен картер, който отделя първичната горивна камера от вторичната.
- Двуслойна стена, която работи като допълнителен конвектор. Освен това в стената е вградена и разклонителна тръба на комина.
- Предната стена, в която се врязва вратата за зареждане на гориво в горивната камера, тръбата на вентилатора с дроселова клапа и пепелният съд (контейнер за събиране на пепел).
Освен това изобщо няма значение дали печката Buleryan се сглобява ръчно или се произвежда в завода - ефектът от използването на такова отоплително устройство ще надмине всички очаквания. Ето защо най-икономичните собственици на жилища се стремят да направят такава печка изключително със собствените си ръце.
И по-нататък в текста ще ви запознаем с процеса на сглобяване на печката и със етапа на инсталиране на нагревателя в стаята.
Ето защо най-икономичните собственици на жилища се стремят да направят такава печка изключително със собствените си ръце. И по-нататък в текста ще ви запознаем с процеса на сглобяване на печката и със етапа на инсталиране на нагревателя в стаята.
https://youtube.com/watch?v=-HFG5zFEgqM
Инсталационни работи
Ако всичко е подготвено, чертежите са проучени, тогава можете да започнете да работите. Процес стъпка по стъпка за изработване на устройство за пещ както следва:
- В самото начало трябва да сглобите рамката на бъдещата печка. Той ще бъде направен от преплетени извити тръби, които образуват своеобразен въздушен нагревател, а камината също ще бъде разположена там. За да направите това, използвайте тръбен огъвател, за да огънете тръбите, така че те да имат радиус на кривина около 225 mm и дължина 120 mm.
- След това трябва да заварявате елементите един към друг с метални ленти, за да получите доста стабилна и надеждна основа.Конструкцията трябва да е плътна, без отвори и дупки, така че димът да не прониква в помещението, където е монтирано устройството.
- На следващия етап те започват да произвеждат форсаж. Най-лесният начин за сглобяването му е от ламарина. Необходимо е да се изрежат преградите и да се монтират малки вдлъбнатини в тях за въздушния топлообменник.
- Сега е необходимо да се заваряват 2 прегради ¼ от дължината към тръбата с помощта на машина за ръчно заваряване.
- След това инжекторите трябва да бъдат инсталирани в първите 2 тръби. Това място ще получава отпадъчните продукти от пиролиза. Необходимо е да се проверят всички заварки за течове и, ако е необходимо, да се мистрия.
- 2 елемента са изрязани от ламарина, която ще играе ролята на задната и предната стени. В една от частите е направен малък отвор за комина.
- На втория елемент, където е прикрепена вратата, се изрязва и дупка. Може да се направи от тръба с диаметър най-малко 350 мм. Дизайнът трябва да бъде направен двуслоен, като в този случай едната част ще бъде разположена вътре в товарната камера, а втората ще покрива камината отвън.
- След като вратата е подготвена, в нея се прави отвор за газта. Самият дросел може да бъде монтиран от парче тръба с въртящ се амортисьор, докато размерите му трябва напълно да припокриват лумена. Също така на конструкцията е инсталирана надеждна ключалка.
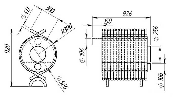
Структура


Схема на устройството на Булерян за отопление на къща
Както се вижда от фигурата, Buleryan е конструкция от няколко огънати тръби (обикновено повече от шест) (1), заварени по такъв начин, че вътре да се образува горивна камера (2) и (6). За да се раздели горивната камера на две зони, в конструкцията е заварена специална преграда. Дървата за огрев първо се изгарят в първичната камера (6), а след това изгарят във вторичната камера (2), като същевременно се гарантира максимална ефективност. Въздухът постоянно циркулира през тръбите отдолу нагоре, осигурявайки оптимален топлообмен в помещението. Дърва за огрев и брикети се използват главно като гориво за печката. За полагане на дърва за огрев и извличане на пепел има врата (11) на предната стена на печката, която благодарение на уплътненията и специалния дизайн на ключалката (10) може да се затваря херметически. Към вратата е заварен вентилатор (8), който регулира подаването на въздух към първичната камера. За подаване на въздух към вторичната камера на тръбите има инжектори (14). Пепелта се събира в пепелен съд (7). За регулиране на горивния процес има регулатори на тягата (9) на вратата и на изпускателната тръба, разположена на задната стена.
За нормална работа на buleryan и по-малко натрупване на сажди в комина, той трябва да бъде изолиран.
Булерян го направи сам
Тъй като основният инструмент в работата ще бъде заваръчната машина, проверете нейната работоспособност. Това ще отнеме много време и ако сте неопитен заварчик и никога досега не сте държали заваряване в ръцете си, не бива да поемате работата, в този случай има голяма вероятност да загубите време. Тренирайте преди да започнете на тренировъчните шевове, ако всичко е наред, можете да започнете.
Инструменти за работа:
- Заваръчна машина.
- Ножици за метал.
- Български.
- Малък чук.
- Инструмент за огъване на тръби.
Материали (редактиране) за работа:
- Дебелостенни тръби.
- Метален лист - дебелина не по-малка от 5 мм.
- Ъгъл 25 × 25 мм.
Ние определяме място за фурната по размери
Важно е да се спазват мерките за безопасност, въз основа на тях ще определим мястото за бъдещото устройство. Разстоянието от стени и тавани не трябва да бъде по-малко от 80 сантиметра. Размерите се изчисляват въз основа на квадрата на стаята, колкото по-малка е стаята, толкова по-малка ще бъде печката. В противен случай няма противопоказания за мястото, основното е, че в близост няма запалими материали.
За организирането на отопление на селска къща можете да направите и печка Butakov. Подробности тук:
Препоръки за употреба
- Коминната тръба за вашата печка трябва да бъде сглобена в посока, обратна на движението на отработените газове, което практически намалява до нула вероятността от изтичане през нея по време на работа на дървесен катран. В този случай последният ще се върне в комина и ще изгори в него.
- Спазвайте изискванията за пожарна безопасност, когато подреждате мястото за монтаж на печката и околното пространство.
- Не забравяйте да осигурите възможността за опростена инсталация / демонтаж на комина за редовно почистване от катран и сажди, отложени по стените.
- Печката "Buleryan" трябва да бъде конфигурирана според вашите предпочитания.
- Не забравяйте периодично да инспектирате горната част на комина, за да отстраните появяващите се натрупвания на смола.
- Емпирично се избира оптималният режим на пещта, който се характеризира с максимално време на горене и минимална степен на запушване на тръбата за димни газове. За да работи устройството в посочения режим, каналът трябва да се почиства поне два пъти на сезон.
- Преди да поставите дървата в камината, препоръчително е предварително да ги изсушите над печката.
- В допълнение към трупите, за да спестите пари, се препоръчва да добавите брикети от дървени стърготини и дървени стърготини към горивната камера.
Характеристики на дизайна и принцип на действие
Buller-breneran се различава от обичайната "печка за гърне" по следния начин:
- Пещта е заобиколена от извити вертикални тръби, в които въздухът се нагрява. Благодарение на това решение печката загрява стаята много ефективно, докато тялото й остава относително студено.
- Духалката е направена под формата на тръба, врязана във вратата на пещта и е снабдена с амортисьор (дросел), чрез който може да се контролира мощността на пещта.
- Горната четвърт на горивната камера е отделена от плоча с отвори. Това пространство играе ролята на горивна камера за дървесен (пиролизен) газ, който се образува по време на високотемпературното разлагане на органичните молекули.


Аксонометричен разрез и спецификация
Имайте предвид, че пещите Buleryan и подобни подобни не произвеждат газ (пиролиза) в пълния смисъл на думата. В истински генератор на топлина за пиролиза се създават по-високи температури и въздухът се принуждава. Създателите на булера се стремят да опростят дизайна му, в резултат на което пиролизата в него протича вяло и не напълно. Този режим обикновено се нарича частично генериране на газ.
Гореспоменатата преграда не достига предната стена на пещта за 20–25% от дължината на пещта. Поради това основният поток на димните газове по пътя към горивната камера се отклонява към предната част на пещта. По този начин, Buleryan принадлежи към печки отпред, които превъзхождат класическите с лекота на управление.
Димоотводът започва с хоризонтален участък с дължина 0,8–1 м. Този елемент, като че ли, държи тягата, позволявайки на повечето димни газове да изгорят в горивната камера.
Амортисьорът на портата, монтиран в началото на вертикалния участък на комина, има изрез с размери 25% от цялата площ, поради което при никакви обстоятелства не може да бъде плътно затворен. По този начин рискът от отравяне с въглероден окис на хората е напълно елиминиран.
Режимът на работа на устройството се регулира с помощта на плъзгаща се врата:
- при запалване (режим на пламък) той се отваря напълно;
- при преминаване в режим на продължително горене (тлеене) - той се затваря.
Топлината в горивната камера се успокоява малко, докато газовете в комина се охлаждат и работата му се възобновява. Тягата се възстановява, топлината в горивната камера отново се увеличава, образуването на димни газове става по-интензивно, те отново мигат в економайзера и горивната камера отново угасва. В режим на продължително изгаряне този цикъл се повтаря постоянно.
Основните положителни параметри на дизайна
https://youtube.com/watch?v=zKA7kgImfnY
Тази печка на дърва има много предимства:
- инсталирането на оборудването се счита за просто и бързо, така че дори можете да приложите всички етапи със собствените си ръце, което значително намалява цената на този процес;
- скоростта на топлопреминаване е много висока, следователно Buleryan е ефективно и надеждно оборудване;
- по време на работата на конструкцията кислородът не се изгаря в помещенията;
- коминът е създаден от участъци на тръбата, които трябва да са подходящи за този проблем, а връзките между тях трябва да са плътни и здрави;
- тази печка може да се използва не само в селска къща или в баня, но дори и в частна къща, замествайки пълноценното отопление с различни системи, свързани към централните комуникационни магистрали.
Недостатъците включват необходимостта от постоянно присъствие на човек, който трябва да поддържа горенето с гориво
Също така, въпреки че пещта е създадена съвсем просто, важно е да знаете от какви елементи се състои, докато е важно да ги изберете правилно и правилно, така че те да се справят перфектно със зададените задачи и да служат много дълго в съответствие с поставените задачи. Особено много внимание трябва да се обърне на комина, тъй като ако той е избран и инсталиран неправилно, може да се очаква, че газовете от изгарянето ще проникнат в жилищните помещения.
Какво трябва да работиш
Преди да започнете да правите, трябва да подготвите всичко необходимо.
Инструменти:
- заваръчна инсталация;
- Български;
- електрическа бормашина;
- комплект свредла;
- щипки.


Заваръчна машина
Материали:
- топлоустойчива стоманена ламарина (100x200 сантиметра);
- стоманен лист (40х70 сантиметра);
- 4-метрова тръба (диаметър - 11 сантиметра);
- профилирана тръба (около десет метра);
- бримки;
- писалки;
- лек запек;
- парчета рамка и тръби (30-35 сантиметра) в резерв.
Топлоустойчивата котелна стомана е важен елемент. Факт е, че този материал е в състояние да издържа на много високи температури за дълго време. Това гарантира надеждна и дългосрочна работа на уреда.


Топлоустойчив котел стомана
Ако нямате посочения материал у дома, не забравяйте да го закупите в магазин за хардуер.
Интересна статия: довършване на печката с изкуствен камък
Приготвяме се да започнем
И така, теоретичната част приключи, така че вече можете да започнете производството на отоплителното устройство.
Вземете 8 равни парчета метална тръба и ги огънете в средата с огъване на тръби, като направите ъгъл от около 80 градуса. За да се създаде средно голяма пещ, ще са достатъчни тръби с дължина 1-1,5 m.
Подготвените тръби са заварени заедно в една структура.
Тази структура ще служи и като рамка. Поради това към тръбите се заваряват метални листове, които ще се превърнат в тялото на пещта. Металната плоча ще се превърне в поднос за горивната камера и върху нея ще изгорят дърва за огрев. За да улесните грижите за печката, можете да заварявате палет от две плочи под ъгъл.


Булерянови пещни тръби
Следващият етап е подготовката на предната и задната стени на булериана. Първо трябва да направите шаблон от дебел картон, въз основа на получените параметри на печката. Според този шаблон стените се изрязват от метален лист. В предната част трябва да направите дупка за вратата. Диаметърът му обикновено е равен на диаметъра на пещта, разделен на две. По-добре е да изместите центъра на прозореца малко под оста на булериан. По периметъра на прозореца от външната страна трябва да бъде заварен пръстен от тясна метална лента.


Тръби във фурната на булериан
Задната стена се прави по същия начин, само отворът в нея ще съответства на диаметъра на разклонителната тръба и ще бъде разположен в горната част.
Обръщаме се към производството на врати за фурната. Изработена е от същия метален разрез, за да отговаря на диаметъра на предния отвор. За да се подобри плътността, препоръчително е да се заварява тясна метална лента върху този детайл по целия периметър.Също така, наложително е да направите дупка във вратата и да заварите вентилатор с клапан към нея.


Етапът на създаване на фурна Buleryan със собствените си ръце
За да се осигури безопасност при използване, към вътрешната повърхност на вратата трябва да се завари полукръг от метален лист, който служи като топлоотразяващ екран.
Пантите са заварени към външната стена и вече можете да фиксирате вратата.
Към отвора на задната стена е монтиран комин от Т-образна тръба с диаметър 110 mm. В тръбата трябва да се направи изрез за свързване на клон с клапан.


Печки Buleryan серийни версии
Можете също да направите сам този клапан. По вътрешния диаметър на огъването трябва да се изреже метален кръг и да се пробие отвор в самия завой, така че оста на клапана да се вкара хоризонтално. Всички тези части са сглобени и заварени. Отвън е фиксирано парче пръчка, което ще служи като дръжка. Можете да поставите дървен блок върху него за удобство.
Сега правим крака от парчета тръби и фурната може да бъде тествана.


Готова фурна Buleryan, направена от вас сами
При направата на булериан със собствените си ръце, както и в друг отговорен бизнес, просто трябва да се придържате към технологията и създаденият продукт със сигурност ще ви зарадва с отлична работа.
Преглед на фурната Buleryan
Принцип на действие на Buleryan
Всъщност Булерян е обикновена печка, но стените на тази печка са толкова хитри, че дори руските печки в пълен размер не могат да се конкурират с нея. В крайна сметка тялото на пещта Buleryan играе ролята на принудителен конвектор, през който се изпомпва целият въздух в помещението. Освен това конвекцията се извършва по естествен начин - поради различната плътност на нагрятия и студен въздух.
Други предимства на такова отоплително устройство включват, първо, широко разпространените чертежи на печката Buleryan - всеки майстор, който знае как да търси информация в Интернет, може да направи тази печка със собствените си ръце. На второ място, наличният структурен материал - пещта е сглобена от тръби и ламарина. И, на трето място, относително проста технология на сглобяване - частите, изрязани съгласно чертежите, са свързани чрез конвенционално заваряване.
Е, самият принцип на работа на пещта е изпълнен, както следва:
Изглед в разрез на пещта Buleryan
- Всяко твърдо гориво се окислява в горивната камера на нагревателя: от дърво до торф.
- Енергията, отделена в процеса на окисляване на горивото, се използва за затопляне на тялото.
- Корпусът на отопляемата тръба изтегля студен въздух, извлечен от пода.
- След това въздухът преминава през тръбната стена на пещта, затопляйки се до достатъчно висока температура, и излиза през изходните клони, разпространявайки се в отопляемото помещение.
- Охладеният въздух се спуска до нивото на пода и целият цикъл се повтаря от самото начало.
Нещо повече, както домашно приготвената фурна Buleryan, така и "фабричната" фурна работят на принципа на естествената конвекция. Във фурната няма вентилатори или други изкуствени генератори на захранващи и изпускателни сили. Конвекцията се извършва чрез нагряване на въздуха в тръбната стена на пещта.
Съответно, изпускателната сила се създава от движението на въздушните маси нагоре (от тръбата), а захранващата сила се създава от вакуума, създаден от „изстрелването“ на топъл въздух от тръбата. И чрез регулиране на процеса на изгаряне на гориво в пещта, можете да увеличите или намалите обема на циркулация на охлаждащата течност (въздух) в помещението.
Освен това типичният Buleryan работи в два режима - фаза на загряване, когато корпусът се затопли, и фаза на топлопредаване, когато околното пространство се затопли. И изборът на конкретен режим се определя от позицията на щепсела върху комина (комина).
Полезни съвети за употреба
"Неправилната" инсталация на комини се дължи на необходимостта да се защити конструкцията от смолата, която се образува в резултат на изгарянето на дървесината. Ако този момент не е предвиден, тогава смолата ще изтече от печката и с тази инсталация ще остане в комина и постепенно ще изгори.


В края на монтажа печката Buleryan е монтирана на плоска и огнеустойчива основа и е свързана с комина. В този случай е необходимо да се спазват правилата за пожарна безопасност.
Запушването със смола за фурната Buleryan е почти неизбежно. С течение на времето смолистите слоеве се натрупват и запушват устройството. Това се отразява в забележимо намаляване на ефективността на работата му, намаляване на тягата, проблеми със свободното движение на портата. Така че е време да започнете да почиствате фурната.
По-леката версия на такова почистване се състои в нагряване на устройството с трепетлика. За съжаление практическите ползи от такава мярка са малки и краткотрайни.
Най-добрият начин за премахване на замърсяването със смола е чрез изгаряне. За да направите това, пещта се разтопява силно с отворен съд за пепел, на практика запалвайки всички канали. В резултат на това смолистите отлагания се изгарят.
Някои майстори използват кислород за изгаряне на пещта, привеждайки дюзата на цилиндъра към отвора на пепелника. Това е изключително опасна операция, която нарушава правилата за пожарна безопасност. Невнимателното манипулиране с кислородния цилиндър в близост до открит пламък може да доведе до експлозия.
Като гориво за печката Buleryan можете да използвате не само дърва за огрев, но и дървесни отпадъци (стърготини) или специални брикети. Важно условие е ниското съдържание на влага в горивото. Колкото по-малко влага, толкова по-малко смола се образува вътре в печката и толкова по-рядко ще трябва да се почиства.
По време на работата на пещта е необходимо да се избере такъв режим на работа, за да се получи максимална топлина с минимално образуване на смола. Ако се намери най-добрият вариант, почистването ще трябва да се извърши само няколко пъти по време на отоплителния сезон.
Изработването на такова устройство самостоятелно не е лесна задача. Но резултатът е високоефективен и удобен нагревател. Експертите отбелязват, че при правилна инсталация и спазване на условията на експлоатация експлоатационният живот на пещта Buleryan е практически неограничен.















