Начало / Дизайн
Обратно към
Публикувано: 06.02.
0
15
- 1 От какво се състои кран за баня?
- 2 Колко струва инсталирането на миксер?
- 3 Критерии за избор на кран за баня
- 4 Монтаж на скъп кран
- 5 Демонтаж на стария миксер
- 6 Методи за инсталиране на кран в баня
- 7 Инсталационни трикове
- 8 Монтиране на монтиран на стената смесител за баня
- 9 Схема за инсталиране и свързване
- 10 Нюанси на инсталацията
- 11 Необходими инструменти
- 12 Подготвителна работа
- 13 Детайли за инсталиране
- 14 Някои полезни съвети
От какво се състои кран за баня?
Преди да демонтирате и инсталирате миксера в банята, трябва да разберете как изглежда и от какви части се състои. Освен това, знаейки как е персоналът, може да помогне да се избегнат недобросъвестни продавачи. Опакованият санитарен фаянс се състои от следните артикули:
- Жилище. Стандартната му схема е следната: две дюзи за подаване на топла и студена вода, две гнезда и чучур;
- Маркуч за душ. Това е частта от системата, която свързва корпуса на смесителя с душа. Тъй като тази част е най-често неизправна, не се препоръчва да се пести от нея.
Преди да инсталирате кранчето в банята, нека разберем какви видове душ маркучи има, защото техният избор е огромен: от пластмасови изделия с метална обвивка, до усъвършенствани модели със защита срещу усукване и силиконов слой върху метална оплетка.
- Душ глава (наричана още душа). Душ глави от най-простите с два или три стандартни режима, до половин дузина функции за създаване на мека аерирана, масажна или струйна струя, режим „икономия“ и много други приятни опции за душ.
- Ексцентричен. Този тип душ адаптер е удължен, заоблен, единият ръб на който е прикрепен към смесителя, а другият към тръбата. Дължината и размерът на ексцентриците е индивидуален за всеки модел.
- Гендер, наречен чучур или къдряне. Най-често срещаните модели Gander са J, C и L-образни.
- Декоративни нюанси.
- Гумени или силиконови уплътнения.
Нюансите на инсталирането на миксер в банята със собствените си ръце видео
Проверката на оборудването обаче не винаги е достатъчна, тъй като за да сте напълно сигурни, че няма дефект в закупения продукт, е необходимо да се уверите, че резбите на ексцентриците и закрепващите гайки са непокътнати. Инструкциите за монтаж са приложени към водопровода. Сглобяването и разглобяването му е съвсем просто, можете да се уверите в това, като гледате видео урока по сглобяване.
Инсталиране на ново устройство
Ако извършвате тръбопроводи към смесителя със собствените си ръце, вземете предвид такива фактори.
Тръбопроводи

Разстоянието от центъра до центъра трябва да бъде 15 cm.
- Разликата между централните оси на входящите ъгли на топла и студена вода трябва да бъде 15 cm.
- Тръбата за студена вода трябва да е отдясно, за топла - отляво.
- Оптималната височина за монтаж на крана над ваната (отстрани) е 15/20 см, от нивото на пода - около 90 см.
- Входните ъгли на тръбите трябва да бъдат потопени в стената, така че след полагане на облицовката на стената, краищата им да са изравнени с покритието. Така ще можете да маскирате зоните за свързване на крана с декоративни чашки.
Забележка! Препоръчително е да направите водопровод, като използвате модерни пластмасови тръби. Те не ръждясват и могат да бъдат съединени чрез заваряване, което гарантира 100% плътност на тръбните съединения.
Монтаж на миксер


Снимката показва инсталирането на ексцентрици.
След това, как е инсталирането на кран в банята със собствените си ръце.
- Първо трябва да завиете ексцентриците... Ако позиционирането на входните ъгли не е било извършено достатъчно точно, ще бъде трудно да се поддържа желаното разстояние от центъра от 15 см. Ексцентриците ще помогнат за коригиране на тази грешка.
- Увийте фум лентата върху резбите на елементите и ги завийте във входните ъгли на тръбите за топла и студена вода.
- Завъртайки ексцентриците с ключ, постигнете идеално централно разстояние между входовете от 15 cm... След това проверете хоризонталната инсталация с ниво на балон.


Инсталиране на кутията на устройството.
- След това завийте корпуса на миксера и също така проверете хоризонтално... В този случай фиксиращите гайки трябва лесно да се завинтват с ръка до упор, до пълната им резба. Когато гайките се завъртят здраво, трябва да прецизирате ексцентриците, като ги завъртите леко.
- След това завийте декоративните чаши, маскирайки зоните на връзката на миксера с ексцентриците.
- Преди да сглобите крана в банята, поставете уплътненията и накрая фиксирайте корпуса на уреда на място.
- Затегнете фиксиращите гайки с гаечен ключ... Поставете кърпа под устните му. В противен случай ще повредите хромираните гайки, няма да изглежда естетически.
Забележка! Не пренатягайте крепежните елементи. Връзката е запечатана с гумени или силиконови уплътнения. Със здрава скоба те ще се мачкат и връзката ще тече. За застраховка включете водата и се уверете, че няма теч. Ако е, леко затегнете гайките, за да го премахнете.
- Сега можете да поставите смесителя на миксера... Първо затегнете гайката с ръце. След това го затегнете с регулируем ключ (също през защитен материал).
- Завийте маркуча на душовата глава върху корпуса на уреда... Не забравяйте да поставите дистанционера, преди да направите това.


Завиване на лейката към маркуча.
- Завийте лейката към маркуча, след като поставите гумено или силиконово уплътнение върху връзката.
- Изберете място за държача за душ и маркирайте точките за закрепването му.
- Пробийте дупки в стената, поставете пластмасови дюбели в тях... След това фиксирайте скобата на държача с самонарезни винтове.
- Включете водата и изпробвайте уреда в различни режими на работа.
Колко струва инсталирането на миксер?
Първо, има различни смесители: за скрит монтаж, отворен монтаж, с лостове, клапани, термостатичен, безконтактен. Когато инсталирате смесител в банята, е необходимо да вземете предвид всички нюанси на оборудването и оригиналните тръбопроводи в банята.
Старите и новите къщи се различават помежду си: различни водопроводни системи, различни тръби, различни условия на канализационната система. Нашите специалисти обслужват десетки къщи в различни квартали на Москва и са добре запознати с особеностите на Хрушчов, нови сгради, сгради от епохата на Сталин.
Разходите за инсталиране на смесител в банята зависят от вида вана, типа смесител, наличието на доставени комуникации, необходимостта от допълнително оборудване. Обадете се на нашите специалисти и опишете накратко задачата, след което можем да посочим приблизителната цена на услугата.


За да определи цената за инсталиране на кран в баня, водопроводчик трябва да знае:
- тип смесител;
- вид монтаж (скрит на стената, на борда, скрит на стелажа);
- вашите планове (текущ ремонт, цялостен ремонт, ремонт в нова сграда);
- марка миксер.
Капитанът ще може да даде най-точната и обективна оценка на разходите след определяне на обхвата на работата.
Инструкции стъпка по стъпка за инсталиране на нов миксер


Ако не знаете как правилно да смените крана в банята със собствените си ръце, следвайте следния алгоритъм:
- Ако трябва да смените старите ексцентрици с нови, трябва да подготвите резбова връзка, преди да инсталирате последните.За това се използва водопроводна теглич, сегмент от който с ширина около десет милиметра се завинтва върху конеца от началото до края и обратно, след което краищата се навлажняват, фиксират, обработват с грес Unipak или какъвто и да е водопроводен уплътнител. При липса на горепосочените материали можете да се справите с фум лента.
- Подготвените ексцентрици се завинтват в резбовите отвори на фитингите, без възможни замърсявания, първо на ръка, след това с помощта на регулируем ключ. Крайният резултат, в идеалния случай, трябва да осигури необходимото централно разстояние между свързващите части на тези адаптери и хоризонталното положение.
- На монтираните ексцентрици се поставят декоративни чаши, покриващи кръстовището.
- Инсталиране на нов миксер. За да направите това, първо трябва да поставите нови половин инчови уплътнения, след което да затегнете гайките на ръка, докато спрат. Можете допълнително леко (не повече от четвърт оборот) да затегнете с регулируем ключ.
ВАЖНО! При затягане на гайките трябва да се спазва умереност, тъй като дори леко прищипване може да повреди О-пръстените или крехките части на миксера (особено ако са изработени от силициева сплав, което е характерно за евтините китайски продукти).


Това завършва процеса на самостоятелна подмяна на смесителя за баня. Единственото, което остава да направите, е да завършите окончателния монтаж, като инсталирате чучура и свържете маркуча за душ към подходящите точки за свързване. След това трябва да проверите качеството на вашата работа, за което трябва да възобновите подаването на студена / топла вода и да тествате смесителя за течове включване и изключване.
Ако откриете такива в областта на закрепващите гайки, можете много внимателно да опитате да ги затегнете още малко с регулируем ключ. Ако тази мярка не доведе до положителен резултат, не се препоръчва да се прекалява, по-добре е да се повтори процедурата за демонтиране и инсталиране на миксера, докато се сменят О-пръстените.
Полезно видео
Целият процес, който е описан по-горе, е във видеото.
Критерии за избор на кран за баня
Как да инсталирате кран на стената, кои са най-често срещаните методи? Първо, това е подмяната на старата, и второ, инсталацията по време на ремонта.
За да замените стария водопровод с нов, на първо място, трябва да изберете правилния. Не е трудно да се направи това, тъй като настоящата гама от продукти, предлагани от водопроводните магазини, дава възможност, като се вземат предвид финансовите възможности, да се избере миксер, както местен, така и чуждестранен. По-долу са описани характеристиките, които трябва да внимавате при покупка:
- Теглото. Дори да не сте специалист и не можете да различите неръждаемата стомана от месинга, качеството на продукта може да се определи от неговата маса. Твърде лекият продукт показва неговата малка дебелина и крехкост на устройството.
- Метал. Ако консултантът в магазина предлага избор от модели на миксер със силиум и месинг, дайте предпочитание на втория. Силуминът не е много издръжлив, съставът му е сплав на силиций с алуминий, продуктите от него имат минимално тегло и могат да се деформират по време на монтажа.
Много начинаещи майстори правят стандартна грешка при избора на продукти от него поради ниската цена. Най-висок вискозитет на сплавта притежават месинговите модели, които не позволяват на затягащата гайка да се пръсне при леки деформации и монтаж. Освен това месинговите тела са по-малко податливи на корозия.
- Размери. Тази характеристика касае не толкова размера на смесителя, колкото съответствието му с мястото на монтаж на стената на банята.В случай на неправилен подбор на модел (прекалено дълъг или къс, масивен или, обратно, миниатюрен кран и други несъответствия) или не съответства на мястото на инсталиране, той може не само да изглежда нелепо, но и бързо да се провали.
Инсталационни работи
Смесител за душ за стена


Един прост пример за уред, монтиран на стена.
Стенните кранове най-често се използват за обслужване на ваната и душа.
Това се дължи на редица предимства и характеристики на този тип водопроводни инсталации, сред които може да се отбележи следното:
- Простота на инсталиране, поддръжка и подмяна на устройството. Продуктът е фиксиран и свързан само с две съединителни гайки, което значително улеснява неговото инсталиране и демонтиране;
- Когато са свързани към водопровода, няма гъвкави маркучи, които винаги са били слабото звено на всяка система;
- Няма труднодостъпни зони или скрити комуникации, които често се виждат при проектите на кранове, вградени отстрани на купата.
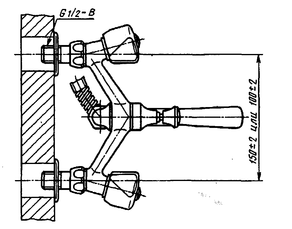
Нека да разгледаме от какво се състои кран за баня, монтиран на стена.


Схематична схема на кран за баня.
На схемата виждаме конвенционален корпус с два клапана, в който са завинтени кутиите на клапаните-оси (3) за горещи и студени потоци с маховици (4) за управление на спирателни клапани. Водните потоци се срещат в средата, където има превключвател за отклоняване (8), който насочва общия смесен поток или към бандажа (7), или към маркуча на душовата глава (16).
На задната страна на корпуса има два входящи отвора, които са разположени срещу отворите за монтиране на кранови кутии. На разклонителните тръби има съединителни гайки с уплътнения (1), поради което продуктът е свързан с водопроводите.
Важно! Разстоянието между входните отвори на корпуса на устройството не може да се регулира, поради което крайните тръби на тръбите трябва да бъдат позиционирани предварително на правилното разстояние, което зависи от модела на смесителя, но най-често равно на 150 mm.
И така, нека да разгледаме как да сглобите монтиран на стената кран за баня:
- Проверяваме дали гнездата за вода са на правилното разстояние (вижте чертежа на смесителя за баня, който сме закупили) и също са разположени на същото ниво;


Проверяваме тръбите по ниво и разстояние;
- Вземаме тялото на продукта, усукваме кутиите на крановите мостове с агнета, отклонителя и монтираме гандъра. Всички връзки трябва да бъдат снабдени с гумени или паронитови уплътнения. За правилно сглобяване се използват инструкциите на производителя;


Сглобяваме миксера според инструкциите.
- Вземаме ексцентричните адаптери 1 \ 2 - 3 \ 4 ˝ и навиваме теглича върху конеца от страната на тръбата по посока на часовниковата стрелка. След това нанасяме уплътняваща паста и усукваме частите в тръбите, затягаме с гаечен ключ и ги настройваме според разстоянието;


Навиваме санитарен лен върху конеца с по-малък диаметър.
- Завиваме така наречените ексцентрици върху конеца. рефлектори - декоративни наслагвания, които скриват точката на свързване;


Навиваме отражателите.
- Поставяме смесителя, поставяме съединителните гайки и ги затягаме първо до упор с ръце, след това с регулируем ключ. Затягаме без фанатизъм, за да не смачкаме гуменото уплътнение;


Снимката показва как да поправите крана на стената на банята.
- Свързваме душовата глава, фиксираме рамото на душа с дюбели;


Фиксираме монтажната скоба за лейка.
- Включваме водата и проверяваме работата на устройството.


Проверяваме работата на продукта.
Важно! Връзките, снабдени с гайки и гумени уплътнения, не трябва да се увиват с теглич или FUM лента.
Вграден миксер


Ако първо разберете как се разглобява кранът за баня, ще бъде по-лесно да работите.
Сега нека поговорим за инсталиране на вграден модел, тоест такъв, който е прикрепен отстрани на баня или мивка.Представени са много модели, които имат много различно качество и цена, но принципът на монтаж е приблизително еднакъв.
Първо, препоръчително е да сглобите корпуса: инсталирайте кранове и клапани (копче за превключване за модели с едно лостче), а също и завийте гандъра. След това отдолу е необходимо да свържете маркучите на гъвкавата връзка на смесителя и да поставите гумено уплътнение.


Поставяме гумения пръстен на място отдолу и закрепваме фитингите на маркуча.
Сега прекарваме маркучите в монтажния отвор и поставяме основата на смесителя в него. От другата страна на мивката завийте закрепващата гайка или скоба, затегнете закопчалката, така че устройството да е здраво на борда.
Фиксираме продукта със скоба и гайка.
Свързваме противоположните краища на гъвкави маркучи към водопроводи. Ние не бъркаме топла и студена вода, на вносните и най-модерните руски кранове студената вода е вдясно, горещата - вляво.


Свързваме маркучите към водопровода.
Важно! Затегнете внимателно гъвкавите връзки на маркуча, без да затягате прекалено. В противен случай уплътненията могат да бъдат притиснати и повредени.
Монтаж на скъп кран
За да инсталирате кранчето в банята правилно, трябва да разберете дизайна на продукти от различни производители и да знаете тънкостите при инсталирането на кранове на определена марка. Особено ако сте избрали добър европейски вариант - много от тях вече са оборудвани със система за пестене на вода.
Неправилната инсталация ще намали всички предимства на скъпата покупка до нула. Ако е инсталиран неправилно, можете да притиснете гумени уплътнения, да изолирате лошо съединенията на тръбите и да сглобите клапата неправилно. Професионалният монтаж на кран в банята ще удължи живота му.
Монтиране и декорация на крана
Следващата стъпка е завинтване на крана. Това става с помощта на приложените гайки. Проверете наличието на намотка-уплътнение, върху която ще се завинтва клапанът. Сега почти всичко е готово. Включете водата и започнете бавно да отваряте крана. Не прилагайте веднага високо налягане на водата. В случай на недостатъчно точен монтаж, кранът в банята може да бъде нарушен. Ако всичко е направено правилно, тогава при максимална глава никъде няма да има изтичане.
Сега можете да започнете да закрепвате декоративните наслагвания. Това са специални метални части, които са прикрепени към стената на кръстовището на смесителя с тръби. Отворете отново крана и включете водата. Ако няма течове или свирки, продължете да запечатвате дупките и пукнатините в стената с помощта на обикновен хоросан.
Опитайте се да оцветявате повърхността на миксера възможно най-малко. След приключване изчакайте, докато изсъхне, изпепелете всичко и покрийте с тънък слой шпакловка. И когато изсъхне, можете безопасно да грундирате стената и да залепите парчета тапет или плочки, които са били отстранени или повредени по време на монтажа на миксера.
Инсталацията на миксера вече е завършена! Сглобяването на миксера не е много трудно. Единственото условие е наличието на необходимите инструменти и материали, както и поетапно изпълнение на действията. И, разбира се, мъжка сила. В края на краищата демонтирането и инсталирането на миксери изобщо не е работа на жената.
Демонтаж на стария миксер


Премахването на стар кран в банята е доста проста задача. За да направите това, ще ви трябват клещи и гаечни ключове - газови и регулируеми. Демонтажът се извършва в няколко стъпки:
- Затворете подаваната вода както през главната линия, така и от електрическия котел или газовия бойлер;
- Източете водата, останала в системата;
- Отстранете крана от стената. Правете това много внимателно, като внимавате да не скъсате конеца на фитинга в стената;
- Почистете резбите на армираните пластмасови тръби в стената от намотката.
Изход
Преди да разглобите смесителя за смесител в банята или да го сглобите, трябва да се запознаете с неговата структура и някои прости правила за работа. Съвременните устройства са лесни за инсталиране, така че не би трябвало да имате проблеми. (См.(Вижте също Как да инсталирате смесителна батерия върху мивка: характеристики.)
Видеото в тази статия ще ви води през инсталацията.
Хареса ли ви статията? Абонирайте се за нашия канал Yandex.Zen
Методи за инсталиране на кран в баня
Има няколко опции за инсталиране на крана:
- скрита инсталация на стената - кранът е поставен на стената, тръбите са покрити с плочки или гипсокартон;
- монтаж на стена със специален багажник;
- монтаж на кран върху вана.
Скритата инсталация е по-трудна за извършване, тъй като за водопроводчика е по-трудно да стигне до комуникациите. Ако имате достатъчно свободно място в банята, тогава можете да направите отделна стойка, да свържете миксера и да затворите комуникациите с керамични плочки.
Трикове за инсталиране
Как да инсталирате миксер в банята, ако тръбите на стената са криви видео
- Не е трудно да използвате правилно теглене, за да го направите, обвийте го плътно около конеца по посока на усукване. Внимавайте да не усучете теглича на снопове.
- Когато инсталирате водопровод заедно с водопроводи, ще трябва да маркирате височината. Той е на 15 до 20 см над горната част на ваната.
Предлагаме ви да се запознаете с Как да изберете правилната паста за зъби чрез ленти
Как правилно да инсталирате миксера в банята на стената, което не изисква обаждане до капитана и финансови разходи. В допълнение към безценния опит, този процес ще ви помогне да израствате в собствените си очи. Запомнете: ако искате да направите нещо с високо качество, направете го сами!
Методи за инсталиране на миксер
Как обаче може да се монтира миксер в баня? Има няколко основни начина да направите това:
- поставете крана на стената;
- изградете отделен багажник;
- да се монтира в тялото на банята.
Най-популярното и търсено е свързването на скрит миксер в банята към стената. Този тип инсталация ви позволява максимално да скриете тръби, които развалят външния вид на помещението от любопитни очи, а също така не ограничава по никакъв начин местоположението на крана. Можете да инсталирате смесителя в банята както по ширината на контейнера, така и по дължината на ваната на всяка удобна височина.
Можете също така да изградите отделен багажник за миксера, като го облицовате с керамика и го скриете вътре в тръбата. Това е доста трудоемък метод, но с него може да се мисли за атрактивен интериор на стаята. Такива дизайни обаче изискват допълнително пространство, което не се предлага в повечето бани. Смесител на самостоятелна стойка е по-подходящ за просторни стаи.


Инсталирането на миксера отстрани на ваната е възможно, ако дизайнът на последния има подходящи съединители в корпуса. Този метод включва доставка на специални гъвкави маркучи вместо полипропиленови тръби и изисква предварително закупуване на подходящ водопровод.
Не можете да поставите кран в обикновена класическа баня по този начин. Гъвкавите тръбопроводи са много удобни, тъй като избягват сложни тръбопроводи.
Като цяло няма особени ограничения за инсталирането на миксери. Те могат да бъдат монтирани директно над ваната или между нея и мивката. Приблизителната височина също варира в зависимост от желанията на собствениците - разбира се, в разумни граници.
Монтиране на монтиран на стената кран за баня
Височината над нивото на банята трябва да бъде в рамките на 30 см, избрана отчитайки размера на миксера и предпочитанията на собственика. Стандартното разстояние между центровете на двата фитинга е 150 mm, ексцентриците позволяват да се коригират грешки в хоризонтална и вертикална посока до 5 mm.
Извлечение от ГОСТ 25809-96
Смесител за баня с една дръжка с отделни връзки, монтиран на стена с душ мрежа върху гъвкав маркуч, чучур с аератор
Смесител за вана и умивалник, двурък с входове в отделни отвори, монтиран на стена с душ мрежа върху гъвкав маркуч
Работа с фум лента
Като пример, помислете за инсталиране на кран на нова стена. Тръбопроводите вече са инсталирани, измазани и облицовани с плочки.
Стъпка 1. Проучете инструкциите на производителя на миксера, проверете неговата пълнота и наличието на всички гумени уплътнения. Изходите на тръбите трябва да имат вътрешна резба.
Смесител за стена с един лост
Ако случаят не е такъв, възникват няколко проблема.
- Първо. Ще трябва да купим и да завием съединители. Това са допълнителни работни места и нови места, където може да се появи теч.
- Второ. Смесителят ще се отдалечи от стената, няма да прилепне плътно към него, фитингите ще бъдат видими. Това е основен козметичен дефект.
- Трето. Поради увеличаването на дължината на резбовите свързващи фитинги, рискът от напукване в тях се увеличава. Рамото се увеличава, поради което се увеличава механичното напрежение.
Стъпка 2. Почистете тръбите от остатъчни материали. За да направите това, по-добре е да отворите крановете на тръбите с топла и студена вода за няколко секунди. Силен натиск ще отмие цялата мръсотия. Такава операция е много по-лесно да се направи веднага, отколкото да се демонтира миксерът по-късно в случай на запушване.
Тръби, подготвени за монтаж на смесител
Стъпка 3. Извадете два ексцентрика. От една страна, те имат ø1 / 2 ″ резба, а от друга - ø3 / 4 ″. Различните производители имат различно отношение към точността на производството на ексцентрици. Съветваме ви да проверите размерите му. За да направите това, завийте ексцентриците в резбовите отвори без уплътнение, обърнете внимание на лекотата на завинтване.
Монтаж на клапана с помощта на ексцентрични адаптерни втулки
Инсталиране на ексцентрици


В същото време забележете правилното положение на ексцентриците. След като ги завиете без уплътнение, прикрепете миксера. Обърнете внимание дали затягащите гайки съвпадат с резбата и хоризонталното положение на тяхното положение, ако е необходимо, затегнете / развийте малко, в зависимост от това дали е необходимо да увеличите или намалите разстоянието между тях.
Проверка на хоризонталното положение на монтираните ексцентрици
Имайте предвид, че ексцентриците с вече навити уплътнения трябва да се завинтват само, усукването ще доведе до течове. Още веднъж ви напомняме, че по време на монтажа трябва грубо да запомните позицията на ексцентриците.
След навиване натиснете лентата по целия диаметър на ексцентрика с пръсти, докато се появят издатините на конеца.
Стъпка 4. Завийте една гърбица в фитинга на тръбата. Ексцентричното положение е същото като при пробния монтаж. Не се опитвайте много. Ако ексцентрикът се завинтва много лесно, тогава трябва да го развиете, да премахнете старото уплътнение и да поставите ново, но в увеличено количество.
Стъпка 5. Завийте втория ексцентрик. Не го прецаквайте докрай. Когато има около един завой наляво, опитайте смесителя няколко пъти, обърнете внимание дали затягащите гайки точно се побират. Повторете операциите, докато осите на гайките на смесителя съвпаднат с осите на ексцентриците. Ядките трябва лесно да се печелят на ръка.
Завинтени ексцентрици
Стъпка 6. Сменете декоративните чаши. Те са резбовани и завинтени върху изпъкналата нишка на ексцентриците. Завийте ги до стената.
След като инсталираме ексцентриците, навиваме чашките
Стъпка 7. Поставете гумени уплътнения в затягащите гайки; те се доставят със смесителя. Завийте гайките на ексцентриците с ръце, докато спрат. Затегнете с гаечен ключ, за да уплътните напълно.
Монтаж на миксер
Стъпка 8. Проверете херметичността на всички връзки, отворете крановете за подаване на студена и топла вода. Течовете могат да бъдат толкова леки, че да не могат да бъдат забелязани веднага. Поставете лист хартия под ставите и изчакайте няколко минути. Ако по него се появят мокри петна - проблем.
Стъпка 9. Сглобете чучура, гъвкавия маркуч и душ главата върху смесителя. Те също имат гумени уплътнения, не използвайте твърде много сила при затягане на гайките.
Как да закрепите маркуча за душ и ръчния душ
По време на окончателното сглобяване на миксера работете внимателно, не увреждайте декоративното външно покритие на миксера.
Лейка, свързана с маркуча
Проверете дали смесителят и душът работят
Инсталирането на кран върху вана е възможно само ако има отвори за тръби и смесител. Ако има дупки, тогава трябва да изберете очна линия - гъвкави маркучи, които свързват тръбите и изхода на миксера.
Подводните маркучи се различават по материал, диаметър на отвора, дължина. Ако все още не сте ги купили, нашият водопроводчик ще донесе всичко необходимо с него и ще свърже миксера без никакви допълнителни проблеми.
Как да смените крана, ако тече: как да го развиете и премахнете
Направете го със собствените си ръце в банята не е трудно, ако следвате прости препоръки и изпълнявате работата на етапи:


Развийте гайката... първоначално опитайте да го направите ръчно, тъй като на повечето клапани гайките са с малък диаметър и могат да се разхлабят.
Ако не работи, използвайте регулируем ключ: Дръжте здраво ръкохватката с едната ръка, завъртете гайката с гаечен ключ с другата. Опитвам не натиска твърде многоb, за да не разваля покритието.
Ако говорим за вграден миксер, тогава ще трябва да опитате повече, тъй като дръжката на спирателния клапан ще попречи на развиването.
Сега остава само да включим водата и проверете качеството на извършената работа.
Схема за инсталиране и свързване
И така, избрахте модела, от който се нуждаете, сега можете да се захващате за работа. Всеки от моделите, независимо от цената и качеството, трябва да бъде придружен от инструкции със схема за монтаж. След внимателно изучаване, можете самостоятелно да свържете миксера. Той вече трябва да бъде сглобен, така че просто трябва да проверите уплътнението в чучура, прилягането на маслените уплътнения, работата на главата на клапана, да огледате уплътненията и уплътненията, клапанът се завърта.
Каним ви да се запознаете с Как да изрежете керамични плочки с ръчен резач за стъкло?


След това разопаковайте всички кутии и пакети, които се доставят с комплекта. Има стандартен комплект: уплътнения, гайки, ексцентрици, стенни отражатели, втулки, чучур за кран и душ кабина. Всичко това ще трябва да свържете с крана.
Стриктното спазване на инструкциите няма да създаде проблеми. Но не забравяйте за стандартите: височината на инсталацията трябва да бъде най-малко 1 метър от пода.
Монтирайте гнездата за вода на подходящите места, при изваждане на фитингите изчислете разстоянието между тръбите с вода - трябва да е 15 см. Много е важно фитингите да са монтирани строго хоризонтално един към друг и да не са твърде дълги. След като приключите със заключенията на фитингите, преминете към основната част от работата.
Нюанси на инсталацията
Специално внимание трябва да се обърне на монтажа на миксера отстрани на акрилната вана - в този случай можете да пробиете дупки за монтаж на удобно място и да монтирате всеки миксер. Той също има своите особености:
- дупките трябва да бъдат пробити със специална тренировка за волфрам;
- трябва да инсталирате смесителя, преди да инсталирате самата вана;
- страната на ваната трябва да бъде подсилена със специално уплътнение, така че да не се огъва по време на работа;
- кранът трябва да е разположен до отворената страна, за да може лесно и без излишни проблеми да стигнете до тръбите и клапаните.
Необходими инструменти
Трябва незабавно да подготвите всички необходими инструменти: самия миксер и всички негови компоненти, клещи, ниво на сградата, рулетка, регулируем ключ, ключове с отворен край. Също така подгответе теглене от ленено семе, силикон, уплътнителна лента. Със сигурност ще ви трябва парче мека кърпа, кофа, мокри кърпички и дори тоалетна хартия.
Чудесен вариант са инструментите без зъби, но ако не са, не се обезсърчавайте, просто покрийте частите с парцал или кърпа. Това ще ги предпази от повреда на покритието. Хартията е необходима, за да избършете всичко и да проверите за течове. И ако се получи теч, ще трябва да разглобите и сглобите структурата и това едва ли ще ви достави удоволствие.
Тънкости при инсталиране
Необходимо е да завиете гандъра към основното устройство, след което завъртете маркуча с лейка. Не е нужно да използвате клавишите и да затягате гайките също. След като сглобите модела, можете да започнете инсталацията, която се състои от следните стъпки: обвийте ексцентриците с уплътнителна лента, след това поставете фитингите, разположени в стената, останали от предишния кран.
Това трябва да се прави много внимателно. Ако под ръка няма лента, тегленето може да бъде заместител. След това завиваме ексцентриците, като измерваме стриктно разстоянието между входовете на миксера и използваме ниво. Това се прави с причина - разстоянието трябва да бъде строго 15 сантиметра. След това навиваме основния блок на ексцентриците. Това трябва да става бавно, тъй като трябва да се осигури внимателно.
Опитайте се да не бързате и ако нещо не се получи, по-добре направете кратка почивка и се успокойте. Ако блокът от двете страни е завит спокойно, тогава всичко може да бъде поставено правилно. След това блокът трябва да бъде отстранен и декоративните сенки трябва да бъдат завинтени върху ексцентриците, които задължително трябва да прилепват плътно към стената и да затварят точките за вмъкване на миксера към проводника. Ако всичко е точно така, значи работата ви е свършена перфектно. След това завиваме блока обратно с помощта на макарата. За да бъде свиването плътно, трябва да се използват уплътнения от притискащи гайки. Гайките трябва да се затегнат с гаечен ключ, но не много плътно.
Отваряме крана за гореща вода и проверяваме как работи миксерът. Започнете теста с ниско налягане, като постепенно увеличавате мощността на водопровода. Не забравяйте да проверите как работи душът. Ако всичко е наред, значи сте го направили за първи път. Но ако има теч, трябва да намерите източника му, да изключите водата отново и да повторите всичко отново. Има голяма вероятност да сте затегнали гайката или някакъв крепеж.
Вече разбрахте как да инсталирате нов смесител вместо износен, сега нека се справим с по-трудна задача - инсталиране на смесител на нова стена. Първо, тръбите се сменят, стените са с плочки. Освен това са поставени водопроводни тръби, монтирани маяци за мазилка.
Трябва да изчислите прорезите в стената, така че те точно да съвпадат с разстоянието от фара до плочката на плочките, Това е около 17 сантиметра. Ако не сте сигурни, че можете да извършите всички тези работи, тогава е по-добре да поканите специалист, така че по-късно да няма проблеми при инсталирането на миксера.
След цялата свършена работа можете да започнете да инсталирате фитингите. За да ги инсталирате, трябва да отложите разстоянието между центровете на фитингите - 15 сантиметра. Центровете трябва да са на същия паралел, крайната точка трябва да излиза извън стената, а фитингите да са изравнени с подходяща височина. След като фитингите са монтирани, смесителят може да бъде прикрепен. Това се прави по същия начин, както в предишната версия.
Сега нека разгледаме друг вариант за инсталиране на миксера - на хоризонтална повърхност. Такава необходимост възниква при инсталиране на миксер отстрани на банята. Преди да се впуснете в такава инсталация, е наложително да изясните дали носещата страна на страната може да издържи на увеличеното натоварване.За да монтирате този тип смесител, ще ви е необходима бормашина с набор от фрези, ключове и отвертки.
В началото на инсталацията трябва да направите маркировка, за да укрепите след това плочите по нея. След маркирането се пробиват дупки отстрани на банята. Внимателно изучете инструкциите как да свържете миксера към тръбопровода, използвайки свързващите маркучи и други компоненти, включени в комплекта. След това залепваме хоризонталната повърхност с маскираща лента, за да предпазим повърхността от стружки и повреди, нанасяме маркировката и започваме да пробиваме дупките, необходими за монтажа на миксера. След като дупките са готови, отстранете го и обработете ръбовете със специален инструмент.
Предлагаме ви да се запознаете с Инсталиране на екран под вана: как да инсталирате екран със собствените си ръце под акрилен модел, инструкции за монтаж
Следващата стъпка е да съберете всички части и да ги поправите, без да използвате клавиши. Ако свързващите маркучи заеха местата си безпрепятствено, тогава всичко беше направено според нуждите и можете да продължите към окончателното фиксиране на всички части на миксера. Следващата стъпка е да проверите миксера за течове.
Последният метод за инсталиране на смесителя, признат за най-труден и скъп, е инсталирането на смесителя в пода. Преди да се извърши някакъв ремонт във вашата баня, трябва да започнете да полагате две тръби за студена и топла вода. В пода се правят вдлъбнатини с размерите на диаметъра на тръбите, по тези вдлъбнатини се полагат тръби до мястото, където ще бъде разположена ваната. След това жлебовете се затварят, подовата замазка се прави и плочките се полагат. След това действаме съгласно описаната по-горе технология - монтираме миксера, проверяваме за течове и т.н.
Кранът за баня тече
Ремонт на кран за баня: причини за счупване и методи за ремонт
Смесителят е устройство за регулиране на дебита и температурата на водата, изтичаща от крана.
Смесителят за баня също добавя функция за превключване на потока вода от крана към душа. За съжаление често се получават повреди на миксера. Но по-често те са лесни за премахване сами.
Основните причини за неизправности
Може би най-очевидната причина за повреда на миксера е лошото качество на самия продукт. Днес пазарът е пълен с нискокачествени санитарни изделия от китайско и турско производство, чийто експлоатационен живот е кратък сам по себе си. Когато избирате нов миксер, желанието да спестите пари може да играе срещу вас. По-добре да го похарчите веднъж, но вземете висококачествен миксер, който ще ви служи дълги години.
Втората причина за чести повреди може да бъде използването на краткотрайни консумативи. Например използването на гумено уплътнение в комбинация с твърда чешмяна вода ще доведе до чести повреди. В случай на използване на керамични вложки, миксерът ще ви служи много по-дълго.


Неправилната инсталация също често води до всякакви повреди и намален живот на продукта. Когато инсталирате миксера, е много важно да вземете предвид неговите конструктивни характеристики.
Прочетете повече за видовете в нашата статия за избора на миксер. Тук ще намерите и много полезни съвети и трикове.
Всеки от тези видове смесители е монтиран по свой начин и повредите в тях също могат да бъдат причинени от различни причини.
По-нататък в статията ще се спрем по-подробно на по-конкретни причини за повредата на всеки тип миксер и ще ви кажем как да се справите с тях.


Намаляване обема на струята от крана
Най-честият проблем с едноръковите смесители е намаляването на обема на струята.... Причината за такава неизправност, като правило, е запушването на аератора - дюза, прикрепена към края на маншета, през която водата тече от крана.


Този проблем може лесно да бъде отстранен в повечето случаи. Трябва само да развиете аератора и да го почистите добре под силна струя вода или да го издухате с поток въздух.След това всичко, което трябва да се направи, е да го завиете на първоначалното му място. Всяка домакиня може да направи това.


Изтичане от затягащата гайка
Друга често срещана причина за счупването на крана е износването на уплътнението. Със сигурност всеки си представя как изглежда - това е малък кръг от амортизиращ материал с дупка в средата. Преди това гумените уплътнения често се използваха в по-старите миксери. Сега е възможно да се използват по-модерни и надеждни материали, като паронит.
За да премахнем теча, се нуждаем от уплътнение с подходящ диаметър, регулируем ключ и лента от флуоропластичен уплътнителен материал или лен със специална паста.
- Отстранете металния пръстен, закрепващ чучурната тръба към крана.
- Отстранете чучурната тръба и отстранете остатъците от износеното уплътнение.
- Сложете нова.
- Увийте нишката на чучурната тръба с лента или лен и поставете така, че при монтиране на частите да се притискат плътно една към друга.
- Закрепете чучурната тръба с метален пръстен.
- Не се доставя топла или студена вода;
- Температурата на водата се променя произволно, без да се променя положението на лоста.
- Кранът не работи с пълна сила или не се затваря напълно;
- Когато превключвате лоста, трябва да положите допълнителни усилия;
- И накрая, проблемът, който споменахме по-горе, е наличието на теч изпод лоста.


Ремонт на смесител с един лост, когато се открие теч от под лоста
Такова изтичане обикновено се причинява от неизправност в касетата на миксера. Първо, нека разберем какво е патрон?
Патрон Предварително сглобен цилиндър с три отвора; топлата вода тече в една дупка, студената вода тече в другата, а смесената вода изтича от третата.
По вида на механизма, използван за смесване на топла и студена вода, патроните са разделени на топка и керамика. Освен това в горната част на патрона е разположен прът, върху който е прикрепен лостът на миксера. На това място се получава изтичането.
Кога да смените касетата
Основните признаци, че е време да смените касетата на миксера:


На първо място, препоръчваме ви да премахнете старата, преди да купите нова касета и да отидете до водопроводния магазин с нея като проба.
Избор на нова касета
Както споменахме по-горе, важно е да обърнете внимание на качеството на водопровода, който купувате. Дайте предимство на патроните на доказани европейски компании и се опитайте да не си падате по триковете на измамници, копиращи представянето на известни марки.
Обикновено, ако не инсталирате цялата водоснабдителна система в къща или апартамент, нямате избор кой тип касета да изберете. Факт е, че въпреки разнообразието от модели, има само двата основни типа патрони са сферични и керамични.
Предимството на използването на сферични патрони е възможността да разглобявате самата касета и да я ремонтирате, ако е необходимо.
Керамичният патрон не може да бъде разглобен, той трябва да бъде заменен изцяло, но керамичните плочи в него са по-трайни и не са подложени на отрицателното влияние на твърдата вода. Ако първоначално кранът за вода е бил монтиран с очакването да се използва топчест патрон, вече няма да можете да доставяте керамичен. И обратно.
Но да се върнем към въпроса за ремонта на едно-лостов смесител ако се открие изтичане изпод лоста:
1. Отстранете капачката за посока на студена и гореща вода с отвертка.
2. Под него ще намерите винт. Развийте го внимателно с шестостенния ключ или подходяща отвертка, за да не повредите резбите. Ако не можете да направите това внимателно, използвайте бормашина с фина бормашина.
3. Извадете лоста от корпуса на миксера, като го издърпате нагоре.
4. Отстранете декоративния елемент от миксера с ръка или клещи.
5. Развийте гайката, която директно притиска самия патрон към корпуса на смесителя.За да направите това, първо използвайте регулируем ключ и след това внимателно го развийте на ръка.
6. Всичко. Сега можете да извадите старата касета, не се колебайте да отидете до магазина с нея и да си купите нова.
7. За да инсталирате нова касета, обърнете всички стъпки по-горе.


Теч на крана за душ
В смесителя има още едно уплътнение, подобно на това, което е разположено между помпата и корпуса на смесителя, за което писахме по-горе. Това второ уплътнение е монтирано между корпуса на смесителя и лоста на селектора. Също така има тенденция да се износва с течение на времето.
Смяната на такова уплътнение се извършва по почти същия начин като предишния:


Ако искате да инсталирате нов миксер, съветваме ви да гледате нашия майсторски клас за инсталиране на миксер.
Двуклапанен смесител (изтичане от клапана)
Този тип неизправност възниква в резултат на:
- повреда на крановата кутия - устройство вътре в смесителя, което отваря и спира потока вода;
- повреда на уплътнителния пръстен на кутията на крана.




Теч от гайка за маркуч за душ или маркуч за душ
Основният принцип на действие тук е същият като при подмяна на други уплътнения: развийте фиксиращата гайка на маркуча, отстранете остатъците от старото уплътнение, поставете ново на мястото му, навийте лентата FUM върху резбата и завийте всичко обратно както беше първоначално.


Неизправен бутон за превключване "кран за душ"
Ако водата започне да тече едновременно от душевата глава и крана едновременно, най-вероятно проблемът се крие в повредата на механизма на превключващия бутон, а именно в масленото уплътнение.


Безконтактно (докосване)
Така стигнахме до последния съществуващ тип смесители - безконтактни или, както се наричат още, сензорни смесители.
Името им говори само за себе си: в основата на работата им е датчик, който открива движение, когато донесете нещо до крана, и автоматично включва подаването на вода. Не е нужно да усуквате нищо.
Такива смесители се считат за най-трайни и срокът им на годност е от 5 години. Освен това те са наистина лесни за използване и помагат да се спести консумацията на вода.


Но основният им недостатък е, че те са изключително трудни за ремонт. Не препоръчваме да правите това сами. По-добре е да се опитате да намерите опитен специалист, който разбира този проблем. Едва ли ще можете сами да поправите сензорите - най-вероятно просто ще счупите миксера напълно.
Ако говорим за някои дребни недостатъци, като запушен аератор, можете лесно да се справите сами с такъв проблем.
Запушването на аератора най-често се изразява в намаляване на налягането на водата, в резултат на което тече на тънка струя. За да проверите, трябва да извадите аератора и да отворите водата. Ако налягането на водата стане стандартно, тогава ако аераторът е ръждясал, заменете го с нов.


Ако въздушният ротор е замърсен, изплакнете го под вода.В случай на силно замърсяване, използвайте специални продукти.


Ако разберете механизма на миксера, оказва се, че не е толкова трудно да го поправите. Надяваме се, че нашата статия е помогнала за разрешаването на проблемите, които имате със смесителя, и за отстраняване на всички грешки.
Ако не сте намерили решение на проблема с повредата на вашия кран, прочетете нашата статия за ремонт на кран за баня.
Как да поправим кран за баня, ако тече?
Най-честата повреда на водопроводната система в къщата е миксерът в банята да изтече; как да го поправите със собствените си ръце - този въпрос притеснява много собственици. Всъщност не е толкова трудно да се поправи устройство, особено съвременните модели. Процедурата ще зависи от типа смесител: едно-лостов или двуклапанен.
Съдържание
1 Ремонт на двуклапанен клапан
Двуклапанните кранове с душ са най-старият модел, използван от няколко десетилетия. Тези смесители се състоят от два клапана, единият от които регулира подаването на топла вода, а другият - студена. Повредите на такива кранове съвсем не са сложни, те са лесни за отстраняване сами.
Най-често срещаният проблем както на старите, така и на новите клапани е износването на гуменото уплътнение. Тази малка част действа като изключващ елемент.
Ако гуменото уплътнение е износено, кранът не може да се справи с налягането на водата и в резултат на това се образува теч.
Преди да поправите крана с два клапана, изключете основния кран, за да прекъснете достъпа до вода. След това трябва да разглобите крана. Ако уплътнението наистина е износено, то трябва да бъде заменено. Размерът на частта е 3/4. За ремонт ще ви трябва ново гумено уплътнение, регулируем ключ и FUM уплътнителна лента. Между другото, вместо закупено уплътнение, можете да използвате домашно направено от парче гума.


Ремонт на двуклапанен кран
Препоръчваме ви да се запознаете
Първо, използвайте регулируем ключ срещу часовниковата стрелка, за да развиете гайката, която закрепва превключвателя към тялото. След това гриндът се отстранява внимателно. Износеното уплътнение трябва да се отстрани и замени с ново или самоделно. След това върху резбата се навива лента FUM и вентилът се сглобява.
Обикновено подмяната на гумената подложка е достатъчна, за да се установи повреда. Но ако водата започне отново да капе няколко дни след ремонта, проблемът най-вероятно се крие другаде. След продължителна употреба седалката на клапана е повредена: появяват се прорези или пукнатини.
За да се реши проблемът, деформираната зона може да бъде изправена с фреза. След сглобяването вентилът обикновено спира да тече.


Подмяна на гумената подложка
Старите кранове с два клапана бяха червячни предавки. В днешно време все повече се използва друг механизъм - кран-мост. Състои се от 2 диска със същия размер с дупки. Когато завъртите крана, дисковете се завъртат, дупките съвпадат и водата тече от крана. Ако завъртите крана в обратна посока, отворите ще бъдат затворени и подаването на вода ще спре.
Ако такъв клапан е повреден, струва си да затегнете контрагайката на клапана. Ако липсва, както е при някои модели или закрепването не е довело до резултати, е необходимо да се подменят контраосите.
2 Други причини за повреда на клапани с два клапана
Най-често течът възниква в резултат на износване на гуменото уплътнение. Но причината може да се крие в други повреди. Например, водата може да започне да капе поради счупване на коничната кутия. Няма да подействате сами да ремонтирате старата кутия, така че единственият изход е да закупите нова и да я инсталирате.
Друга често срещана причина за изтичане е износването на облицовката на пълнителя. В такива случаи теч възниква, когато клапанът е отворен, тъй като водата тече между жлезата и стъблото.За да отстраните проблема, използвайте отвертка, за да развиете гайката на уплътнението. След това можете да направите уплътнителна вложка. Като материал може да се използва уплътняваща флуоропластична лента. Новата облицовка е монтирана на пръта. След това гайката може да бъде затегната и клапанът да бъде сглобен. Ако работата е извършена правилно, потокът спира и вентилът се завърта лесно и плавно.


Подмяна на облицовката на пълнежа
Течовете също могат да бъдат свързани с износването на О-пръстена. Той се заменя, както следва. Първо развийте маркуча за душ. След това старото износено уплътнение се заменя с ново. Кранът се сглобява в обратен ред.
Ако водата изтича от крана при превключване на водата от крана към маркуча, е необходимо да отстраните кранчетата и да ги замените с нови. Струва си да обмислите внимателно закупуването на нови кутии за кранове, тъй като те са различни: с гумена подплата или керамика. Можете да закупите правилния модел кутия за кран в водопроводния магазин.
Най-добрият начин да избегнете ремонта, както и повреди, е да използвате правилно кран. За да направите това, достатъчно е да следвате прости правила:


Подмяна на повредени ремаркета на кранове
Първоначално се препоръчва да се избират висококачествени устройства, тъй като добрият миксер ще продължи достатъчно дълго, без никакви повреди.
3 Ремонт на миксер с един лост
Сега вътрешните и чуждестранните двуклапанни кранове постепенно губят позиции. Все по-често клиентите избират кранове с един лост. В такива устройства подаването и прекратяването на водоснабдяването, регулирането на температурата се извършва с един кран. Ако преместите лоста нагоре, подаването на вода се включва, отдясно - гореща вода, отляво - студена вода. Такива устройства се считат за по-прости и лесни за използване.
Такъв кран в банята може да се състои от касети, които могат да бъдат два вида:
За разлика от гумените уплътнения в двуклапанните кранове, патроните са много по-трайни и изискват по-малко подмяна.
На външен вид сферичните и дисковите патрони не се различават един от друг, но в същото време тяхната структура е напълно различна. Следователно, в случай на повреда, топчестата касета не може да бъде заменена с дискова касета и обратно. Ето защо, преди да закупите резервни части и да извършите ремонт, струва си да определите какъв тип патрони се използват в крана. В зависимост от касетата, инсталирана в миксера, методът на поправка ще бъде малко по-различен.


Ремонт на миксер с един лост
Например, за да смените кран с топка с патрон, следвайте тези стъпки. Първо, захранването с вода в апартамента е спряно. След това болтът, който закрепва дръжката, се отвива. Отделението за лоста може лесно да се разхлаби и прибере. Появява се връзка, която трябва да се развие обратно на часовниковата стрелка. Първо се отстранява куполът на крана и едва след това - пластмасовата част.


Подмяна на кранчето с топка
След това проверете печата. Ако върху него има мръсотия, тя трябва да бъде премахната. Старото уплътнение, ако е силно износено, трябва да бъде заменено. Всички пломби, държащи топката, се проверяват по същия начин.
След това топката се отстранява. Също така трябва да се изследва внимателно. Ако има дефекти, по-добре е да замените тази част с нова.
След всички тези манипулации можете да сглобите крана в обратен ред, като не забравяте да проверите качеството на монтажа на частите.
4 Други причини за изтичане на смесителя
Уплътнителните уплътнения се монтират и на други места на крана, например между корпуса на смесителя и превключвателя за душ. С течение на времето тези уплътнения неизменно се износват и това води до факта, че водата започва да капе. В такива ситуации има само един изход - да се замени уплътнението.
Първо, лостът за избор на вода се отделя от миксера. Отстранете фиксиращия болт от този лост. Трябва да се има предвид, че в много съвременни модели може да липсва. След това самият лост се отстранява. Старото уплътнение се заменя с ново или направено от вас сами.


От чешмата капе вода
На резбата се навива уплътняваща лента FUM, след което конструкцията се сглобява в обратен ред.
Друга причина може да е некачествената инсталация на миксера, въпреки че такива случаи са доста редки. Ако миксерът се е "отдалечил" малко в точката на свързване, той трябва да бъде премахнат, проверете дали нишките са правилно подравнени и инсталирайте отново.
В някои случаи течът се появява дори при напълно нови кранове. Естествено, в такива случаи проблемът не е в износеното уплътнение. Най-честата причина, поради която нов миксер започва да изтича, е производствен дефект. Не винаги е възможно дори специалистите да ремонтират дефектен миксер. В такива случаи остава само да демонтирате устройството, да го занесете в магазина и да поискате възстановяване на сумата.
Ако тече под крана: какво да правя?
Тече под чешмата в банята. Какво да правя? Тази информация ще бъде полезна на всеки, който иска да реши проблема сам. Няма значение дали кранът тече в банята или в кухнята, тъй като всички нюанси зависят само от дизайнерския модел. Как да поправите кран? Прекъсването на водата може да се извърши в целия апартамент в случай, че има един щранг на апартамент. Ако кухнята и банята са разположени в различни краища на апартамента и съответно има два щранга, водата в които се отделя отделно за банята и кухнята.
Как да отстраним теча на кран
Какво да направите, ако клапанът изтече в затворено положение? Ако тече двуклапанен смесител. Такъв кран се използва в апартаменти в продължение на много десетилетия. Просто в днешно време е станало по-модерно. Но принципът на устройството е същият и има абсолютно същите неизправности. Смесителят с два клапана е проектиран по такъв начин, че единият клапан да реагира на подаването на студена вода, а другият на топла вода. Този миксер използва червячна предавка. И най-честата неизправност в двуклапанния смесител е, когато водата капе от крана, тоест теча крана.
В този случай уплътнението в крана се повреди. Можете да го замените сами. Необходимият продукт може да бъде закупен във всеки специализиран магазин или на пазара. Много мъже знаят как да оправят крана. В края на краищата не всеки иска да се обади на майстор поради такава малка повреда. Заместваща последователност:


Но се случва така, че е монтирано ново уплътнение, кранът в банята функционира нормално за известно време, но след известно време се открива, че кранът отново тече.
В този случай причината трябва да се търси в така нареченото седло на клапана. След продължителна употреба може да се напука, назъбе и износи. След това трябва да преминете през проблемната зона с фреза, да я подравните. И кранът ще спре да тече.
В съвременните кранове вместо червячна предавка често се използва кранова кутия, съдържаща керамични дискове. В този случай, ако кранът тече, тогава трябва да затегнете по-плътно фиксиращата гайка, което е при някои модели.
Ако не е възможно да се премахне течът, тогава клапанът трябва да бъде заменен.
Как може да се поправи кран за баня?
Ако един лостов смесител тече. Напоследък смесителите с два лоста постепенно се превръщат в минало и те се заменят със смесители с един лост. Основният им плюс е лекотата на използване. Завиването наляво и надясно регулира температурата на водата и нагоре и надолу подаваното налягане. Основното място в техния дизайн се заема от патрони: топка или диск. Те трябва да се сменят по-рядко, тъй като клапаните изтичат в такива конструкции не толкова често, за разлика от гумените уплътнения. Срокът на експлоатация ще бъде по-дълъг.


Външно касетите с топка и диск се различават малко помежду си, но вътре имат значителни разлики. Те не са взаимозаменяеми, тоест вместо топка касета, няма да е възможно да поставите дискова касета. Следователно, когато купувате смесител с един лост, трябва да знаете или да попитате продавача коя касета се използва в този модел в случай на допълнително отстраняване на неизправности.
Как да поправите кран, който има един лост и сферична касета като пълнеж? Не е толкова трудно, просто следвайте инструкциите.
Ако има теч в точката на закрепване на лоста, който преминава от смесителя към душ. Водата не винаги изтича от крана, понякога се откриват капки в зоната на превключване от миксера към душ. Между лоста на превключвателя към душа е монтирано уплътнение, както при двуклапанния смесител, който има тенденция да се износва с течение на времето. Това обяснява защо водата тече в точката, където превключвате на душ. В този случай трябва да замените износеното уплътнение, което може да бъде паронит или гума. Когато купувате ново уплътнение, трябва да знаете, че диаметърът му трябва да бъде ½ инча.
За да смените уплътнението между лоста за превключване от миксера към душ, трябва:
Ако проблемът е, че лостът е просто лошо прикрепен към тръбопровода и тече под крана точно по тази причина, тогава трябва да проверите съвместимостта на нишките на всички части, които трябва да бъдат свързани, разглобете и преинсталирайте. Но такива случаи са достатъчно редки.
Вижте също
- 07.07.2016 г. Защо водата тече лошо от миксера?
- 18.07.2016 г. Модерни смесители за баня
- 30.06.2016 Как да изберем кран за кухнята
- Устройство за смесител за баня Двуклапан Еднолентов Термостатичен Безконтактен За вана С душ Кранът е неразделна част от всяка баня ...
- Как да разглобявате едноръкохватков кран в баня Как да разглобявате едноръкохватков смесител - функции и видео Смесител с един лост е иновация в ВиК ...
- Хидроизолационна лента за баня Лента за хидроизолация на банята / ”title =” Ремонт на бани и тоалетни ”> Основна / vse-vidyi-remonta /” title = ”Полезни статии”> Всички ...
- Резервни части за смесителя Видове компоненти Правила за избор на резервни части Ремонтен комплект Какво можете да ремонтирате сами? Кога е необходимо да се свържете с майстор? ...













